TOP
|
特許
|
意匠
|
商標
特許ウォッチ
Twitter
他の特許を見る
公開番号
2025179004
公報種別
公開特許公報(A)
公開日
2025-12-09
出願番号
2025047022
出願日
2025-03-21
発明の名称
接合モジュールのための潤滑化ユニット、及びそのような潤滑化ユニットを使用して接合モジュールを潤滑化するための方法
出願人
キストラー ホールディング アクチエンゲゼルシャフト
代理人
弁理士法人浅村特許事務所
主分類
F04B
9/02 20060101AFI20251202BHJP(液体用容積形機械;液体または圧縮性流体用ポンプ)
要約
【課題】接合モジュールのための経済的且つ場所を取らない潤滑化ユニット、及び、そのような潤滑化ユニットを使用して接合モジュールを潤滑化するための方法を提供する。
【解決手段】接合モジュール1は、ナット22を有するねじ駆動部20を備え、タペット30は、ナットにより直線運動で移動されることが可能であり、潤滑化ユニット50は、ハウジング40上に配置され、且つ、潤滑化ユニット・チャネル531、532、534、535内に潤滑剤56を備え、ナットは、ナット・チャネル222、223、及び潤滑点224を備え、ナットは、潤滑位置SPに移動されることが可能であり、潤滑位置において、ナット及び潤滑化ユニットは、互いに直接機械的接触をし、潤滑化ユニット・チャネル及びナット・チャネルは、互いに連通し、潤滑剤は、潤滑化ユニット・チャネルからナット・チャネルに入り、そこから潤滑点に移動する。
【選択図】図3
特許請求の範囲
【請求項1】
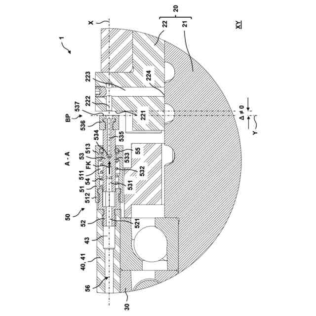
接合モジュール(1)のための潤滑化ユニット(50)であって、前記接合モジュール(1)が、ねじ駆動部(20)、タペット(30)、及びハウジング(40)を備え、前記ねじ駆動部(20)が、ナット(22)を備え、前記タペット(30)が、前記ナット(22)により直線運動で移動されることが可能であり、前記潤滑化ユニット(50)が、前記ハウジング(40)上に配置され、且つ、少なくとも1つの潤滑化ユニット・チャネル(521、531、532、534、535)内に潤滑剤(56)を備え、前記ナット(22)が、少なくとも1つのナット・チャネル(222、223)及び少なくとも1つの潤滑点(224)を備える、潤滑化ユニット(50)であり、前記ナット(22)が、潤滑位置(SP)に移動されることが可能であり、前記潤滑位置(SP)において、前記ナット(22)及び前記潤滑化ユニット(50)が、互いに直接機械的接触をし、前記潤滑化ユニット・チャネル(521、531、532、534、535)及び前記ナット・チャネル(222、223)が、互いに連通し、潤滑剤(56)が、前記潤滑化ユニット・チャネル(521、531、532、534、535)から前記ナット・チャネル(222、223)に入り、及びそこから前記潤滑点(224)に入ることを特徴とする、潤滑化ユニット(50)。
続きを表示(約 2,700 文字)
【請求項2】
前記潤滑化ユニット(50)が、スリーブ(51)、管路要素(53)、及びばね要素(54)を備えること、前記スリーブ(51)が、内部(511)を備え、前記管路要素(53)の第1の端部及び前記ばね要素(54)が、前記内部(511)内に配置されること、前記管路要素(53)の前記第1の端部が、少なくとも1つの密閉表面(533)を備えること、並びに、前記ナット(22)が前記潤滑位置(SP)に移動されていない限り、前記ばね要素(54)が、前記内部(511)において前記スリーブ(51)に逆らってばね力(FK)で前記密閉表面(533)に機械的に予張力をかけて前記潤滑化ユニット・チャネル(521、531、532、534、535)における連通を潤滑剤が漏れないようにして遮断するように設計されていることを特徴とする、請求項1に記載の潤滑化ユニット(50)。
【請求項3】
前記潤滑位置(SP)に移動された前記ナット(22)が、前記管路要素(53)の第2の端部に対向力(GK)を加え、前記対向力(GK)が、前記ばね力(FK)に逆らって作用すること、及び、前記ばね力(FK)よりも大きな対向力(GK)が、前記潤滑化ユニット・チャネル(521、531、532、534、535)における前記連通の前記遮断を無効にすることを特徴とする、請求項2又は3に記載の潤滑化ユニット(50)。
【請求項4】
前記潤滑位置(SP)に移動された前記ナット(22)が、前記管路要素(53)を長手方向軸線(X)に沿って変位させ、且つ、前記スリーブ(51)に対する前記密閉表面(533)の前記機械的予張力を解放することを特徴とする、請求項3に記載の潤滑化ユニット(50)。
【請求項5】
前記潤滑化ユニット(50)が、ストッパ(536)を備えること、前記潤滑化ユニット・チャネル(521、531、532、534、535)が、前記ストッパ(536)を通って延びること、前記ストッパ(536)が、前記ナット(22)に面するストッパ密閉表面(537)を備えること、前記ナット(22)が、前記潤滑化ユニット(50)に面するナット密閉表面(221)を備えること、並びに、前記ストッパ密閉表面(537)及び前記ナット密閉表面(221)が、前記ナット(22)と前記潤滑化ユニット(50)との間の直接機械的接触に応じて前記潤滑化ユニット・チャネル(521、531、532、534、535)の前記ナット・チャネル(222、223)との前記連通を潤滑剤が漏れないようにして密閉するように設計されていることを特徴とする、請求項1から4までのいずれか一項に記載の潤滑化ユニット(50)。
【請求項6】
前記ハウジング(40)が、ハウジング・チャネル(43)を含む第1のハウジング端部(41)を備え、前記ハウジング・チャネル(43)内に潤滑剤(56)が配置されること、前記潤滑化ユニット(50)が、スリーブ(51)及びアダプタ(52)を備えること、前記スリーブ(51)が、前記第1のハウジング端部(41)に面する第1のスリーブ端部(512)を備えること、前記アダプタ(52)が、前記第1のスリーブ端部(512)に固定されること、並びに、前記潤滑化ユニット(50)が、前記アダプタ(52)を介して前記第1のハウジング端部(41)に接続され得ることを特徴とする、請求項1から5までのいずれか一項に記載の潤滑化ユニット(50)。
【請求項7】
前記アダプタ(52)が、潤滑化ユニット・チャネル(521)を備えること、及び、前記第1のハウジング端部(41)に接続された状態において、前記ハウジング・チャネル(43)が、前記アダプタ・チャネル(521)と連通し、潤滑剤(56)が、前記ハウジング・チャネル(43)から前記アダプタ(52)の前記潤滑化ユニット・チャネル(521)内に入ることを特徴とする、請求項6に記載の潤滑化ユニット(50)。
【請求項8】
前記潤滑化ユニット(50)が、管路要素(53)を備えること、前記管路要素(53)が、前記アダプタ(52)に面する第1の端部を備えること、前記スリーブ(51)が、内部(511)を備え、前記管路要素(53)が、その第1の端部が前記内部(511)内にある状態で配置されること、前記管路要素(53)が、その第1の端部の領域内に少なくとも1つの潤滑化ユニット・チャネル(531、532)を備えること、及び、前記管路要素(53)の前記潤滑化ユニット・チャネル(531、532)が、前記アダプタ(52)の前記潤滑化ユニット・チャネル(521)と連通し、潤滑剤(56)が、前記アダプタ(52)の前記潤滑化ユニット・チャネル(521)から前記管路要素(53)の前記潤滑化ユニット・チャネル(531、532)に入ることを特徴とする、請求項7に記載の潤滑化ユニット(50)。
【請求項9】
前記管路要素(53)が、前記ナット(22)に面する第2の端部を備えること、前記管路要素(53)が、その第2の端部が前記内部(511)の外側にある状態で配置されること、前記管路要素(53)が、その第2の端部の領域内に少なくとも1つの潤滑化ユニット・チャネル(534、535)を備えること、及び、前記管路要素(53)の前記第1の端部の前記潤滑化ユニット・チャネル(531、532)の、前記管路要素(53)の前記第2の端部の領域内の前記潤滑化ユニット・チャネル(534、535)との連通に応じて、潤滑剤(56)が、前記管路要素(53)の前記第1の端部の領域内の前記潤滑化ユニット・チャネル(531、532)から前記管路要素(53)の前記第2の端部の領域内の前記潤滑化ユニット・チャネル(534、535)に入ることを特徴とする、請求項8に記載の潤滑化ユニット(50)。
【請求項10】
前記潤滑化ユニット・チャネル(531、532)が、前記管路要素(53)の前記第1の端部の領域において前記内部(511)内に延びること、前記潤滑化ユニット・チャネル(534、535)が、前記管路要素(53)の前記第2の端部の領域において前記内部(511)内に延びること、及び、前記内部(511)における前記管路要素(53)の前記第1の端部の領域内の前記潤滑化ユニット・チャネル(531、532)の、前記管路要素(53)の前記第2の端部の領域内の前記潤滑化ユニット・チャネル(534、535)との前記連通が遮断され得ることを特徴とする、請求項9に記載の潤滑化ユニット(50)。
(【請求項11】以降は省略されています)
発明の詳細な説明
【技術分野】
【0001】
本発明は、独立請求項のプリアンブルに記載の接合モジュールのための潤滑化ユニット、及びそのような潤滑化ユニットを使用して接合モジュールを潤滑化するための方法に関する。
続きを表示(約 1,400 文字)
【背景技術】
【0002】
接合モジュールは、スタンピング、パンチング、リベット締め、クリンチングなどのような広範な組立て及び接合プロセスのために工業生産において使用される。接合モジュールは、組立て及び接合プロセスに必要とされるツールをワークピース内へ移動させるために、並びに、組立て及び接合プロセスに必要とされる力を印加するために使用される。接合モジュールは、電気機械式、空気式、又は液圧式のモジュールとして利用可能である。
【0003】
接合モジュールは、駆動部、ねじ駆動部、タペット、及びハウジングを備える。駆動部は、ねじ駆動部に動作可能に接続され、駆動部の回転運動が、ねじ駆動部により直線運動に変換される。前述のタペットは、ねじ駆動部に取り付けられ、直線運動で移動される。タペットは、前述のツール又はワークピースを担持する。必要とされる力は、タペットを介して印加される。ねじ駆動部及びタペットは、ハウジング内に配置される。
【0004】
高精度の工業生産の場合、前述の接合モジュールは、数百mmのストローク長、400mm/sの高い移動速度、10ストローク/minを超える高いストローク数、及び、0.01mmの高い繰り返し精度を示す。接合モジュールは、10
6
回を超えるストロークを伴う長い耐用寿命のために設計される。
【0005】
接合モジュールの機能性を確実にするために、前述の移動可能なねじ駆動部は、オイル又はグリースなどの潤滑剤で潤滑化されなければならない。この目的のために、潤滑化ユニットにより、ねじ駆動部の潤滑点に潤滑剤が適用される。
【0006】
文献WO01/033133A1は、そのような潤滑化ユニットを示す。適用されるべき潤滑剤は、チャンバ内でカプセル化されている。チャンバ上に配置された圧縮ばねを介してカプセルに圧力が加えられ、潤滑剤がカプセルからチャンバ内に押し出される。前述のチャンバは、軸方向穴を介して多数の出口に接続されている。潤滑剤は、軸方向穴に流入する。逆止め弁が、潤滑剤が軸方向穴からチャンバ内へ逆流するのを防止する。ピストンが、軸方向穴内で移動される。潤滑剤は、ピストンの移動方向に応じて、軸方向穴に吸い込まれ、出口を通して圧送される。出口におけるさらなる逆止め弁が、潤滑剤が出口から軸方向穴へ逆流するのを防止する。潤滑剤は、出口を介して潤滑点に適用される。
【0007】
文献WO01/033133A1から知られている潤滑化ユニットは、必要とされる多くの逆止め弁のために製造費が高く、且つ、かなりの場所を塞ぐ。
【先行技術文献】
【特許文献】
【0008】
WO01/033133A1
【発明の概要】
【発明が解決しようとする課題】
【0009】
本発明の目的は、接合モジュールのための経済的且つ場所を取らない潤滑化ユニット、及び、そのような潤滑化ユニットを使用して接合モジュールを潤滑化するための方法を作り出すことである。
【課題を解決するための手段】
【0010】
これらの目的は、独立請求項に記載の特徴によって解決される。
(【0011】以降は省略されています)
この特許をJ-PlatPat(特許庁公式サイト)で参照する
関連特許
個人
海流製造装置。
2か月前
株式会社スギノマシン
圧縮機
2か月前
株式会社ツインバード
送風装置
2か月前
株式会社ツインバード
送風装置
2か月前
日機装株式会社
遠心ポンプ
1か月前
カヤバ株式会社
電動ポンプ
4か月前
カヤバ株式会社
電動ポンプ
1か月前
三菱電機株式会社
送風装置
今日
株式会社不二越
電動油圧ポンプ
4日前
ビッグボーン株式会社
送風装置
3か月前
株式会社不二越
電動油圧ポンプ
4日前
株式会社不二越
蓄圧装置
4か月前
株式会社ノーリツ
ロータリ圧縮機
3か月前
小倉クラッチ株式会社
ルーツブロア
4か月前
樫山工業株式会社
真空ポンプ
2か月前
サンデン株式会社
スクロール圧縮機
2か月前
サンデン株式会社
可変容量型圧縮機
1か月前
サンデン株式会社
スクロール圧縮機
2か月前
サンデン株式会社
スクロール圧縮機
2か月前
株式会社不二越
ベーンポンプ
4か月前
株式会社島津製作所
真空ポンプ
3か月前
株式会社クボタ
作業機
1か月前
株式会社豊田自動織機
流体機械
3か月前
株式会社アイシン
ポンプケース
2か月前
株式会社チロル
送風機、送風機付衣服
3か月前
エドワーズ株式会社
真空ポンプ
2か月前
株式会社島津製作所
真空ポンプ
2か月前
株式会社ニクニ
縦型スクリューポンプ
5日前
サンデン株式会社
ヘリカルコンプレッサ
6日前
サンデン株式会社
ヘリカルコンプレッサ
6日前
株式会社ナノバブル研究所
気液駆動装置
2か月前
株式会社豊田自動織機
電動圧縮機
3か月前
株式会社豊田自動織機
電動圧縮機
3か月前
已久工業股ふん有限公司
空気圧縮機構造
4か月前
株式会社豊田自動織機
電動圧縮機
3か月前
株式会社豊田自動織機
電動圧縮機
3か月前
続きを見る
他の特許を見る