TOP
|
特許
|
意匠
|
商標
特許ウォッチ
Twitter
他の特許を見る
公開番号
2025178886
公報種別
公開特許公報(A)
公開日
2025-12-09
出願番号
2024085744
出願日
2024-05-27
発明の名称
処理装置、自動改札機、処理方法および処理プログラム
出願人
株式会社東芝
代理人
弁理士法人スズエ国際特許事務所
主分類
G07B
15/00 20110101AFI20251202BHJP(チェック装置)
要約
【課題】 利便性の高い処理装置、自動改札機、処理方法および処理プログラムを提供する。
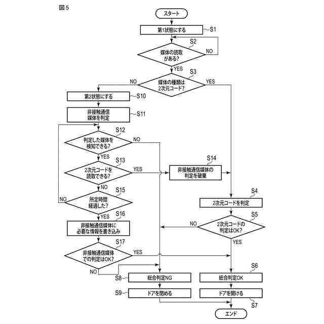
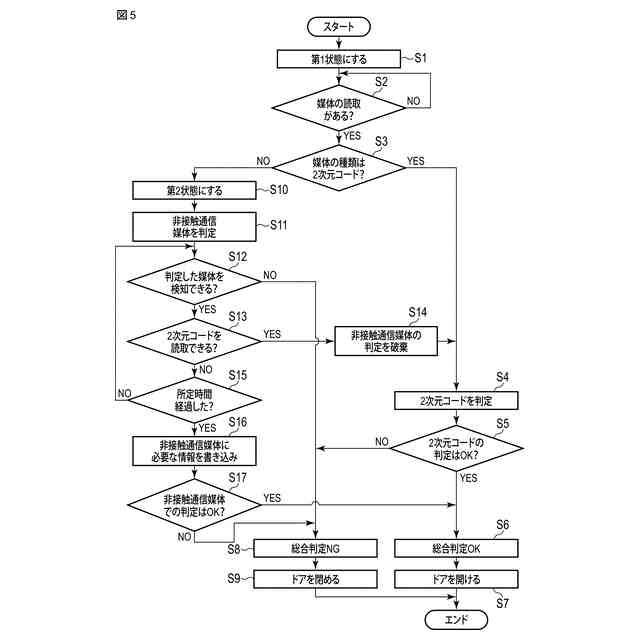
【解決手段】 処理装置は、コード読取範囲において2次元コードを光学的に読み取る第1読取部と、コード読取範囲よりも小さい第1読取範囲およびコード読取範囲よりも大きくコード読取範囲を覆う第2読取範囲を選択的に設定可能に構成され、第1読取範囲および第2読取範囲において非接触通信媒体と無線通信可能な第2読取部と、コントローラとを備える。コントローラは、第1読取範囲を設定した第1状態において、第1読取部が2次元コードを読み取った場合には読み取った2次元コードを判定し、2次元コードでない場合には第2読取範囲を設定した第2状態を設定し、第2状態において、第2読取部が非接触通信媒体を読み取った場合には読み取った非接触通信媒体の媒体情報を判定する。
【選択図】 図5
特許請求の範囲
【請求項1】
コード読取範囲において2次元コードを光学的に読み取る第1読取部と、
前記コード読取範囲よりも小さい第1読取範囲と、前記コード読取範囲よりも大きく前記コード読取範囲を覆う第2読取範囲と、を選択的に設定可能に構成され、前記第1読取範囲および前記第2読取範囲において非接触通信媒体と無線通信可能な第2読取部と、
前記第1読取範囲を設定した第1状態と前記第2読取範囲を設定した第2状態とを選択的に設定する状態設定部と、前記第1読取部で読み取った前記2次元コードおよび前記第2読取部で読み取った前記非接触通信媒体の媒体情報を判定する判定部と、を含み、前記第1状態において、前記第1読取部が前記2次元コードを読み取った場合には読み取った前記2次元コードを判定し、前記2次元コードでない場合には前記第2状態を設定し、前記第2状態において、前記第2読取部が前記非接触通信媒体を読み取った場合には読み取った前記非接触通信媒体の前記媒体情報を判定するコントローラと、
を備える処理装置。
続きを表示(約 1,800 文字)
【請求項2】
前記コントローラは、前記第2状態において、前記第1読取部が所定時間内に前記2次元コードを読み取った場合には前記非接触通信媒体の前記媒体情報の判定を破棄し、前記2次元コードを判定する、
請求項1に記載の処理装置。
【請求項3】
前記第1読取部は、前記2次元コードが翳される第1読取面を有し、
前記第2読取部は、前記非接触通信媒体が翳される第2読取面を有し、
前記コード読取範囲は、前記第1読取面と交差する第1方向において前記第1読取面から最も離れた第1端部を有し、
前記第1読取範囲および前記第2読取範囲は、前記第1方向において前記第2読取面から最も離れた第2端部および第3端部をそれぞれ有し、
前記第1状態において、前記第1読取面と前記第1端部との前記第1方向に沿った距離は、前記第2読取面と前記第2端部との前記第1方向に沿った距離よりも大きく、
前記第2状態において、前記第1読取面と前記第1端部との前記第1方向に沿った距離は、前記第2読取面と前記第3端部との前記第1方向に沿った距離よりも小さい、
請求項1に記載の処理装置。
【請求項4】
前記第1読取面および前記第2読取面は、同一平面上に位置する、
請求項3に記載の処理装置。
【請求項5】
前記第1読取面および前記第2読取面は、同一の面である、
請求項4に記載の処理装置。
【請求項6】
前記第1読取範囲は、前記コード読取範囲と少なくとも一部が重なっている、
請求項1に記載の処理装置。
【請求項7】
請求項1に記載の処理装置と、
利用者の通路に面して設けられたドアと、
前記2次元コードおよび前記非接触通信媒体の判定結果に基づき前記ドアの開閉を制御するドア制御部と、
を備える、自動改札機。
【請求項8】
コード読取範囲において2次元コードを光学的に読み取る第1読取部と、前記コード読取範囲よりも小さい第1読取範囲および前記コード読取範囲よりも大きく前記コード読取範囲を覆う第2読取範囲を選択的に設定可能に構成されるとともに前記第1読取範囲および前記第2読取範囲において非接触通信媒体と無線通信可能な第2読取部と、前記第1読取範囲を設定した第1状態と前記第2読取範囲を設定した第2状態とを選択的に設定し、前記第1読取部で読み取った前記2次元コードおよび前記第2読取部で読み取った前記非接触通信媒体の媒体情報を判定するコントローラと、を備える処理装置を用いる処理方法であって、
前記第1状態において、前記コントローラは、前記第1読取部が前記2次元コードを読み取った場合には読み取った前記2次元コードを判定し、前記2次元コードでない場合には第2状態を設定し、
前記第2状態において、前記コントローラは、前記第2読取部が前記非接触通信媒体を読み取った場合には読み取った前記非接触通信媒体の媒体情報を判定する、
処理方法。
【請求項9】
前記第2状態において、前記コントローラは、前記第1読取部が所定時間内に前記2次元コードを読み取った場合には前記非接触通信媒体の前記媒体情報の判定を破棄し、前記2次元コードを判定する、
請求項8に記載の処理方法。
【請求項10】
コード読取範囲において2次元コードを光学的に読み取る第1読取部と、前記コード読取範囲よりも小さい第1読取範囲および前記コード読取範囲よりも大きく前記コード読取範囲を覆う第2読取範囲を選択的に設定可能に構成されるとともに前記第1読取範囲および前記第2読取範囲において非接触通信媒体と無線通信可能な第2読取部と、を備える処理装置のコンピュータによって実行される処理プログラムであって、
前記第1読取範囲を設定した第1状態において、前記第1読取部が前記2次元コードを読み取った場合には読み取った前記2次元コードを判定し、前記2次元コードでない場合には前記第2読取範囲を設定した第2状態を設定するステップと、
前記第2状態において、前記第2読取部が前記非接触通信媒体を読み取った場合には読み取った前記非接触通信媒体の媒体情報を判定するステップと、
を実行させるための処理プログラム。
(【請求項11】以降は省略されています)
発明の詳細な説明
【技術分野】
【0001】
本発明の実施形態は、処理装置、自動改札機、処理方法および処理プログラムに関する。
続きを表示(約 2,200 文字)
【背景技術】
【0002】
近年、鉄道の駅などには、2次元コードなどを光学的に読み取り情報を取得する機能やクレジットカードと無線通信を行うことで情報を取得する機能が搭載された自動改札機が設置されている。この種の自動改札機においては、利用者の意図する機能を容易に実行する利便性の高さが要求される。
【先行技術文献】
【特許文献】
【0003】
特開2022-118971号公報
特開2018-25877号公報
特開2017-45386号公報
【発明の概要】
【発明が解決しようとする課題】
【0004】
本実施形態の目的は、利便性の高い処理装置、自動改札機、処理方法および処理プログラムを提供することである。
【課題を解決するための手段】
【0005】
一実施形態によれば、処理装置は、コード読取範囲において2次元コードを光学的に読み取る第1読取部と、前記コード読取範囲よりも小さい第1読取範囲および前記コード読取範囲よりも大きく前記コード読取範囲を覆う第2読取範囲を選択的に設定可能に構成され、前記第1読取範囲および前記第2読取範囲において非接触通信媒体と無線通信可能な第2読取部と、コントローラとを備える。前記コントローラは、前記第1読取範囲を設定した第1状態と前記第2読取範囲を設定した第2状態とを選択的に設定する状態設定部と、前記第1読取部で読み取った前記2次元コードおよび前記第2読取部で読み取った前記非接触通信媒体の媒体情報を判定する判定部と、を含み、前記第1状態において、前記第1読取部が前記2次元コードを読み取った場合には読み取った前記2次元コードを判定し、前記2次元コードでない場合には前記第2状態を設定し、前記第2状態において、前記第2読取部が前記非接触通信媒体を読み取った場合には読み取った前記非接触通信媒体の前記媒体情報を判定する。
【0006】
一実施形態によれば、自動改札機は、前記処理装置と、利用者の通路に面して設けられたドアと、前記2次元コードおよび前記非接触通信媒体の判定結果に基づき前記ドアの開閉を制御するドア制御部と、を備える。
【0007】
一実施形態によれば、処理方法は、コード読取範囲において2次元コードを光学的に読み取る第1読取部と、前記コード読取範囲よりも小さい第1読取範囲および前記コード読取範囲よりも大きく前記コード読取範囲を覆う第2読取範囲を選択的に設定可能に構成さるとともに前記第1読取範囲および前記第2読取範囲において非接触通信媒体と無線通信可能な第2読取部と、前記第1読取範囲を設定した第1状態と前記第2読取範囲を設定した第2状態とを選択的に設定し、前記第1読取部で読み取った前記2次元コードおよび前記第2読取部で読み取った前記非接触通信媒体の媒体情報を判定するコントローラと、を備える処理装置を用いる処理方法であって、前記第1状態において、前記第1読取部が前記2次元コードを読み取った場合には読み取った前記2次元コードを判定し、前記2次元コードでない場合には前記第2状態を設定し、前記第2状態において、前記第2読取部が前記非接触通信媒体を読み取った場合には読み取った前記非接触通信媒体の媒体情報を判定する。
【0008】
一実施形態によれば、処理プログラムは、コード読取範囲において2次元コードを光学的に読み取る第1読取部と、前記コード読取範囲よりも小さい第1読取範囲および前記コード読取範囲よりも大きく前記コード読取範囲を覆う第2読取範囲を選択的に設定可能に構成されるとともに前記第1読取範囲および前記第2読取範囲において非接触通信媒体と無線通信可能な第2読取部と、を備える処理装置のコンピュータによって実行される処理プログラムであって、前記第1読取範囲を設定した第1状態において、前記第1読取部が前記2次元コードを読み取った場合には読み取った前記2次元コードを判定し、前記2次元コードでない場合には前記第2読取範囲を設定した第2状態を設定するステップと、前記第2状態において、前記第2読取部が前記非接触通信媒体を読み取った場合には読み取った前記非接触通信媒体の媒体情報を判定するステップと、を実行させる。
【図面の簡単な説明】
【0009】
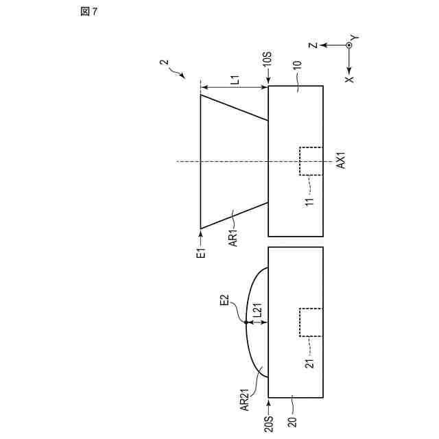
図1は、第1本実施形態に係る自動改札機の一例を示す斜視図である。
図2は、図1に示す自動改札機のブロック図である。
図3は、第1実施形態に係る読取機の第1状態を示す概略的な断面図である。
図4は、第1実施形態に係る読取機の第2状態を示す概略的な断面図である。
図5は、自動改札機の改札処理の手順の一例を示すフローチャートである。
図6は、第2本実施形態に係る自動改札機の一例を示す斜視図である。
図7は、第2実施形態に係る読取機の第1状態を示す概略的な断面図である。
図8は、第2実施形態に係る読取機の第2状態を示す概略的な断面図である。
【発明を実施するための形態】
【0010】
以下、図面を参照しながら、各実施形態に係る自動改札機について説明する。各実施形態に係る自動改札機は、例えば鉄道駅や空港の改札口などに設置され、利用者の通行を許可または禁止する。
(【0011】以降は省略されています)
この特許をJ-PlatPat(特許庁公式サイト)で参照する
関連特許
株式会社東芝
電子源
6日前
株式会社東芝
モータ
2か月前
株式会社東芝
端子台
1か月前
株式会社東芝
吸音装置
2か月前
株式会社東芝
除去装置
1か月前
株式会社東芝
電子装置
1か月前
株式会社東芝
電子装置
2か月前
株式会社東芝
電子回路
1か月前
株式会社東芝
半導体装置
1か月前
株式会社東芝
半導体装置
6日前
株式会社東芝
半導体装置
1か月前
株式会社東芝
半導体装置
21日前
株式会社東芝
半導体装置
13日前
株式会社東芝
半導体装置
1か月前
株式会社東芝
半導体装置
1か月前
株式会社東芝
半導体装置
1か月前
株式会社東芝
真空バルブ
1か月前
株式会社東芝
半導体装置
1か月前
株式会社東芝
半導体装置
1か月前
株式会社東芝
真空バルブ
1か月前
株式会社東芝
半導体装置
6日前
株式会社東芝
半導体装置
7日前
株式会社東芝
半導体装置
7日前
株式会社東芝
真空バルブ
7日前
株式会社東芝
半導体装置
1か月前
株式会社東芝
粒子加速器
2か月前
株式会社東芝
半導体装置
1か月前
株式会社東芝
高周波回路
1か月前
株式会社東芝
半導体装置
1か月前
株式会社東芝
半導体装置
今日
株式会社東芝
半導体装置
1か月前
株式会社東芝
半導体装置
2か月前
株式会社東芝
半導体装置
1か月前
株式会社東芝
半導体装置
1か月前
株式会社東芝
半導体装置
1か月前
株式会社東芝
真空バルブ
2日前
続きを見る
他の特許を見る