TOP
|
特許
|
意匠
|
商標
特許ウォッチ
Twitter
他の特許を見る
公開番号
2025178434
公報種別
公開特許公報(A)
公開日
2025-12-05
出願番号
2025165248,2024014983
出願日
2025-10-01,2019-10-09
発明の名称
負極材料、リチウムイオン二次電池、負極材料の製造方法、及びリチウムイオン二次電池の製造方法
出願人
三菱マテリアル株式会社
代理人
弁理士法人酒井国際特許事務所
主分類
H01M
4/587 20100101AFI20251128BHJP(基本的電気素子)
要約
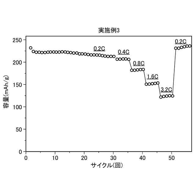
【課題】炭素の表面に適切に三酸化タングステンを配置する。
【解決手段】負極材料は、電池の負極材料であって、アモルファスカーボンと、アモルファスカーボンの表面に設けられる三酸化タングステンと、を含む。
【選択図】図2
特許請求の範囲
【請求項1】
電池の負極材料であって、
三酸化タングステン原料が溶解した溶解用溶液にアモルファスカーボン原料を分散させた添加溶液を乾燥及び加熱して生成され、
アモルファスカーボン粒子と、前記アモルファスカーボン粒子の表面に設けられる三酸化タングステン粒子とを含み、
前記アモルファスカーボン粒子と前記三酸化タングステン粒子とが複合化されている、
負極材料。
続きを表示(約 640 文字)
【請求項2】
前記三酸化タングステン原料の添加量と前記アモルファスカーボン原料の添加量との合計量に対する、前記三酸化タングステン原料の添加量の比率が、2重量%より多く8重量%以下である、請求項1に記載の負極材料。
【請求項3】
黒鉛を含まない、請求項1に記載の負極材料。
【請求項4】
六方晶の結晶構造の前記三酸化タングステン粒子を含む、請求項1に記載の負極材料。
【請求項5】
単斜晶と三斜晶との少なくともいずれか一方の結晶構造の前記三酸化タングステン粒子を含む、請求項1に記載の負極材料。
【請求項6】
請求項1から請求項5のいずれか1項に記載の負極材料と、正極材料とを含む、リチウムイオン二次電池。
【請求項7】
電池の負極材料の製造方法であって、
タングステン酸アンモニウム溶液にアモルファスカーボン原料を添加して、添加溶液を生成する添加ステップと、
前記添加溶液を乾燥させて負極中間物を得る乾燥ステップと、
前記負極中間物を加熱して、アモルファスカーボン粒子と前記アモルファスカーボン粒子の表面に設けられる三酸化タングステン粒子とを含む負極材料を生成する加熱ステップと、
を含む、
負極材料の製造方法。
【請求項8】
請求項7に記載の負極材料の製造方法と、正極材料を製造するステップと、を含む、リチウムイオン二次電池の製造方法。
発明の詳細な説明
【技術分野】
【0001】
本発明は、負極材料、リチウムイオン二次電池、負極材料の製造方法、及びリチウムイオン二次電池の製造方法に関する。
続きを表示(約 780 文字)
【背景技術】
【0002】
リチウムイオン二次電池の負極材料としては、炭素が用いられる場合がある。例えば特許文献1には、黒鉛の表面に三酸化タングステンを配置した負極が記載されている。黒鉛の表面に三酸化タングステンを配置することで、リチウムイオンの拡散性を向上させることが可能となり、容量などの電池の特性を向上できる。
【先行技術文献】
【特許文献】
【0003】
特開2018-45904号公報
【発明の概要】
【発明が解決しようとする課題】
【0004】
しかし、このような負極材料においては、炭素の表面に適切に三酸化タングステンを配置するためには、改善の余地がある。
【0005】
本発明は、上記に鑑みてなされたものであって、炭素の表面に適切に三酸化タングステンを配置できる負極材料、電池、負極材料の製造方法、及び電池の製造方法を提供することを目的とする。
【課題を解決するための手段】
【0006】
上述した課題を解決し、目的を達成するために、本開示に係る負極材料は、電池の負極材料であって、アモルファスカーボンと、前記アモルファスカーボンの表面に設けられる三酸化タングステンと、を含む。
【0007】
六方晶の結晶構造の前記三酸化タングステンを含むことが好ましい。
【0008】
単斜晶と三斜晶との少なくともいずれか一方の結晶構造の前記三酸化タングステンを含むことが好ましい。
【0009】
黒鉛を含まないことが好ましい。
【0010】
上述した課題を解決し、目的を達成するために、本開示に係る電池は、前記負極材料と、正極材料とを含む。
(【0011】以降は省略されています)
この特許をJ-PlatPat(特許庁公式サイト)で参照する
関連特許
日機装株式会社
加圧装置
3日前
日新イオン機器株式会社
イオン源
3日前
株式会社東芝
端子台
1か月前
マクセル株式会社
電源装置
1か月前
三菱電機株式会社
回路遮断器
26日前
株式会社GSユアサ
蓄電装置
1か月前
株式会社GSユアサ
蓄電装置
18日前
富士電機株式会社
電磁接触器
18日前
個人
電源ボックス及び電子機器
3日前
株式会社東芝
電子源
3日前
株式会社トクミ
ケーブル
4日前
トヨタ自動車株式会社
蓄電装置
10日前
ホシデン株式会社
複合コネクタ
12日前
大電株式会社
電線又はケーブル
10日前
日本特殊陶業株式会社
保持装置
1か月前
ローム株式会社
半導体モジュール
19日前
日本無線株式会社
レーダアンテナ
1か月前
ヒロセ電機株式会社
電気コネクタ
18日前
住友電装株式会社
コネクタ
18日前
甲神電機株式会社
変流器及び零相変流器
1か月前
株式会社レゾナック
冷却器
26日前
矢崎総業株式会社
コネクタ
18日前
富士電機株式会社
半導体モジュール
1か月前
株式会社デンソー
熱交換部材
1か月前
日本航空電子工業株式会社
コネクタ
3日前
日本特殊陶業株式会社
アンテナ装置
5日前
三菱電機株式会社
半導体装置
3日前
日本航空電子工業株式会社
コネクタ
1か月前
株式会社パロマ
監視システム
10日前
株式会社デンソー
半導体装置
18日前
日本特殊陶業株式会社
アンテナ装置
5日前
矢崎総業株式会社
端子
10日前
トヨタ自動車株式会社
蓄電装置構造
4日前
日本特殊陶業株式会社
アンテナ装置
5日前
矢崎総業株式会社
バスバー電線
11日前
矢崎総業株式会社
バスバー電線
11日前
続きを見る
他の特許を見る