TOP
|
特許
|
意匠
|
商標
特許ウォッチ
Twitter
他の特許を見る
10個以上の画像は省略されています。
公開番号
2025177676
公報種別
公開特許公報(A)
公開日
2025-12-05
出願番号
2024084720
出願日
2024-05-24
発明の名称
粒子構造、ベッド構造、モジュール、磁気冷凍装置及び粒子構造の製造方法
出願人
ダイキン工業株式会社
代理人
弁理士法人新樹グローバル・アイピー
主分類
H01F
1/01 20060101AFI20251128BHJP(基本的電気素子)
要約
【課題】性能を向上する、粒子構造、ベッド構造、モジュール及び磁気冷凍装置を提供する。
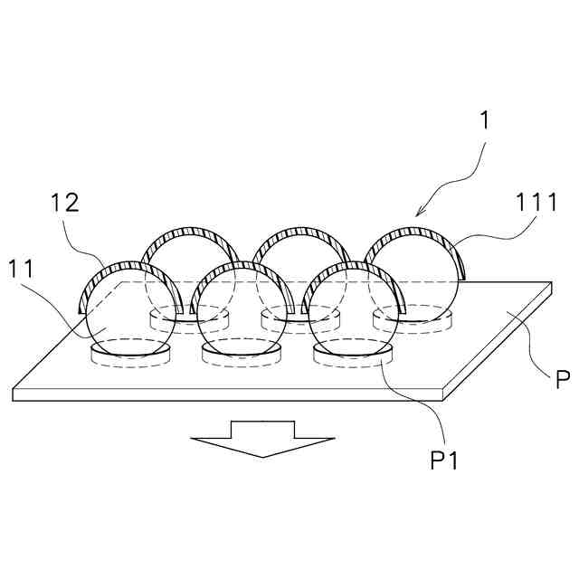
【解決手段】粒子構造(1)は、磁気冷凍装置(100)に用いられる粒子構造であって、粒子(11)と、被膜(12)と、を備える。粒子(11)は、磁気熱量効果を有する。被膜(12)は、粒子(11)の表面(11a)の一部を被覆する。被膜(12)の熱伝導率は、粒子(11)の熱伝導率よりも小さい。被膜(12)は、表面(11a)に沿った一定の厚みを有する。
【選択図】図1
特許請求の範囲
【請求項1】
磁気冷凍装置(100)に用いられる粒子構造であって、
磁気熱量効果を有する粒子(11)と、
前記粒子の表面(111)の一部を被覆する被膜(12)と、
を備え、
前記被膜の熱伝導率は、前記粒子の熱伝導率よりも小さく、
前記被膜は、前記表面に沿った一定の厚みを有する、粒子構造(1)。
続きを表示(約 560 文字)
【請求項2】
前記被膜は、熱硬化性樹脂、熱可塑性樹脂、及び光硬化性樹脂の少なくとも1つの樹脂を含む、
請求項1に記載の粒子構造。
【請求項3】
前記樹脂は、エポキシ樹脂、メラミン樹脂、フェノール樹脂、フッ素樹脂、ポリエチレン樹脂、及びポリプロピレン樹脂の少なくとも1つを含む、
請求項2に記載の粒子構造。
【請求項4】
前記被膜は、無機系接着剤を含む、
請求項1に記載の粒子構造。
【請求項5】
前記粒子は、球状を有する、
請求項1~4のいずれか1項に記載の粒子構造。
【請求項6】
請求項1~4のいずれか1項に記載の粒子構造を複数備え、
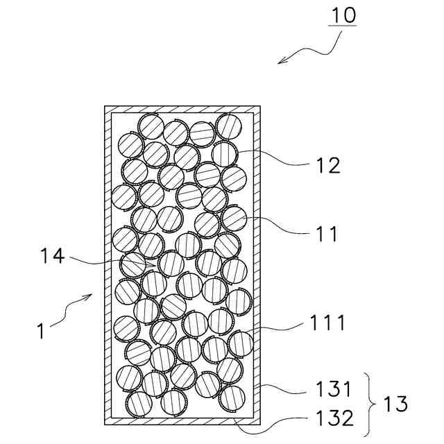
前記粒子間には、流体が通過する流路(14)が形成されている、ベッド構造(10)。
【請求項7】
請求項6に記載のベッド構造を複数備え、
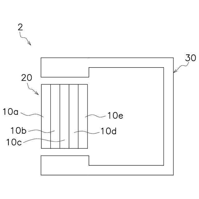
複数の前記ベッド構造を構成する粒子の磁気熱量効果が異なる、モジュール(20)。
【請求項8】
請求項7に記載のモジュールと、
前記粒子に対して磁場を印加する印加部(30)と、
前記粒子と熱交換を行う流体を移動させる移動部(63)と、
を備える、磁気冷凍装置(100)。
発明の詳細な説明
【技術分野】
【0001】
粒子構造、ベッド構造、モジュール及び磁気冷凍装置に関する。
続きを表示(約 1,200 文字)
【背景技術】
【0002】
従来、環境に配慮した冷凍技術として、能動的磁気冷凍(AMR:Active Magnetic Refrigeration)方式の磁気冷凍装置が知られている。AMR方式の磁気冷凍装置は、特許文献1(特表2016-530479号公報)に開示されているように、容器としてのベッドと、このベッドに充填された磁気熱量効果を有する粒子とを含む、ベッド構造を備えている。特許文献1の段落[0050]には、ほとんどの粒子が接触していることが開示されている。
【発明の概要】
【発明が解決しようとする課題】
【0003】
しかしながら、特許文献1に開示の技術では、ほとんどの粒子が接触しているので、粒子間の熱伝導を抑制できない。このため、ベッド構造の両端部に温度差を形成することが抑制されるので、磁気冷凍装置に十分な性能を持たせることができない。
【課題を解決するための手段】
【0004】
第1観点に係る粒子構造は、磁気冷凍装置に用いられる粒子構造であって、粒子と、被膜と、を備える。粒子は、磁気熱量効果を有する。被膜は、粒子の表面の一部を被覆する。被膜の熱伝導率は、粒子の熱伝導率よりも小さい。被膜は、表面に沿った一定の厚みを有する。
【0005】
第1観点の粒子構造によれば、粒子の表面の一部に、粒子の熱伝導率よりも小さい被膜が形成されている。このため、第1観点の粒子構造を磁気冷凍装置に用いると、流路を通過する流体の移動方向において、粒子間の熱伝導を抑制することができる。これにより、ベッド構造の両端部における粒子の温度差を大きくすることができる。したがって、流体と粒子との熱交換を促進することができるので、第1観点の粒子構造を用いた磁気冷凍装置の性能を向上できる。
【0006】
第2観点に係る粒子構造は、第1観点に係る粒子構造において、被膜は、熱硬化性樹脂、熱可塑性樹脂、及び光硬化性樹脂の少なくとも1つの樹脂を含む。
【0007】
第2観点の粒子構造のように、熱硬化性樹脂、熱可塑性樹脂、及び光硬化性樹脂の少なくとも1つを含む被膜を用いてもよい。
【0008】
第3観点に係る粒子構造は、第2観点に係る粒子構造において、樹脂は、エポキシ樹脂、メラミン樹脂、フェノール樹脂、フッ素樹脂、ポリエチレン樹脂、及びポリプロピレン樹脂の少なくとも1つを含む。
【0009】
第3観点の粒子構造のようにエポキシ樹脂、メラミン樹脂、フェノール樹脂、フッ素樹脂、ポリエチレン樹脂、及びポリプロピレン樹脂の少なくとも1つを含む樹脂を用いてもよい。
【0010】
第4観点に係る粒子構造は、第1観点に係る粒子構造において、被膜は、無機系接着剤を含む。
(【0011】以降は省略されています)
この特許をJ-PlatPat(特許庁公式サイト)で参照する
関連特許
ダイキン工業株式会社
電力変換装置
今日
ダイキン工業株式会社
フッ素樹脂組成物、及び、成形体
4日前
ダイキン工業株式会社
固体電解質電池用結着剤、スラリー、電極および固体電解質電池
4日前
ダイキン工業株式会社
非水電解質電池用結着剤、電極合剤、電極および非水電解質電池
4日前
日機装株式会社
加圧装置
4日前
日新イオン機器株式会社
イオン源
4日前
富士電機株式会社
電磁接触器
19日前
株式会社GSユアサ
蓄電装置
19日前
株式会社東芝
電子源
4日前
株式会社トクミ
ケーブル
5日前
個人
電源ボックス及び電子機器
4日前
ホシデン株式会社
複合コネクタ
13日前
大電株式会社
電線又はケーブル
11日前
トヨタ自動車株式会社
蓄電装置
11日前
住友電装株式会社
コネクタ
19日前
矢崎総業株式会社
コネクタ
19日前
矢崎総業株式会社
バスバー
今日
ローム株式会社
半導体モジュール
20日前
ヒロセ電機株式会社
電気コネクタ
19日前
矢崎総業株式会社
端子
11日前
日本特殊陶業株式会社
アンテナ装置
6日前
株式会社デンソー
半導体装置
19日前
日本特殊陶業株式会社
アンテナ装置
6日前
日本特殊陶業株式会社
アンテナ装置
6日前
トヨタ自動車株式会社
蓄電装置構造
5日前
三菱電機株式会社
半導体装置
4日前
日本航空電子工業株式会社
コネクタ
4日前
株式会社パロマ
監視システム
11日前
TDK株式会社
電子部品
19日前
株式会社ダイヘン
電圧調整装置
6日前
TDK株式会社
電子部品
6日前
株式会社興電舎
励磁突入電流抑制方法
4日前
新電元工業株式会社
半導体装置
19日前
矢崎総業株式会社
バスバー電線
12日前
矢崎総業株式会社
バスバー電線
12日前
トヨタ自動車株式会社
電池
25日前
続きを見る
他の特許を見る