TOP
|
特許
|
意匠
|
商標
特許ウォッチ
Twitter
他の特許を見る
公開番号
2025177565
公報種別
公開特許公報(A)
公開日
2025-12-05
出願番号
2024084519
出願日
2024-05-24
発明の名称
蓄電デバイス
出願人
株式会社豊田中央研究所
代理人
弁理士法人アイテック国際特許事務所
主分類
H01M
10/36 20100101AFI20251128BHJP(基本的電気素子)
要約
【課題】キャリアイオンとしてカリウムイオンを含む水溶液系電解液を備えた蓄電デバイスにおいて、安価で良好な特性を示すものを提供する。
【解決手段】蓄電デバイスは、正極活物質を有する正極と、負極活物質を有する負極と、正極と負極との間に介在しキャリアイオンとしてカリウムイオンを含む水溶液系電解液と、を備え、下記(1)及び(2)のうちの少なくとも一方を満たす。(1)正極は、正極活物質としてカリウムイオンを吸蔵放出する活物質を有し、正極集電体として、タングステン、アルミニウム、ステンレス鋼及びニッケルのうちの1以上を有する。(2)負極は、負極活物質としてカリウムイオンを吸蔵放出する活物質を有し、負極集電体として、スズ、アルミニウム、ステンレス鋼及びタングステンのうちの1以上を有する。
【選択図】図1
特許請求の範囲
【請求項1】
正極活物質を有する正極と、負極活物質を有する負極と、前記正極と前記負極との間に介在しキャリアイオンとしてカリウムイオンを含む水溶液系電解液と、を備え、下記(1)及び(2)のうちの少なくとも一方を満たす、蓄電デバイス。
(1)前記正極は、前記正極活物質としてカリウムイオンを吸蔵放出する活物質を有し、正極集電体として、タングステン、アルミニウム、ステンレス鋼及びニッケルのうちの1以上を有する。
(2)前記負極は、前記負極活物質としてカリウムイオンを吸蔵放出する活物質を有し、負極集電体として、スズ、アルミニウム、ステンレス鋼及びタングステンのうちの1以上を有する。
続きを表示(約 250 文字)
【請求項2】
前記正極集電体は、ステンレス鋼及びニッケルのうちの1以上である、請求項1に記載の蓄電デバイス。
【請求項3】
前記負極集電体は、アルミニウムである、請求項1に記載の蓄電デバイス。
【請求項4】
前記水溶液系電解液は、支持塩として硝酸カリウムを含む、請求項1~3のいずれか1項に記載の蓄電デバイス。
【請求項5】
前記水溶液系電解液は、支持塩を0.1M以上2M以下の濃度で含む、請求項1~3のいずれか1項に記載の蓄電デバイス。
発明の詳細な説明
【技術分野】
【0001】
本開示は、蓄電デバイスに関する。
続きを表示(約 1,800 文字)
【背景技術】
【0002】
従来、蓄電デバイスとして、水溶液系カリウムイオン二次電池が提案されている。カリウムイオン二次電池はキャリアイオンとなるカリウムが自然界に豊富に存在するため、リチウムイオン二次電池に比べて資源リスクの低い電池系と考えられる。また非水系電解液ではなく、水溶液系電解液を用いることで、ドライ雰囲気下での製造プロセスを回避可能となるため、製造プロセスにおけるCO
2
排出量の抑制が期待される。このような観点で水溶液系カリウムイオン二次電池は魅力的な電池系である。しかしながら、水溶液系カリウムイオン二次電池に関する報告例は多くなく、活物質、電解液に着目した研究例が主である。活物質や電解液の検討の際に、電位窓の広いチタンを集電体に用いたり(非特許文献1)、電気化学的に安定な金を集電体に用いたり(非特許文献2)した例はあるものの、集電体に着目した研究例は報告されていない。非水系カリウムイオン二次電池において、集電体としてアルミニウムを使用した例はあるが(特許文献1)、水溶液系電解液との組合せは検討されていない。
【先行技術文献】
【特許文献】
【0003】
特許第7281100号
【非特許文献】
【0004】
Nature Energy | VOL 4 | JUNE 2019 | 495-503
NATURE COMMUNICATIONS | (2019) 10:4292
【発明の概要】
【発明が解決しようとする課題】
【0005】
ところで、非特許文献1で用いたチタンや非特許文献2で用いた金は高価であることから、これらを用いた水溶液系カリウムイオン電池も高価であるという問題があった。また、特許文献1で用いたアルミニウムは安価であるものの、上述の通り、水溶液系電解液との組合せは検討されていなかった。
【0006】
本開示はこのような課題を解決するためになされたものであり、キャリアイオンとしてカリウムイオンを含む水溶液系電解液を備えた蓄電デバイスにおいて、安価で良好な特性を示すものを提供することを主目的とする。
【課題を解決するための手段】
【0007】
上述した目的を達成するために、本発明者らは、キャリアイオンとしてカリウムイオンを含む水溶液系電解液を備えた蓄電デバイスにおいて、正極集電体にタングステンやアルミニウム、ステンレス鋼、ニッケルを用いたり、負極集電体にスズやアルミニウム、ステンレス鋼、タングステンを用いたりすると、安価で良好な特性を示すことを見出し、本開示を完成するに至った。
【0008】
即ち、本開示の蓄電デバイスは、
正極活物質を有する正極と、負極活物質を有する負極と、前記正極と前記負極との間に介在しキャリアイオンとしてカリウムイオンを含む水溶液系電解液と、を備え、下記(1)及び(2)のうちの少なくとも一方を満たすものである。
(1)前記正極は、前記正極活物質としてカリウムイオンを吸蔵放出する活物質を有し、正極集電体として、タングステン、アルミニウム、ステンレス鋼及びニッケルのうちの1以上を有する。
(2)前記負極は、前記負極活物質としてカリウムイオンを吸蔵放出する活物質を有し、負極集電体として、スズ、アルミニウム、ステンレス鋼及びタングステンのうちの1以上を有する。
【発明の効果】
【0009】
本開示では、キャリアイオンとしてカリウムイオンを含む水溶液系電解液を備えた蓄電デバイスにおいて、安価で良好な特性を示すものを提供することができる。このような効果が得られる理由は、以下のように推察される。例えば、正極集電体や負極集電体に用いる金属は、チタンや金よりも安価なため、安価な蓄電デバイスを実現できると推察される。また、正極集電体や負極集電体に用いる金属は、水分解反応に対する過電圧が大きく電位窓が広いため、良好な特性を示すものと推察される。
【図面の簡単な説明】
【0010】
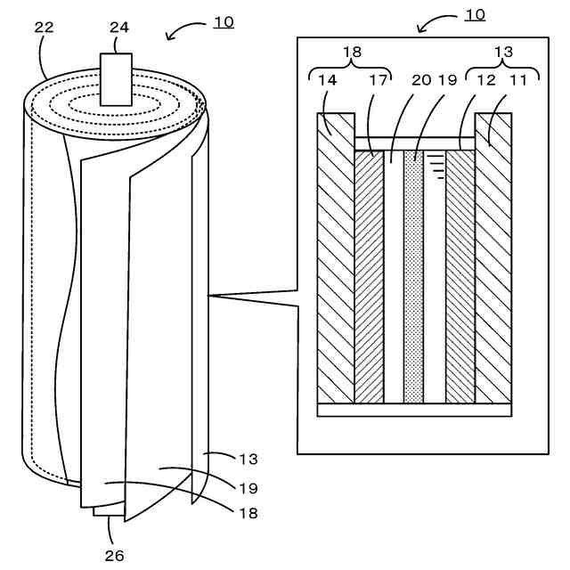
蓄電デバイス10の一例を示す模式図。
リニアスイープボルタンメトリー(LSV)測定結果(実験例1~12)。
実験例13の充放電特性評価結果。
【発明を実施するための形態】
(【0011】以降は省略されています)
この特許をJ-PlatPat(特許庁公式サイト)で参照する
関連特許
日機装株式会社
加圧装置
3日前
日新イオン機器株式会社
イオン源
3日前
三菱電機株式会社
回路遮断器
26日前
株式会社GSユアサ
蓄電装置
18日前
富士電機株式会社
電磁接触器
18日前
株式会社GSユアサ
蓄電装置
1か月前
大電株式会社
電線又はケーブル
10日前
株式会社トクミ
ケーブル
4日前
株式会社東芝
電子源
3日前
ホシデン株式会社
複合コネクタ
12日前
個人
電源ボックス及び電子機器
3日前
日本特殊陶業株式会社
保持装置
1か月前
トヨタ自動車株式会社
蓄電装置
10日前
甲神電機株式会社
変流器及び零相変流器
1か月前
ヒロセ電機株式会社
電気コネクタ
18日前
株式会社レゾナック
冷却器
26日前
住友電装株式会社
コネクタ
18日前
日本無線株式会社
レーダアンテナ
1か月前
ローム株式会社
半導体モジュール
19日前
矢崎総業株式会社
コネクタ
18日前
三菱電機株式会社
半導体装置
3日前
株式会社デンソー
半導体装置
18日前
日本特殊陶業株式会社
アンテナ装置
5日前
日本特殊陶業株式会社
アンテナ装置
5日前
株式会社パロマ
監視システム
10日前
日本航空電子工業株式会社
コネクタ
3日前
日本特殊陶業株式会社
アンテナ装置
5日前
日本航空電子工業株式会社
コネクタ
1か月前
トヨタ自動車株式会社
蓄電装置構造
4日前
株式会社デンソー
熱交換部材
1か月前
矢崎総業株式会社
端子
10日前
TDK株式会社
電子部品
5日前
株式会社ダイヘン
電圧調整装置
5日前
矢崎総業株式会社
バスバー電線
11日前
株式会社興電舎
励磁突入電流抑制方法
3日前
矢崎総業株式会社
バスバー電線
11日前
続きを見る
他の特許を見る