TOP
|
特許
|
意匠
|
商標
特許ウォッチ
Twitter
他の特許を見る
10個以上の画像は省略されています。
公開番号
2025176882
公報種別
公開特許公報(A)
公開日
2025-12-05
出願番号
2024083256
出願日
2024-05-22
発明の名称
塗布装置
出願人
株式会社SCREENホールディングス
代理人
個人
,
個人
主分類
H01L
21/027 20060101AFI20251128BHJP(基本的電気素子)
要約
【課題】簡易な調整作業で足りる塗布装置を提供することを目的とする。
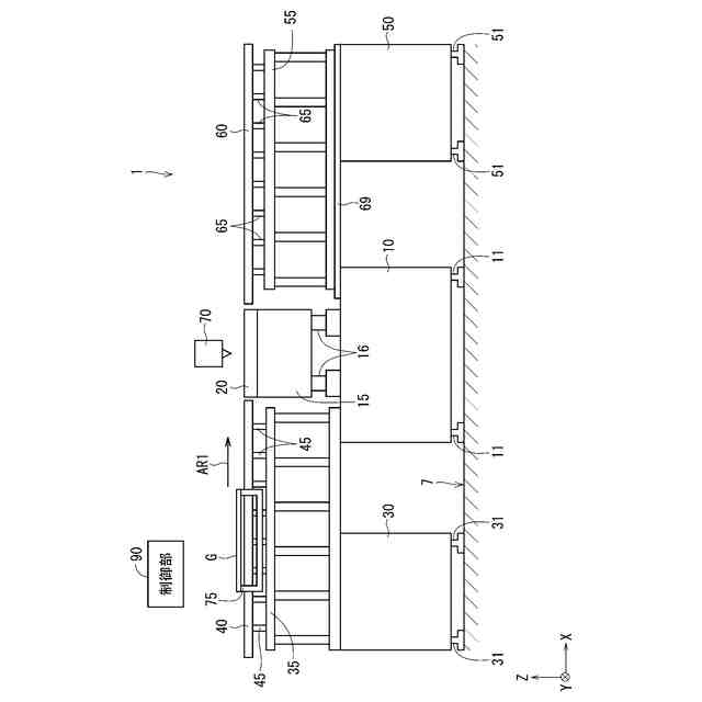
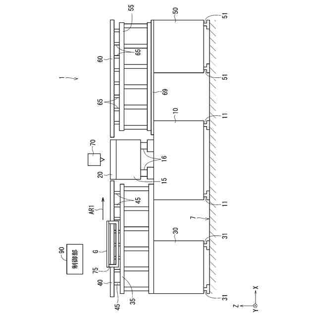
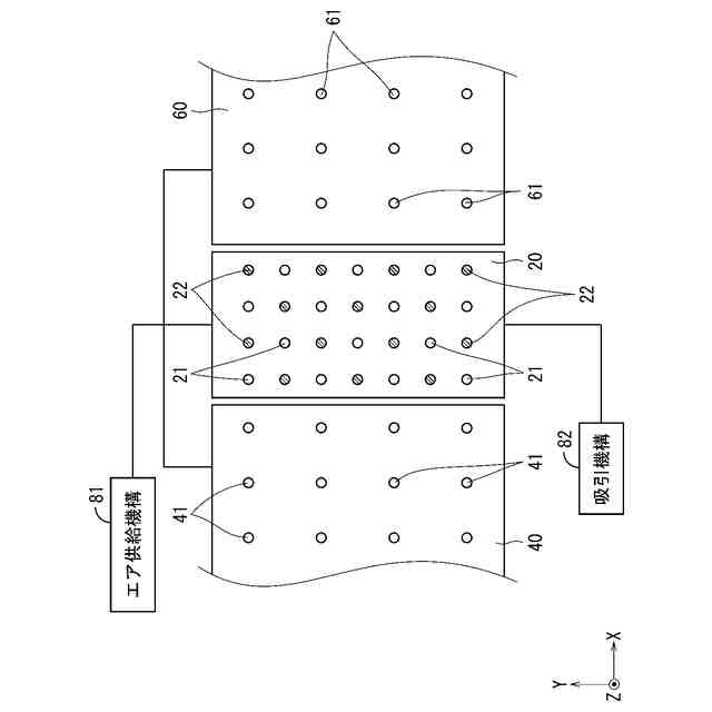
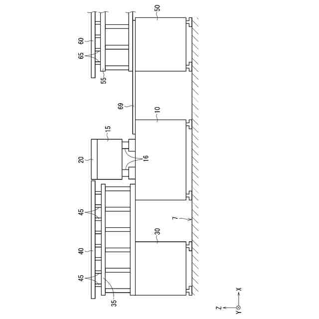
【解決手段】塗布支持台10の上にレベリングブロック16を介して精密石15が設けられる。精密石15は、御影石等の石材を精密加工することによって製作される。精密石15の上面の平面度は10μm以下である。その精密石15の上面に塗布プレート20を取り付けるという簡単な調整作業によって、塗布プレート20の上面についても高い平面度を得ることができる。精密石15の傾きはレベリングブロック16によって調整する。また、塗布装置1とは別置の石定盤の上で入口プレート40および入口フレーム部35をモジュールとして組み立て、そのモジュールを入口支持台30と塗布支持台10とに掛け渡すように載置する。同様に、出口プレート60および出口フレーム部55をモジュールとして組み立て、そのモジュールをガイドレール69に載置する。
【選択図】図2
特許請求の範囲
【請求項1】
基板を浮上させて搬送しつつ、当該基板の上面に処理液を塗布する塗布装置であって、
塗布支持台と、
前記塗布支持台上に設けられ、上面が平坦面とされたブロック体と、
前記ブロック体の上面に取り付けられ、気体を上方に向けて噴出して前記基板を浮上させる塗布プレートと、
前記塗布プレート上を浮上搬送される前記基板の上面に前記処理液を供給するスリットノズルと、
水平面に対する前記ブロック体の上面の傾きを調整する傾斜調整機構と、
を備える塗布装置。
続きを表示(約 1,000 文字)
【請求項2】
請求項1記載の塗布装置において、
前記ブロック体は石材で形成される塗布装置。
【請求項3】
請求項2記載の塗布装置において、
前記石材は御影石である塗布装置。
【請求項4】
請求項1記載の塗布装置において、
前記ブロック体の上面の平面度は10μm以下である塗布装置。
【請求項5】
請求項1記載の塗布装置において、
前記傾斜調整機構は、複数のレベリングブロックを含む塗布装置。
【請求項6】
請求項1記載の塗布装置において、
前記基板の搬送方向に沿って前記塗布支持台よりも上流側に設けられた入口支持台と、
前記基板の搬送方向に沿って前記塗布支持台よりも下流側に設けられた出口支持台と、
少なくとも一部が前記入口支持台に載置される入口フレーム部と、
少なくとも一部が前記出口支持台に載置される出口フレーム部と、
前記入口フレーム部に取り付けられ、気体を上方に向けて噴出して前記基板を浮上させる入口プレートと、
前記出口フレーム部に取り付けられ、気体を上方に向けて噴出して前記基板を浮上させる出口プレートと、
前記入口フレーム部に対する前記入口プレートの高さを調整する第1高さ調整機構と、
前記出口フレーム部に対する前記出口プレートの高さを調整する第2高さ調整機構と、
をさらに備え、
前記基板は前記入口プレート上から前記塗布プレート上を経て前記出口プレートへと浮上搬送される塗布装置。
【請求項7】
請求項6記載の塗布装置において、
前記入口支持台および前記出口支持台のそれぞれは、前記塗布支持台から50cm以上かつ1m以下の間隔を隔てて設けられ、
前記入口フレーム部は前記入口支持台から前記塗布支持台に掛け渡されて前記入口プレートが前記塗布プレートに接続され、
前記出口フレーム部は前記出口支持台から前記塗布支持台に掛け渡されて前記出口プレートが前記塗布プレートに接続される塗布装置。
【請求項8】
請求項7記載の塗布装置において、
前記出口フレーム部および前記出口プレートを前記基板の搬送方向の下流側に向けて引き出し可能とする機構をさらに備える塗布装置。
発明の詳細な説明
【技術分野】
【0001】
本発明は、基板を浮上させて搬送しつつ、当該基板の上面にレジスト液等の処理液を塗布する塗布装置に関する。処理対象となる基板には、例えば、液晶表示装置用ガラス基板、有機EL表示用ガラス基板、PDP用ガラス基板またはフォトマスク用ガラス基板などが含まれる。
続きを表示(約 1,100 文字)
【背景技術】
【0002】
液晶表示装置等の製造工程では、基板の表面にレジスト液等の処理液を供給して当該処理液を基板に塗布する塗布装置が用いられている。例えば、特許文献1には、基板を浮上させた状態で当該基板を搬送しつつ、ノズルからレジスト液を帯状に供給して基板の上面にレジスト液を均一に塗布する塗布装置が開示されている。
【0003】
特許文献1に記載の塗布装置では、基板を浮上搬送させるための浮上ステージを複数のステージブロックに分割し、独立して輸送可能な架台に1または複数のステージブロックが取り付けられている。各ステージブロックは多数の支柱およびアジャスタを含む高さ調整用のアジャスト機構を介して架台に取り付けられる。
【先行技術文献】
【特許文献】
【0004】
特開2012-182308号公報
【発明の概要】
【発明が解決しようとする課題】
【0005】
特許文献1に記載の塗布装置においては、ステージブロック間の段差を無くす必要があるため、アジャスト機構を手動操作することによって各ステージブロックの高さ調整を行っている。しかし、架台の上での多数のアジャスト機構の調整作業は作業者の負担が大きく、作業効率も低下することになっていた。
【0006】
特に、高い精度が要求される塗布領域を構成するステージブロックについては他のステージブロックよりも顕著に多くのアジャスト機構が設けられているため、調整作業が繁雑となり、非常に多くの工数を要するという問題が生じていた。
【0007】
本発明は、上記課題に鑑みてなされたものであり、簡易な調整作業で足りる塗布装置を提供することを目的とする。
【課題を解決するための手段】
【0008】
上記課題を解決するため、この発明の第1の態様は、基板を浮上させて搬送しつつ、当該基板の上面に処理液を塗布する塗布装置において、塗布支持台と、前記塗布支持台上に設けられ、上面が平坦面とされたブロック体と、前記ブロック体の上面に取り付けられ、気体を上方に向けて噴出して前記基板を浮上させる塗布プレートと、前記塗布プレート上を浮上搬送される前記基板の上面に前記処理液を供給するスリットノズルと、水平面に対する前記ブロック体の上面の傾きを調整する傾斜調整機構と、を備える。
【0009】
また、第2の態様は、第1の態様に係る塗布装置において、前記ブロック体は石材で形成される。
【0010】
また、第3の態様は、第2の態様に係る塗布装置において、前記石材は御影石である。
(【0011】以降は省略されています)
この特許をJ-PlatPat(特許庁公式サイト)で参照する
関連特許
日機装株式会社
加圧装置
3日前
日新イオン機器株式会社
イオン源
3日前
マクセル株式会社
電源装置
1か月前
富士電機株式会社
電磁接触器
18日前
株式会社GSユアサ
蓄電装置
1か月前
株式会社GSユアサ
蓄電装置
18日前
三菱電機株式会社
回路遮断器
26日前
個人
電源ボックス及び電子機器
3日前
大電株式会社
電線又はケーブル
10日前
株式会社トクミ
ケーブル
4日前
ホシデン株式会社
複合コネクタ
12日前
株式会社東芝
電子源
3日前
トヨタ自動車株式会社
蓄電装置
10日前
日本特殊陶業株式会社
保持装置
1か月前
甲神電機株式会社
変流器及び零相変流器
1か月前
住友電装株式会社
コネクタ
18日前
ローム株式会社
半導体モジュール
19日前
日本無線株式会社
レーダアンテナ
1か月前
ヒロセ電機株式会社
電気コネクタ
18日前
株式会社レゾナック
冷却器
26日前
矢崎総業株式会社
コネクタ
18日前
三菱電機株式会社
半導体装置
3日前
株式会社パロマ
監視システム
10日前
日本航空電子工業株式会社
コネクタ
3日前
矢崎総業株式会社
端子
10日前
株式会社デンソー
半導体装置
18日前
トヨタ自動車株式会社
蓄電装置構造
4日前
日本特殊陶業株式会社
アンテナ装置
5日前
株式会社デンソー
熱交換部材
1か月前
日本特殊陶業株式会社
アンテナ装置
5日前
日本航空電子工業株式会社
コネクタ
1か月前
日本特殊陶業株式会社
アンテナ装置
5日前
富士電機株式会社
半導体モジュール
1か月前
矢崎総業株式会社
バスバー電線
11日前
TDK株式会社
電子部品
5日前
TDK株式会社
電子部品
18日前
続きを見る
他の特許を見る