TOP
|
特許
|
意匠
|
商標
特許ウォッチ
Twitter
他の特許を見る
10個以上の画像は省略されています。
公開番号
2025176547
公報種別
公開特許公報(A)
公開日
2025-12-04
出願番号
2024082781
出願日
2024-05-21
発明の名称
情報処理方法、情報処理装置、及び移動体
出願人
パナソニックIPマネジメント株式会社
代理人
弁理士法人三協国際特許事務所
主分類
G06T
7/00 20170101AFI20251127BHJP(計算;計数)
要約
【課題】ユーザから正確な生体データを取得する。
【解決手段】情報処理方法は、動画コンテンツが再生されている第1期間における、ユーザからの反射光の強度の変化に対応する生体データを取得することと、前記動画コンテンツの色に関する特徴量であって、前記第1期間における時間の経過に応じて変化する前記特徴量を取得することと、前記特徴量に基づいて、前記生体データを補正することと、を含む。
【選択図】図2
特許請求の範囲
【請求項1】
コンピュータにおける情報処理方法であって、
動画コンテンツが再生されている第1期間における、ユーザからの反射光の強度の変化に対応する生体データを取得することと、
前記動画コンテンツの色に関する特徴量であって、前記第1期間における時間の経過に応じて変化する前記特徴量を取得することと、
前記特徴量に基づいて、前記生体データを補正することと、を含む、
情報処理方法。
続きを表示(約 1,000 文字)
【請求項2】
前記特徴量を取得することは、前記特徴量と、時間とが対応付けられた特徴量データを取得することを含み、
前記生体データは、前記特徴量データに基づいて補正される、
請求項1に記載の情報処理方法。
【請求項3】
前記生体データは、青、緑、及び赤の少なくとも1つの波長帯域に対応する特定波長の前記反射光の強度変化に応じたデータであり、
前記特定波長が対応する色の前記動画コンテンツの前記特徴量に基づいて前記生体データは補正される、
請求項1又は2に記載の情報処理方法。
【請求項4】
前記生体データを補正することは、前記第1期間において実行される、
請求項1又は2に記載の情報処理方法。
【請求項5】
前記生体データを補正することは、前記第1期間の後の第2期間において実行される、
請求項1又は2に記載の情報処理方法。
【請求項6】
前記動画コンテンツが投影される表示部材の位置と、前記動画コンテンツを見るユーザの位置との相対的な位置関係を示す位置情報を取得することと、をさらに含み、
前記生体データを補正することは、前記位置情報及び前記特徴量に基づいて前記生体データを補正することを含む、
請求項1又は2に記載の情報処理方法。
【請求項7】
前記表示部材は、車両の内部に配置されており、
前記位置情報は、前記車両の内部に配置されたカメラ、又は、前記車両の座席に備えられた着座を検出するためのセンサに基づいて生成される、
請求項6に記載の情報処理方法。
【請求項8】
前記位置情報は、前記動画コンテンツにおける色の重心の位置と、前記動画コンテンツを見るユーザの位置との相対的な位置関係を示す情報を含む、
請求項6に記載の情報処理方法。
【請求項9】
前記生体データは、前記ユーザの脈波を示す、
請求項1または2に記載の情報処理方法。
【請求項10】
前記ユーザが存在する第1位置とは異なる第2位置であり、前記動画コンテンツに起因する表示光が照射される前記第2位置からの戻り光を光検出器に検出させることによって生成される表示光データを取得することと、をさらに含み、
前記表示光データに基づいて推定された前記特徴量に基づいて、前記生体データは補正される、
請求項1に記載の情報処理方法。
(【請求項11】以降は省略されています)
発明の詳細な説明
【技術分野】
【0001】
本開示は、画像から生体データを取得する技術に関する。
続きを表示(約 2,100 文字)
【背景技術】
【0002】
従来、ユーザからの反射光の強度変化に基づいて生体データを取得する技術が知られている。例えば、特許文献1には、ユーザを撮影して連続するカラー画像を取得し、連続するカラー画像の画素のG(green)成分の輝度値を抽出し、連続するカラー画像間での輝度値の差を算出することにより、脈波を測定する技術が開示されている。また、特許文献2には、脈波の測定の対象となる生体の画像を撮像し、撮像した画像の画像データから抽出したR信号とG信号を用いて両者の差分をとり、2つの信号間の同相ノイズを低減した補正信号を生成する技術が開示されている。
【先行技術文献】
【特許文献】
【0003】
国際公開第2016/006027号
特開2020-157102号公報
【発明の概要】
【発明が解決しようとする課題】
【0004】
ユーザが動画コンテンツを視聴している状況で上記の生体データが取得される場合、不正確な生体データが取得される可能性がある。具体的に、ユーザがディスプレイなどの表示部材を使用して動画コンテンツを視聴している場合、ディスプレイからの光(以下、表示光と呼ぶ)によってユーザの皮膚が照射されるため、この表示光の影響を受けてユーザからの反射光の強度が変動する。この結果、不正確な生体データが取得される可能性がある。
【0005】
本開示の目的は、正確な生体データを取得できる技術を提供することである。
【課題を解決するための手段】
【0006】
本開示の一態様における情報処理方法は、コンピュータにおける情報処理方法であって、動画コンテンツが再生されている第1期間における、ユーザからの反射光の強度の変化に対応する生体データを取得することと、前記動画コンテンツの色に関する特徴量であって、前記第1期間における時間の経過に応じて変化する前記特徴量を取得することと、前記特徴量に基づいて、前記生体データを補正することと、を含む。
【発明の効果】
【0007】
本構成によれば、ユーザから正確な生体データを取得することができる。
【図面の簡単な説明】
【0008】
実施の形態1に係る情報処理システムの概要を示す図である。
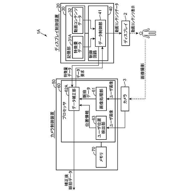
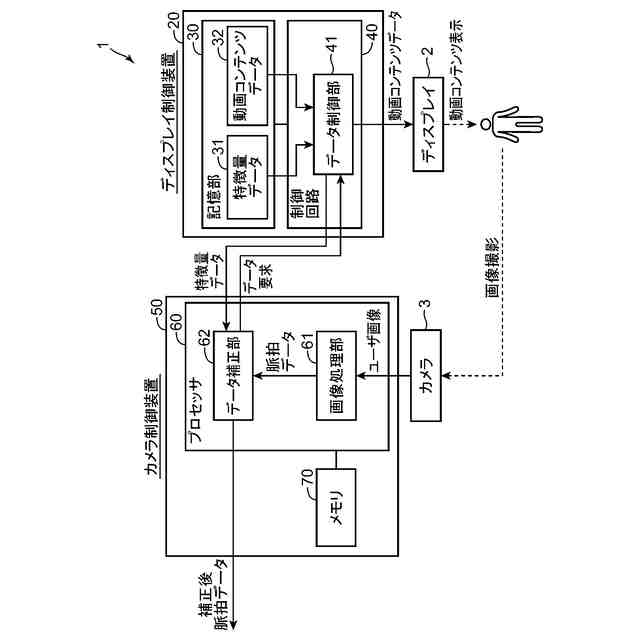
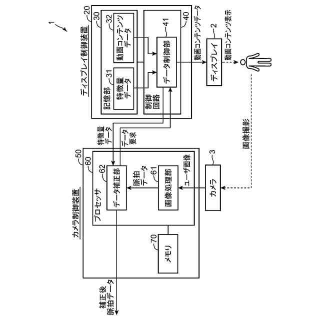
実施の形態1に係る情報処理システムの電気的な構成を示すブロック図である。
特徴量データのデータ構成の一例を示す図である。
実施の形態1に係る情報処理システムの処理の流れを示すフローチャートである。
ユーザ画像データのデータ構成の一例を示す図である。
動画コンテンツの場面がシーン1からシーン2へと遷移する様子を示す図である。
情報処理システムのユースケースを示す図である。
実施の形態2に係る情報処理システムの電気的な構成を示すブロック図である。
実施の形態2に係る情報処理システムの処理の流れを示すフローチャートである。
特徴量データのデータ構成の一例を示す図である。
ユーザ位置検出部の処理を説明するための図である。
動画コンテンツの場面がシーン1からシーン2の第1例、第2例、第3例へと遷移する様子を示す図である。
第1例乃至第3例における平均Gレベル、G重心位置、ユーザの顔位置、及び照射係数をまとめた表である。
ユーザの顔の位置と、G重心と、照射係数との相関関係を示すグラフである。
動画コンテンツの場面がシーン1からシーン2の第1例へと遷移する様子を示す図である。
動画コンテンツの場面がシーン1からシーン2の第2例へと遷移する様子を示す図である。
動画コンテンツの場面がシーン1からシーン2の第3例へと遷移する様子を示す図である。
脈拍信号データのデータ構成の一例を示す図である。
実施の形態3に係る情報処理システムの構成の一例を示す図である。
実施の形態4に係る情報処理システムの構成の一例を示す図である。
【発明を実施するための形態】
【0009】
(本開示の基礎となる知見)
上記の通り、ディスプレイからの表示光によってユーザの皮膚が照らされる場合、不正確な生体データが取得される可能性がある。
【0010】
例えば、ユーザを撮影して取得した画像のG成分の輝度値(以下、G成分値と呼ぶ)に基づいて脈波を検出する場合を想定する。ここで、森林などが映し出されている動画コンテンツがディスプレイに投影されると、ディスプレイからの表示光によってユーザの皮膚は緑色に照らされる。このタイミングで画像の撮影が行われると、画像には緑色に照らされた皮膚が写り込む。そして、この画像からG成分値を抽出した場合、過大なG成分値が抽出され、これにより不正確な脈波が取得される可能性がある。
(【0011】以降は省略されています)
この特許をJ-PlatPat(特許庁公式サイト)で参照する
関連特許
個人
詐欺保険
1か月前
個人
縁伊達ポイン
1か月前
個人
5掛けポイント
27日前
個人
RFタグシート
1か月前
個人
職業自動販売機
20日前
個人
ペルソナ認証方式
1か月前
個人
地球保全システム
2か月前
個人
QRコードの彩色
1か月前
個人
情報処理装置
1か月前
個人
自動調理装置
1か月前
個人
残土処理システム
1か月前
個人
農作物用途分配システム
1か月前
個人
知的財産出願支援システム
1か月前
個人
インターネットの利用構造
1か月前
NISSHA株式会社
入力装置
今日
個人
サービス情報提供システム
22日前
個人
タッチパネル操作指代替具
1か月前
個人
スケジュール調整プログラム
1か月前
個人
学習用データ生成装置
1日前
個人
携帯端末障害問合せシステム
1か月前
株式会社キーエンス
受発注システム
2か月前
個人
食品レシピ生成システム
2か月前
個人
エリアガイドナビAIシステム
1か月前
個人
海外支援型農作物活用システム
2か月前
株式会社キーエンス
受発注システム
2か月前
株式会社キーエンス
受発注システム
2か月前
株式会社ケアコム
項目選択装置
1か月前
キヤノン株式会社
情報処理装置
14日前
個人
未来型家系図構築システム
2か月前
キヤノン株式会社
画像認識装置
14日前
キヤノン株式会社
情報処理装置
14日前
キヤノン株式会社
情報処理装置
28日前
株式会社ワコム
電子ペン
29日前
株式会社ケアコム
項目選択装置
1か月前
個人
帳票自動生成型SaaSシステム
1か月前
キヤノン株式会社
表示システム
2か月前
続きを見る
他の特許を見る