TOP
|
特許
|
意匠
|
商標
特許ウォッチ
Twitter
他の特許を見る
公開番号
2025176246
公報種別
公開特許公報(A)
公開日
2025-12-04
出願番号
2024082262
出願日
2024-05-21
発明の名称
車両情報処理装置
出願人
トヨタ自動車株式会社
代理人
弁理士法人YKI国際特許事務所
主分類
G08G
1/16 20060101AFI20251127BHJP(信号)
要約
【課題】車両の衝突防止装置の作動要因を解析して誤作動の場合には運転者に通知することができる車両情報処理装置を提供する。
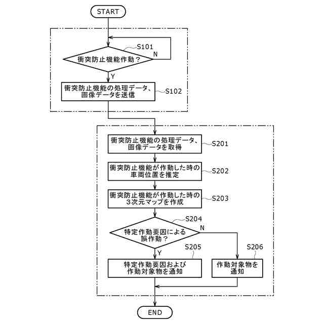
【解決手段】CPU31は、車両の衝突防止機能が作動した場合には、衝突防止機能の処理データおよび車両10に設けられたカメラ14Aによって撮像された画像データから衝突防止機能が作動した時の車両10の位置を推定し、衝突防止機能が作動した時の車両10の周囲の3次元マップを作成し、3次元マップから衝突防止機能が特定作動要因によって誤作動したかどうかを判定し、衝突防止機能が特定作動要因によって誤作動した場合には、作動対象物および特定作動要因を運転者に通知し、衝突防止機能が特定作動要因によって作動していない場合には、作動対象物を運転者に通知し、特定作動要因には、車両10の進路が直線であって車両10の隣接車線に大型車両110が停止している場合を含む。
【選択図】図1
特許請求の範囲
【請求項1】
情報処理を行うプロセッサを含む車両情報処理装置であって、
前記プロセッサは、車両の衝突防止機能が作動した場合には、前記衝突防止機能の処理データおよび前記車両に設けられたカメラによって撮像された画像データから前記衝突防止機能が作動した時の前記車両の位置を推定し、前記衝突防止機能が作動した時の前記車両の周囲の3次元マップを作成し、前記3次元マップから前記衝突防止機能が特定作動要因によって誤作動したかどうかを判定し、前記衝突防止機能が前記特定作動要因によって誤作動した場合には、作動対象物および前記特定作動要因を運転者に通知し、前記衝突防止機能が前記特定作動要因によって誤作動していない場合には、前記作動対象物を前記運転者に通知し、
前記特定作動要因には、前記車両の進路が直線であって前記車両の隣接車線に大型車両が停止している場合を含む、
車両情報処理装置。
発明の詳細な説明
【技術分野】
【0001】
本開示は、車両の衝突防止機能の特定作動要因による誤作動を車両に通知する車両情報装置に関する。
続きを表示(約 1,500 文字)
【背景技術】
【0002】
車両の安全運転のための先進運転支援システムが公知である。例えば特許文献1には、事故発生時にドライブレコーダにより種々の情報を記録し、それを情報処理装置へ送信し、情報処理装置で受信、保存、検索、出力などを可能にする一連のシステムが開示されている。
【0003】
また、先進運転支援システムの機能の一つとして、衝突防止機能が公知である。衝突防止機能は、車両の進路上の作動対象物を外部センサで検知し、車両と作動対象物と衝突の可能性が高いと判断したときに、警報またはブレーキ制御によって車両の運転者の衝突防止操作を補助する。
【先行技術文献】
【特許文献】
【0004】
特開2016-118904号公報
【発明の概要】
【発明が解決しようとする課題】
【0005】
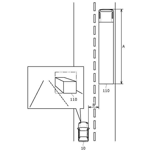
しかし、衝突防止機能が特定作動要因によって誤作動する場合がある。特定作動要因は、例えば、車両の進路が直線であって車両の隣接車線に大型車が停止しており、車両の自車線に車両が存在するように誤認識する場合である。
【0006】
衝突防止機能が特定作動要因によって誤作動した場合のように、衝突防止機能が運転者の意図しない状況において作動した場合には、運転者は衝突防止機能に不信感を抱く。そこで、例えば車両に搭載されたECU(Electronic Control Unit)によってカメラの映像を用いて衝突防止機能の作動要因を詳細に解析して上述した特定作動要因による誤作動であるかどうかを判定すればよいが、車両に搭載されたECUでは高度な解析をすることができない。
【0007】
そこで、本発明は、車両の衝突防止機能の作動要因を解析して衝突防止機能が特定作動要因によって誤作動した場合には運転者に通知することができる車両情報処理装置を提供することを目的とする。
【課題を解決するための手段】
【0008】
本発明に係る車両情報処理装置は、情報処理を行うプロセッサを含む車両情報処理装置であって、プロセッサは、車両の衝突防止機能が作動した場合には、衝突防止機能の処理データおよび車両に設けられたカメラによって撮像された画像データから衝突防止機能が作動した時の車両の位置を推定し、衝突防止機能が作動した時の車両の周囲の3次元マップを作成し、3次元マップから衝突防止機能が特定作動要因によって誤作動したかどうかを判定し、衝突防止機能が特定作動要因によって誤作動した場合には、作動対象物および特定作動要因を運転者に通知し、衝突防止機能が特定作動要因によって誤作動していない場合には、作動対象物を運転者に通知し、特定作動要因には、車両の進路が直線であって車両の隣接車線に大型車両が停止している場合を含むことを特徴とする。
【発明の効果】
【0009】
本発明の車両情報処理装置によれば、車両の衝突防止機能の作動要因を解析して衝突防止機能が特定作動要因によって誤作動した場合には運転者に通知することができる。
【図面の簡単な説明】
【0010】
実施形態の一例である車両情報処理装置および車両を示すブロック図である。
衝突防止機能の特定作動要因を示す模式図である。
実施形態の一例である車両情報処理装置による処理の流れを示すフローである。
【発明を実施するための形態】
(【0011】以降は省略されています)
この特許をJ-PlatPat(特許庁公式サイト)で参照する
関連特許
トヨタ自動車株式会社
電池
7日前
トヨタ自動車株式会社
方法
1か月前
トヨタ自動車株式会社
電池
1か月前
トヨタ自動車株式会社
方法
1か月前
トヨタ自動車株式会社
車両
1か月前
トヨタ自動車株式会社
電池
7日前
トヨタ自動車株式会社
治具
1か月前
トヨタ自動車株式会社
車両
29日前
トヨタ自動車株式会社
車両
1か月前
トヨタ自動車株式会社
椅子
1か月前
トヨタ自動車株式会社
車両
1か月前
トヨタ自動車株式会社
車両
1か月前
トヨタ自動車株式会社
電池
1か月前
トヨタ自動車株式会社
電池
21日前
トヨタ自動車株式会社
車両
1か月前
トヨタ自動車株式会社
車両
1か月前
トヨタ自動車株式会社
車両
1か月前
トヨタ自動車株式会社
電池
1か月前
トヨタ自動車株式会社
配管
16日前
トヨタ自動車株式会社
方法
1か月前
トヨタ自動車株式会社
車両
15日前
トヨタ自動車株式会社
方法
1か月前
トヨタ自動車株式会社
電池
1か月前
トヨタ自動車株式会社
車両
29日前
トヨタ自動車株式会社
車両
1か月前
トヨタ自動車株式会社
車両
16日前
トヨタ自動車株式会社
車体
29日前
トヨタ自動車株式会社
車体
1か月前
トヨタ自動車株式会社
車両
1か月前
トヨタ自動車株式会社
方法
1か月前
トヨタ自動車株式会社
車両
1日前
トヨタ自動車株式会社
電池
15日前
トヨタ自動車株式会社
車両
1か月前
トヨタ自動車株式会社
方法
29日前
トヨタ自動車株式会社
方法
1か月前
トヨタ自動車株式会社
車両
1か月前
続きを見る
他の特許を見る