TOP
|
特許
|
意匠
|
商標
特許ウォッチ
Twitter
他の特許を見る
公開番号
2025175798
公報種別
公開特許公報(A)
公開日
2025-12-03
出願番号
2024082066
出願日
2024-05-20
発明の名称
スプレーガン
出願人
アネスト岩田株式会社
,
学校法人神奈川大学
代理人
個人
,
個人
,
個人
主分類
B05B
7/02 20060101AFI20251126BHJP(霧化または噴霧一般;液体または他の流動性材料の表面への適用一般)
要約
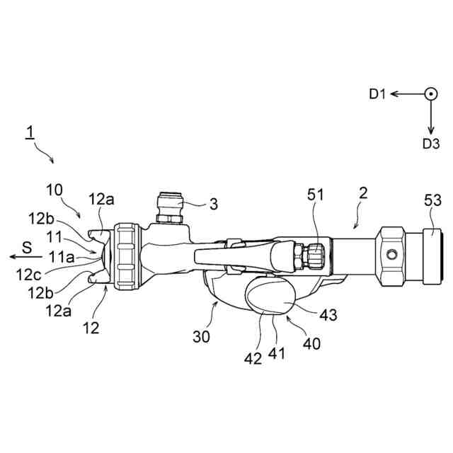
【課題】ハンドル部を把持する手の指の筋肉に生じる負荷を軽減できるスプレーガンを提供する。
【解決手段】スプレーガンは、霧状の液体を噴出する。スプレーガンは、液体を噴出する噴出部と、液体の噴出方向と交差する方向に延びるハンドル部と、噴出部から液体を噴出させる噴出状態と噴出部から液体を噴出させない非噴出状態とに切り替えるスイッチと、を含む。スイッチは、ハンドル部の側方に設けられている。あるいは、スイッチは、操作者によりハンドル部が把持された状態においてハンドル部を把持する手の指からハンドル部が力を受ける方向と交差する方向に操作可能なように設けられている。
【選択図】図1
特許請求の範囲
【請求項1】
霧状の液体を噴出するスプレーガンであって、
前記液体を噴出する噴出部と、
前記液体の噴出方向と交差する方向に延びるハンドル部と、
前記噴出部から前記液体を噴出させる噴出状態と前記噴出部から前記液体を噴出させない非噴出状態とに切り替えるスイッチと、を備え、
前記スイッチは、前記ハンドル部の側方に設けられている、スプレーガン。
続きを表示(約 910 文字)
【請求項2】
霧状の液体を噴出するスプレーガンであって、
前記液体を噴出する噴出部と、
前記液体の噴出方向と交差する方向に延びるハンドル部と、
前記噴出部から前記液体を噴出させる噴出状態と前記噴出部から前記液体を噴出させない非噴出状態とに切り替えるスイッチと、を備え、
前記スイッチは、操作者により前記ハンドル部が把持された状態において前記ハンドル部を把持する手の指から前記ハンドル部が力を受ける方向と交差する方向に操作可能なように設けられている、スプレーガン。
【請求項3】
前記スイッチは、操作者により前記ハンドル部が把持された状態において前記ハンドル部を把持する手の親指により操作可能な位置に設けられている、請求項2に記載のスプレーガン。
【請求項4】
前記ハンドル部は、側方に突出する突出部を含み、
前記スイッチは、前記突出部に設けられている、請求項1~3のいずれか一項に記載のスプレーガン。
【請求項5】
前記突出部は、操作者により前記ハンドル部が把持された状態において前記ハンドル部を把持する手の親指側に位置する、請求項4に記載のスプレーガン。
【請求項6】
前記突出部は、前記ハンドル部の一側の側方にのみ設けられている、請求項4に記載のスプレーガン。
【請求項7】
前記突出部は、前記ハンドル部の前方に位置し、前記ハンドル部を把持する手の人差し指及び中指を引っ掛ける引掛部を含む、請求項4に記載のスプレーガン。
【請求項8】
前記突出部は、前記突出部の下方に、前記ハンドル部を把持する手の薬指及び小指が位置するように設けられている、請求項4に記載のスプレーガン。
【請求項9】
前記スイッチは、プッシュ式のスイッチである、請求項1~3のいずれか一項に記載のスプレーガン。
【請求項10】
前記スイッチが押された場合に、前記噴出部から前記液体が噴出される、請求項9に記載のスプレーガン。
(【請求項11】以降は省略されています)
発明の詳細な説明
【技術分野】
【0001】
本開示は、スプレーガンに関する。
続きを表示(約 1,200 文字)
【背景技術】
【0002】
例えば特許文献1に開示されているようなスプレーガンが知られている。スプレーガンは、霧状の液体を噴出する装置である。一般に、スプレーガンは、噴出部と、ハンドル部と、引金部と、を有する。スプレーガンの使用時には、操作者の手によりハンドル部が把持され、ハンドル部を把持する手の人差し指及び中指により引金部が操作される。これにより、スプレーガン内の気体流路を圧縮空気等の気体が流れ、噴出部から塗料等の液体が噴出される。
【0003】
しかしながら、このようにハンドル部を把持する手の人差し指及び中指により引金部を操作する場合、ハンドル部を把持する手の指の筋肉に大きな負荷が生じるおそれがある。
【先行技術文献】
【特許文献】
【0004】
特開平6-47318号公報
【発明の概要】
【発明が解決しようとする課題】
【0005】
本開示は、上記に鑑み、ハンドル部を把持する手の指の筋肉に生じる負荷を軽減できるスプレーガンを提供することを目的とする。
【課題を解決するための手段】
【0006】
本開示の一実施形態は、以下の[1]~[15]に関する。
【0007】
[1]霧状の液体を噴出するスプレーガンであって、
前記液体を噴出する噴出部と、
前記液体の噴出方向と交差する方向に延びるハンドル部と、
前記噴出部から前記液体を噴出させる噴出状態と前記噴出部から前記液体を噴出させない非噴出状態とに切り替えるスイッチと、を備え、
前記スイッチは、前記ハンドル部の側方に設けられている、スプレーガン。
【0008】
[2]霧状の液体を噴出するスプレーガンであって、
前記液体を噴出する噴出部と、
前記液体の噴出方向と交差する方向に延びるハンドル部と、
前記噴出部から前記液体を噴出させる噴出状態と前記噴出部から前記液体を噴出させない非噴出状態とに切り替えるスイッチと、を備え、
前記スイッチは、操作者により前記ハンドル部が把持された状態において前記ハンドル部を把持する手の指から前記ハンドル部が力を受ける方向と交差する方向に操作可能なように設けられている、スプレーガン。
【0009】
[3]前記スイッチは、操作者により前記ハンドル部が把持された状態において前記ハンドル部を把持する手の親指により操作可能な位置に設けられている、[2]に記載のスプレーガン。
【0010】
[4]前記ハンドル部は、側方に突出する突出部を含み、
前記スイッチは、前記突出部に設けられている、[1]~[3]のいずれかに記載のスプレーガン。
(【0011】以降は省略されています)
この特許をJ-PlatPat(特許庁公式サイト)で参照する
関連特許
アネスト岩田株式会社
スプレーガン
7日前
個人
微細霧発生装置
1か月前
ベック株式会社
被膜形成方法
28日前
ベック株式会社
被膜形成方法
28日前
ベック株式会社
被膜形成方法
2か月前
ベック株式会社
被膜形成方法
28日前
ベック株式会社
被膜形成方法
28日前
ベック株式会社
被膜形成方法
28日前
有限会社 芦屋ドレス
湯噴霧器
1か月前
菊水化学工業株式会社
塗装方法
5日前
株式会社シラトミ
塗装方法
12日前
アイカ工業株式会社
塗料仕上げ工法
2か月前
スズカファイン株式会社
多色性塗膜
2か月前
ベック株式会社
装飾被膜の形成方法
4か月前
トヨタ自動車株式会社
塗布装置
2か月前
トヨタ自動車株式会社
塗工装置
12日前
日本ライナー株式会社
塗装装置
2か月前
株式会社カネカ
塗布装置
2か月前
能美防災株式会社
水噴霧ヘッド
2か月前
個人
スプレー缶高所対応携帯ホルダー
2か月前
ヒット工業株式会社
マスキング具
3か月前
中外炉工業株式会社
塗工装置
4か月前
ブラザー工業株式会社
塗工装置
2か月前
ブラザー工業株式会社
塗工装置
2か月前
ブラザー工業株式会社
塗工装置
2か月前
東レエンジニアリング株式会社
スリットダイ
2か月前
東レエンジニアリング株式会社
粉体吐出装置
2か月前
旭サナック株式会社
粉体塗装装置
3か月前
株式会社アポワテック
床面マーク施工方法
5日前
三菱鉛筆株式会社
多液混合型塗布具
4か月前
AWJ株式会社
ステンシルプレートセット
3か月前
株式会社トーモク
印刷装置および印刷方法
2か月前
個人
散水形態を変更可能な吐水装置
2か月前
トリニティ工業株式会社
回転霧化式塗装機
2か月前
積水ハウス株式会社
接着剤塗布装置
4か月前
ブラザー工業株式会社
静電塗工装置
2か月前
続きを見る
他の特許を見る