TOP
|
特許
|
意匠
|
商標
特許ウォッチ
Twitter
他の特許を見る
公開番号
2025175784
公報種別
公開特許公報(A)
公開日
2025-12-03
出願番号
2024082047
出願日
2024-05-20
発明の名称
搬送装置及び搬送方法
出願人
芝浦機械株式会社
代理人
弁理士法人後藤特許事務所
主分類
B65G
23/16 20060101AFI20251126BHJP(運搬;包装;貯蔵;薄板状または線条材料の取扱い)
要約
【課題】ワークを固定しながら搬送する。
【解決手段】搬送装置1は、搬送方向に沿って複数設けられてワークWを支持するパレット20と、複数設けられてパレット20を各々支持する支持部材11と、支持部材11の軌道を設定する軌道レール12と、を有し、搬送方向に沿ってパレット20を搬送する搬送機構10と、大気圧よりも低い真空圧を供給する真空圧供給機構100と、を備え、支持部材11は、真空圧供給機構100と連通したときに減圧される真空圧室110を有し、パレット20は、支持部材11に支持されたときに真空圧室110から供給される真空圧によってワークWを吸着しながら搬送する。
【選択図】図5
特許請求の範囲
【請求項1】
ワークを搬送方向に搬送する搬送装置であって、
前記搬送方向に沿って複数設けられて前記ワークを支持するパレットと、
複数設けられて前記パレットを各々支持する支持部材と、前記支持部材の軌道を設定する軌道レールと、を有し、前記搬送方向に沿って前記パレットを搬送する搬送機構と、
大気圧よりも低い真空圧を供給する真空圧供給機構と、
を備え、
前記支持部材は、前記真空圧供給機構と連通したときに減圧される真空圧室を有し、
前記パレットは、前記支持部材に支持されたときに前記真空圧室から供給される真空圧によって前記ワークを吸着しながら搬送する、
搬送装置。
続きを表示(約 1,500 文字)
【請求項2】
請求項1に記載の搬送装置であって、
前記軌道レールは、無端状の循環経路を画定し、
前記パレットは、前記循環経路の接線方向に移動可能に設けられ、
前記循環経路に沿って前記支持部材を走行させる駆動機構を更に備える、
搬送装置。
【請求項3】
請求項2に記載の搬送装置であって、
隣り合う前記支持部材の前記真空圧室どうしを連結する連結配管を更に備える、
搬送装置。
【請求項4】
請求項3に記載の搬送装置であって、
前記連結配管は、前記循環経路に沿って環状に配置されるすべての前記支持部材の前記真空圧室を順に連結して真空圧タンクを形成する、
搬送装置。
【請求項5】
請求項2から4のいずれか一つに記載の搬送装置であって、
前記搬送機構は、
前記循環経路における前記搬送方向の一方の端部に設けられる第1スプロケットと、
前記循環経路における前記搬送方向の他方の端部に設けられる第2スプロケットと、
を有し、
前記真空圧供給機構は、前記第1スプロケットと前記第2スプロケットとの少なくともいずれか一方に設けられる、
搬送装置。
【請求項6】
請求項5に記載の搬送装置であって、
前記第1スプロケットは、前記循環経路における前記パレットの前記搬送方向の下流端部に設けられ、
前記駆動機構は、前記第1スプロケットを回転駆動し、
前記真空圧供給機構は、前記第2スプロケットに設けられる、
搬送装置。
【請求項7】
請求項6に記載の搬送装置であって、
前記真空圧供給機構は、前記第2スプロケットと共に回転し、前記第2スプロケットの外周に移動してきた前記支持部材の前記真空圧室に真空圧を供給する、
搬送装置。
【請求項8】
請求項7に記載の搬送装置であって、
前記パレットは、前記ワークを支持する支持面に真空圧を伝達するための連通孔を有する、
搬送装置。
【請求項9】
請求項8に記載の搬送装置であって、
前記パレットは、
前記連通孔を有する多孔質材によって形成されるブロック部と、
前記ブロック部の下面及び側面を閉塞するケース部と、
前記ケース部を高さ方向に貫通するように形成され、前記ブロック部と前記真空圧室とを連通させる貫通孔と、
を有する、
搬送装置。
【請求項10】
請求項8に記載の搬送装置であって、
前記真空圧供給機構は、
真空圧を発生する真空圧発生源と前記支持部材の前記真空圧室とを連通させる第1連通路と、
前記第1連通路に設けられ、前記第2スプロケットの外周に前記支持部材が位置するときにだけ開状態になる第1弁機構と、
を有し、
前記支持部材は、
前記真空圧室と前記第1連通路とを連通させる第2連通路と、
前記第2連通路に設けられ、前記第2スプロケットの外周に前記支持部材が位置するときにだけ開状態になる第2弁機構と、
前記真空圧室と前記連通孔とを連通させる第3連通路と、
前記第3連通路に設けられ、前記パレットを前記支持部材が支持するときにだけ開状態になる第3弁機構と、
を有する、
搬送装置。
(【請求項11】以降は省略されています)
発明の詳細な説明
【技術分野】
【0001】
本発明は、ワークを搬送するための搬送装置及び搬送方法に関する。
続きを表示(約 1,500 文字)
【背景技術】
【0002】
特許文献1には、アンワインダにロール巻きされた基材を巻き出し、複数の搬送ロールに巻回させるようにして搬送して、基材の表面に塗工処理を行う塗工機が開示されている。
【先行技術文献】
【特許文献】
【0003】
特開2005-270787号公報
【発明の概要】
【発明が解決しようとする課題】
【0004】
しかしながら、特許文献1に記載の塗工機では、基材を搬送しながら、基材若しくは基材に載置されたワークに塗工等の加工を行う場合に、ワークが動くおそれがある。
【0005】
本発明は、上記の問題点に鑑みてなされたものであり、ワークを固定しながら搬送することを目的とする。
【課題を解決するための手段】
【0006】
本発明のある態様によれば、ワークを搬送方向に搬送する搬送装置は、前記搬送方向に沿って複数設けられて前記ワークを支持するパレットと、複数設けられて前記パレットを各々支持する支持部材と、前記支持部材の軌道を設定する軌道レールと、を有し、前記搬送方向に沿って前記パレットを搬送する搬送機構と、大気圧よりも低い真空圧を供給する真空圧供給機構と、を備え、前記支持部材は、前記真空圧供給機構と連通したときに減圧される真空圧室を有し、前記パレットは、前記支持部材に支持されたときに前記真空圧室から供給される真空圧によって前記ワークを吸着しながら搬送する。
【0007】
また、本発明のある態様によれば、ワークを搬送方向に搬送する搬送方法では、前記搬送方向に沿って複数設けられ前記ワークを支持するパレットを支持部材で支持しながら軌道レールに沿って搬送し、前記支持部材に前記パレットが支持されたときに前記支持部材の真空圧室から供給される真空圧によって前記パレットが前記ワークを吸着しながら搬送する。
【発明の効果】
【0008】
これらの態様では、搬送方向に沿って複数設けられワークを支持するパレットは、支持部材によって支持されながら軌道レールに沿って搬送される。また、パレットは、支持部材に支持されたときに支持部材の真空圧室から供給される真空圧によってワークを吸着しながら搬送する。したがって、支持部材の真空圧室からパレットを介して供給される真空圧によって、ワークを固定しながら搬送することができる。
【図面の簡単な説明】
【0009】
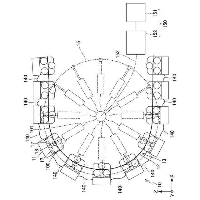
図1は、本発明の実施形態に係る搬送装置の全体構成を示す正面図である。
図2は、図1におけるII部の拡大図である。
図3は、図2におけるIII-III断面図である。
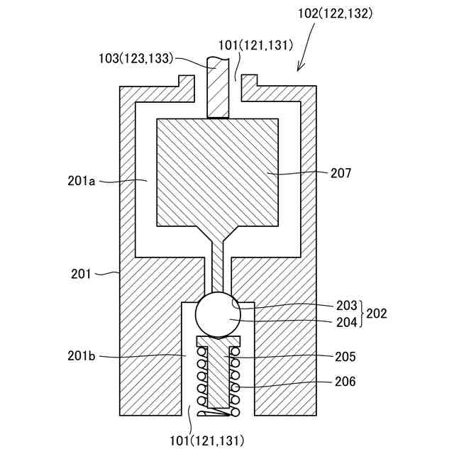
図4は、真空圧供給機構の構成について説明する図である。
図5は、真空圧供給機構による支持部材の真空圧室への真空圧の供給について説明する図である。
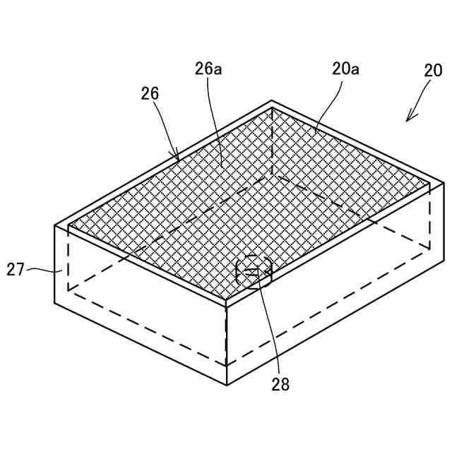
図6は、パレットの構成の一例について示す斜視図である。
図7は、第1から第3弁機構の構成の一例について示す断面図である。
【発明を実施するための形態】
【0010】
以下、図面を参照して、本発明の実施形態に係る搬送装置1について説明する。なお、各図面においては、説明の便宜上、各構成の縮尺を適宜変更しており、必ずしも厳密に図示されたものではない。また、複数の同一の構成については、その一部にのみ符号を付し、その他については符号を省略することがある。
(【0011】以降は省略されています)
この特許をJ-PlatPat(特許庁公式サイト)で参照する
関連特許
個人
束ね具
28日前
個人
収容箱
4か月前
個人
コンベア
6か月前
個人
ゴミ収集器
8か月前
個人
段ボール箱
8か月前
個人
段ボール箱
8か月前
個人
容器
10か月前
個人
宅配システム
8か月前
個人
テープ引出機
28日前
個人
土嚢運搬器具
9か月前
個人
楽ちんハンド
6か月前
個人
角筒状構造体
7か月前
個人
バンド
3か月前
個人
包装容器
2か月前
個人
コード類収納具
9か月前
個人
閉塞装置
11か月前
個人
お薬の締結装置
7か月前
個人
棒状体収容容器
1か月前
個人
廃棄物収容容器
4か月前
株式会社和気
包装用箱
1か月前
個人
蓋閉止構造
5か月前
個人
貯蔵サイロ
8か月前
個人
蓋閉止構造
5か月前
株式会社和気
包装用箱
10か月前
個人
ゴミ処理機
10か月前
株式会社コロナ
梱包材
7か月前
個人
積み重ね用補助具
4か月前
個人
把手付米袋
6か月前
株式会社バンダイ
物品
2か月前
個人
介護用コップ
3か月前
個人
袋入り即席麺
8か月前
株式会社ナベル
検査装置
1か月前
個人
コード折り畳み器具
5か月前
三甲株式会社
容器
1か月前
個人
包装箱
11か月前
三甲株式会社
蓋体
10か月前
続きを見る
他の特許を見る