TOP
|
特許
|
意匠
|
商標
特許ウォッチ
Twitter
他の特許を見る
公開番号
2025175445
公報種別
公開特許公報(A)
公開日
2025-12-03
出願番号
2024081567
出願日
2024-05-20
発明の名称
バスバユニット
出願人
矢崎総業株式会社
代理人
弁理士法人虎ノ門知的財産事務所
主分類
H01R
4/58 20060101AFI20251126BHJP(基本的電気素子)
要約
【課題】適正なシール性を確保することができるバスバユニットを提供する。
【解決手段】バスバユニット1は、第1接続部11、第2接続部12を有するバスバ2と、バスバ2に対して一体成型され、第1空間31と第2空間32とを区画する壁部41の取付孔42に嵌合する円柱部20を有する保持部材3とを備える。円柱部20は、第1空間31側に設けられ、円柱部20の外周面20aと取付孔42の内周面42aとの間をシールする第1シール部材4Aと、第2空間32側に設けられ、円柱部20の外周面20aと取付孔42の内周面42aとの間をシールする第2シール部材4Bとを有する。第1シール部材4A及び第2シール部材4Bは、互いに異種材料により形成される。
【選択図】図3
特許請求の範囲
【請求項1】
導電性を有する金属材料により形成され、軸線方向の両端にそれぞれ設けられた電気的な接続部を有するバスバと、
絶縁性を有する樹脂材料により前記バスバに対して各前記接続部が露出するように一体成型され、一方の前記接続部が露出する第1空間と他方の前記接続部が露出する第2空間とを区画する壁部の取付孔に嵌合する円柱部を有する保持部材と、を備え、
前記円柱部は、
前記軸線方向に対して前記第1空間側に設けられ、前記円柱部の外周面に装着されて該外周面と前記取付孔の内周面との間をシールする第1シール部材と、
前記軸線方向に対して前記第1シール部材と反対側の前記第2空間側に設けられ、前記円柱部の外周面に装着されて該外周面と前記取付孔の内周面との間をシールする第2シール部材と、を有し、
前記第1シール部材及び前記第2シール部材は、
互いに異種材料により形成される
ことを特徴とするバスバユニット。
続きを表示(約 510 文字)
【請求項2】
前記第1シール部材は、
少なくとも油中でのシール性が前記第2シール部材より高く、
前記第2シール部材は、
少なくとも低温下でのシール性が前記第1シール部材より高く、
前記第1シール部材及び前記第2シール部材は、
少なくとも一方が高温下でのシール性を有する
請求項1に記載のバスバユニット。
【請求項3】
前記第1シール部材は、
アクリルゴム、または、フッ素ゴムのいずれか一方で形成され、
前記第2シール部材は、
シリコンゴム、または、エチレンプロピレンゴムのいずれか一方で形成される
請求項1または2に記載のバスバユニット。
【請求項4】
前記第1シール部材は、
水素化ニトリルゴムで形成され、
前記第2シール部材は、
シリコンゴムで形成される
請求項1または2に記載のバスバユニット。
【請求項5】
前記第1空間は、
油脂が収容され、かつ前記第2空間より相対的に高温下に置かれる
請求項1に記載のバスバユニット。
発明の詳細な説明
【技術分野】
【0001】
本発明は、バスバユニットに関する。
続きを表示(約 1,500 文字)
【背景技術】
【0002】
車両に搭載される導電性のバスバユニットには、油脂類に晒される内部空間と外気が流通する外部空間とを区画する壁部に設けられるものがある。このようなバスバユニットには、内部空間と外部空間との間のシール性が要求される(例えば、特許文献1参照)。
【先行技術文献】
【特許文献】
【0003】
特開2022-161647号公報
【発明の概要】
【発明が解決しようとする課題】
【0004】
ところで、上記従来のバスバユニットは、内部空間と外部空間とのシール性を確保するために、シール部材として耐油性のアクリルゴムが使用されるが、低温下ではシール性が低下するおそれがある。一方、シール部材にシリコンゴムを使用する場合、油中では、シール性が低下するおそれがある。このように、バスバユニットは、油中、低温下、及び高温下でのシール性の低下を防ぐ点で改善の余地がある。
【0005】
本発明は、適正なシール性を確保することができるバスバユニットを提供することを目的とする。
【課題を解決するための手段】
【0006】
上記目的を達成するために、本発明に係るバスバユニットは、導電性を有する金属材料により形成され、軸線方向の両端にそれぞれ設けられた電気的な接続部を有するバスバと、絶縁性を有する樹脂材料により前記バスバに対して各前記接続部が露出するように一体成型され、一方の前記接続部が露出する第1空間と他方の前記接続部が露出する第2空間とを区画する壁部の取付孔に嵌合する円柱部を有する保持部材と、を備え、前記円柱部は、前記軸線方向に対して前記第1空間側に設けられ、前記円柱部の外周面に装着されて該外周面と前記取付孔の内周面との間をシールする第1シール部材と、前記軸線方向に対して前記第1シール部材と反対側の前記第2空間側に設けられ、前記円柱部の外周面に装着されて該外周面と前記取付孔の内周面との間をシールする第2シール部材と、を有し、前記第1シール部材及び前記第2シール部材は、互いに異種材料により形成されることを特徴とする。
【発明の効果】
【0007】
本発明に係るバスバユニットによれば、適正なシール性を確保することができる、という効果を奏する。
【図面の簡単な説明】
【0008】
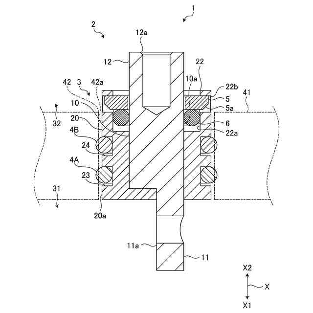
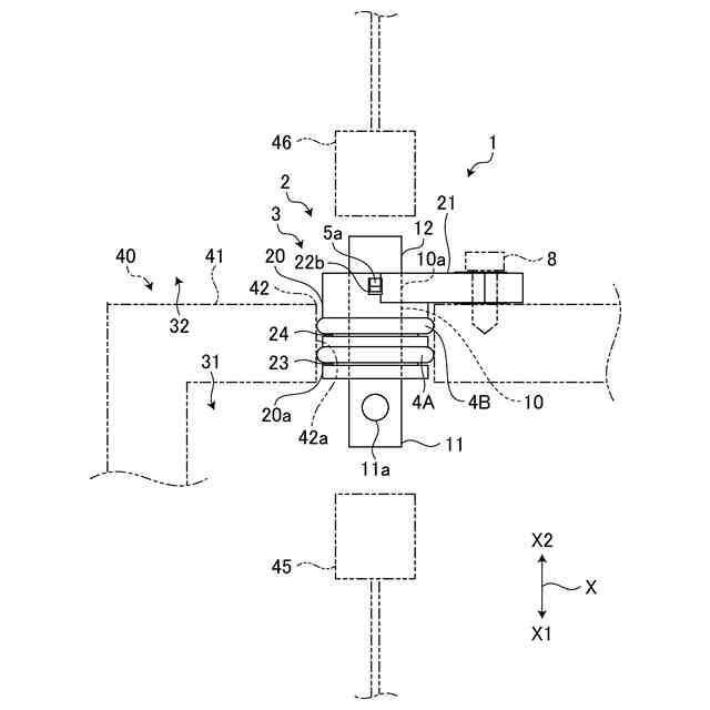
図1は、実施形態に係るバスバユニットの概略構成を示す側面図である。
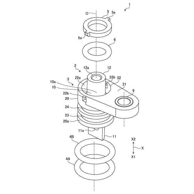
図2は、実施形態に係るバスバユニットの概略構成を示す分解斜視図である。
図3は、実施形態に係るバスバユニットの概略構成を示す断面図である。
【発明を実施するための形態】
【0009】
以下に、本発明に係る実施形態について図面を参照しつつ詳細に説明する。なお、下記実施形態により本発明が限定されるものではない。すなわち、下記実施形態における構成要素には、当業者が容易に想定できるもの、あるいは実質的に同一のものが含まれ、発明の要旨を逸脱しない範囲で、種々の省略、置き換え、変更を行うことができる。
【0010】
[実施形態]
実施形態に係るバスバユニット1は、図1に示すように、箱状に形成された筐体40に組付けられて使用される。筐体40は、例えば、自動車等の車両に搭載され、車両用の変速機やモータ等のように内部に潤滑油などの液状の油脂類が封入されている。筐体40は、例えば鉄やアルミニウムなどの金属材料によって形成されている。バスバユニット1は、筐体40の内外を電気的に接続する中継コネクタである。
(【0011】以降は省略されています)
この特許をJ-PlatPat(特許庁公式サイト)で参照する
関連特許
矢崎総業株式会社
端子
11日前
矢崎総業株式会社
端子
1か月前
矢崎総業株式会社
箱状体
2か月前
矢崎総業株式会社
端子台
6日前
矢崎総業株式会社
照明灯
3か月前
矢崎総業株式会社
箱状体
2か月前
矢崎総業株式会社
端子台
6日前
矢崎総業株式会社
端子台
6日前
矢崎総業株式会社
端子台
6日前
矢崎総業株式会社
箱状体
1か月前
矢崎総業株式会社
箱状体
1か月前
矢崎総業株式会社
箱状体
1か月前
矢崎総業株式会社
報知装置
1か月前
矢崎総業株式会社
給電装置
12日前
矢崎総業株式会社
コネクタ
12日前
矢崎総業株式会社
コネクタ
2か月前
矢崎総業株式会社
照明装置
1か月前
矢崎総業株式会社
コネクタ
2か月前
矢崎総業株式会社
コネクタ
2か月前
矢崎総業株式会社
バスバー
1か月前
矢崎総業株式会社
コネクタ
2か月前
矢崎総業株式会社
照明構造
2か月前
矢崎総業株式会社
コネクタ
3か月前
矢崎総業株式会社
照明装置
1か月前
矢崎総業株式会社
コネクタ
3か月前
矢崎総業株式会社
照明装置
1か月前
矢崎総業株式会社
コネクタ
3か月前
矢崎総業株式会社
電源回路
19日前
矢崎総業株式会社
コネクタ
19日前
矢崎総業株式会社
コネクタ
3か月前
矢崎総業株式会社
コネクタ
19日前
矢崎総業株式会社
照明装置
1か月前
矢崎総業株式会社
コネクタ
3か月前
矢崎総業株式会社
コネクタ
20日前
矢崎総業株式会社
コネクタ
3か月前
矢崎総業株式会社
接続構造
1か月前
続きを見る
他の特許を見る