TOP
|
特許
|
意匠
|
商標
特許ウォッチ
Twitter
他の特許を見る
10個以上の画像は省略されています。
公開番号
2025175408
公報種別
公開特許公報(A)
公開日
2025-12-03
出願番号
2024081505
出願日
2024-05-20
発明の名称
ダンパ装置
出願人
リンナイ株式会社
代理人
弁理士法人ぱてな
主分類
F24F
13/15 20060101AFI20251126BHJP(加熱;レンジ;換気)
要約
【課題】第1ダンパ及び第2ダンパが閉鎖状態にある際における空気の逆流を確実性高く防止可能なダンパ装置を提供する。
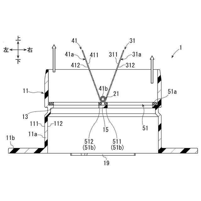
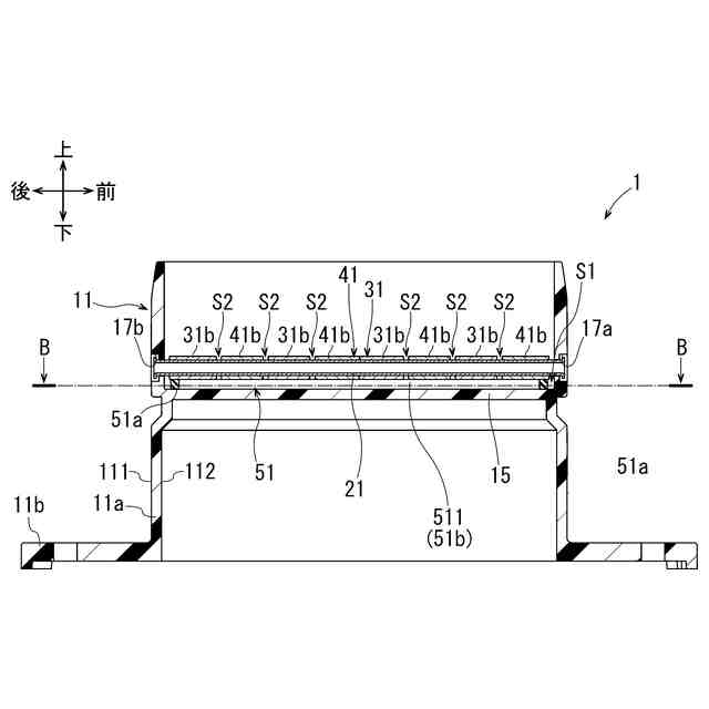
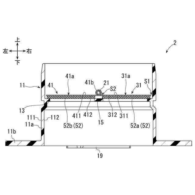
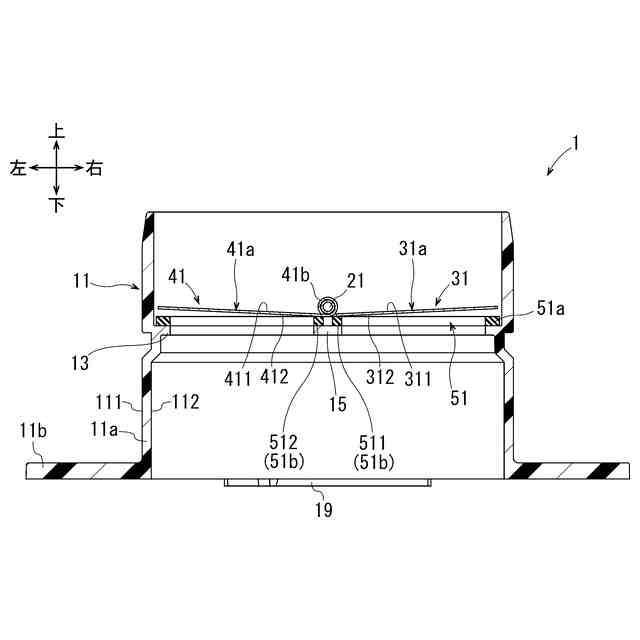
【解決手段】本発明のダンパ装置1は、通気筒体11と、回転軸21と、第1ダンパ31と、第2ダンパ41と、封止部材51とを備えている。通気筒体11には、環状凸部13及び延在部15が形成されている。環状凸部13は、空気の流通方向で回転軸21、第1ダンパ31及び第2ダンパ41の上流に位置しており、通気筒体11の内周面112に沿って環状に延びている。延在部15は、空気の流通方向で回転軸21、第1ダンパ31及び第2ダンパ41の上流に位置しており、回転軸21と平行で第1方向に延びている。封止部材51は、第1ダンパ31及び第2ダンパ41と環状凸部13との間を封止するとともに、第1ダンパ31及び第2ダンパ41と延在部15との間を封止する。
【選択図】図2
特許請求の範囲
【請求項1】
軸方向に筒状に延び、内部を前記軸方向に空気が流通可能な通気筒体と、
前記通気筒体に支持されて前記軸方向に交差する第1方向に延びる回転軸と、
前記通気筒体の内部に配置され、前記回転軸周りで回動することによって前記通気筒体を閉鎖する閉鎖状態と、前記通気筒体を開放する開放状態とに変位可能な第1ダンパ及び第2ダンパと、
前記通気筒体の内部に位置する封止部材とを備え、
前記通気筒体には、前記空気の流通方向で前記回転軸、前記第1ダンパ及び前記第2ダンパの上流に位置し、前記通気筒体の内周面から前記通気筒体の内部に向かって突出するとともに前記内周面に沿って環状に延びる環状凸部と、
前記空気の流通方向で前記回転軸、前記第1ダンパ及び前記第2ダンパの上流に位置し、前記回転軸と平行で前記第1方向に延びる延在部とが形成され、
前記封止部材は、前記第1ダンパ及び前記第2ダンパと前記環状凸部との間を封止するとともに、前記第1ダンパ及び前記第2ダンパと前記延在部との間を封止することを特徴とするダンパ装置。
続きを表示(約 1,900 文字)
【請求項2】
前記封止部材は、前記環状凸部に設けられて前記環状凸部に沿う環状に延び、前記第1ダンパ及び前記第2ダンパと当接することによって前記第1ダンパ及び前記第2ダンパと前記環状凸部との間を封止する環状封止部と、
前記延在部に設けられて前記第1方向に直線状に延び、前記第1ダンパ及び前記第2ダンパと当接することによって前記第1ダンパ及び前記第2ダンパと前記延在部との間を封止する直線封止部とを有している請求項1記載のダンパ装置。
【請求項3】
前記直線封止部は、前記環状封止部よりも先に前記第1ダンパ及び前記第2ダンパと当接可能である請求項2記載のダンパ装置。
【請求項4】
前記直線封止部は、前記第1ダンパと当接することによって前記第1ダンパと前記延在部との間を封止する第1直線封止部と、
前記第1直線封止部から離隔しつつ前記第1直線封止部と平行に延び、前記第2ダンパと当接することによって前記第2ダンパと前記延在部との間を封止する第2直線封止部とからなる請求項2又は3記載のダンパ装置。
【請求項5】
前記第1ダンパは、第1表面と、前記第1表面の反対側であって前記第1表面よりも前記空気の流通方向の上流側に位置する第1裏面と、前記第1表面と前記第1裏面とに接続する第1端面とを有し、
前記第2ダンパは、第2表面と、前記第2表面の反対側であって前記第2表面よりも前記空気の流通方向の上流側に位置する第2裏面と、前記第2表面と前記第2裏面とに接続する第2端面とを有し、
前記環状封止部は、前記第1裏面及び前記第2裏面と当接可能であり、
前記第1直線封止部は前記第1端面と当接可能であり、
前記第2直線封止部は前記第2端面と当接可能である請求項4記載のダンパ装置。
【請求項6】
前記第1ダンパは、第1表面と、前記第1表面の反対側であって前記第1表面よりも前記空気の流通方向の上流側に位置する第1裏面とを有し、
前記第2ダンパは、第2表面と、前記第2表面の反対側であって前記第2表面よりも前記空気の流通方向の上流側に位置する第2裏面とを有し、
前記封止部材は、前記第1裏面に取り付けられた第1封止部材と、前記第2裏面に取り付けられた第2封止部材とからなり、
前記第1封止部材及び前記第2封止部材は、前記環状凸部と当接することによって前記第1ダンパ及び前記第2ダンパと前記環状凸部との間を封止し、前記延在部と当接することによって前記第1ダンパ及び前記第2ダンパと前記延在部との間を封止する請求項1記載のダンパ装置。
【請求項7】
軸方向に筒状に延び、内部を前記軸方向に空気が流通可能な通気筒体と、
前記通気筒体に支持されて前記軸方向に交差する第1方向に延びる回転軸と、
前記通気筒体の内部に配置され、前記回転軸周りで回動することによって前記通気筒体を閉鎖する閉鎖状態と、前記通気筒体を開放する開放状態とに変位可能な第1ダンパ及び第2ダンパと、
前記通気筒体の内部に位置する封止部材とを備え、
前記通気筒体には、前記空気の流通方向で前記回転軸、前記第1ダンパ及び前記第2ダンパの上流に位置し、前記通気筒体の内周面から前記通気筒体の内部に向かって突出するとともに前記内周面に沿って環状に延びる環状凸部が形成され、
前記第1ダンパは、第1表面と、前記第1表面の反対側であって前記第1表面よりも前記空気の流通方向の上流側に位置する第1裏面とを有し、
前記第2ダンパは、第2表面と、前記第2表面の反対側であって前記第2表面よりも前記空気の流通方向の上流側に位置する第2裏面とを有し、
前記封止部材は、前記第1裏面に取り付けられた第1封止体と、前記第2裏面に取り付けられた第2封止体とからなり、
前記第1封止体は、前記環状凸部と当接可能な第1当接部と、前記第2封止体と当接可能な第2当接部とを有し、
前記第2封止体は、前記環状凸部と当接可能な第3当接部と、前記第2当接部と当接可能な第4当接部とを有し、
前記第1当接部及び前記第3当接部は、前記環状凸部と当接して前記第1ダンパ及び前記第2ダンパと前記環状凸部との間を封止し、
前記第2当接部及び前記第4当接部は、互いに当接して第1ダンパと前記第2ダンパとの間を封止することを特徴とするダンパ装置。
【請求項8】
前記通気筒体は、被乾燥物の乾燥を行う乾燥機の排気口に接続されている請求項1又は7記載のダンパ装置。
発明の詳細な説明
【技術分野】
【0001】
本発明はダンパ装置に関する。
続きを表示(約 2,000 文字)
【背景技術】
【0002】
特許文献1に従来のダンパ装置が開示されている。このダンパ装置は、通気筒体と、回転軸と、第1ダンパと、第2ダンパと、封止部材とを備えている。通気筒体は略楕円の筒状に形成されており、軸方向に延びている。通気筒体の内部にはフレームが配置されている。フレームは、通気筒体の内周面と整合する略楕円の円環状に形成されている。回転軸はフレームに支持されており、通気筒体の軸方向に直交して延びている。
【0003】
第1ダンパ及び第2ダンパは、それぞれ通気筒体の内部に配置されている。第1ダンパ及び第2ダンパは、回転軸周りで回動することによって通気筒体を閉鎖する閉鎖状態と、通気筒体を開放する開放状態とに変位可能である。封止部材は、第1ダンパと第2ダンパとにそれぞれ取り付けられており、通気筒体の内部に位置している。
【0004】
このダンパ装置では、通気筒体が空調機のダクトに接続されている。そして、このダクトでは、ダンパ装置において第1ダンパ及び第2ダンパが閉鎖状態から開放状態に変位することにより、空気が通気筒体の内部を通気筒体の軸方向で下流側に向かって流通する。また、このダクトでは、ダンパ装置において第1ダンパ及び第2ダンパが閉鎖状態に変位することにより、空気が通気筒体の内部を下流側に向かって流通、すなわち空気が逆流することを防止している。
【0005】
ここで、このダンパ装置では、第1ダンパ及び第2ダンパが開放状態と閉鎖状態とに変位する際、第1ダンパ及び第2ダンパと通気筒体と干渉しないように、通気筒体の内周面と、第1ダンパ及び第2ダンパとの間に隙間が存在している。そして、このダンパ装置では、第1ダンパ及び第2ダンパが閉鎖状態に変位することによって封止部材がフレームと当接する。こうして、このダンパ装置では、第1ダンパ及び第2ダンパとフレームとの間が封止され、内周面と閉鎖状態にある第1ダンパ及び第2ダンパとの隙間を空気が流通し難くなっている。
【先行技術文献】
【特許文献】
【0006】
特開2005-180747号公報
【発明の概要】
【発明が解決しようとする課題】
【0007】
ところで、上記従来のダンパ装置のように、第1ダンパ及び第2ダンパが閉鎖状態と開放状態とに変位する構成では、第1ダンパと第2ダンパとの干渉を防止するため、第1ダンパと第2ダンパとの間にも不可避的に隙間が存在する。このため、この種のダンパ装置では、たとえ第1ダンパ及び第2ダンパが閉鎖状態となっていても、第1ダンパと第2ダンパとの隙間を空気が流通し得る。これにより、このダンパ装置では、第1ダンパ及び第2ダンパが閉鎖状態であっても空気が逆流することを十分に防止し得ない。
【0008】
本発明は、上記従来の実情に鑑みてなされたものであって、第1ダンパ及び第2ダンパが閉鎖状態にある際の空気の逆流を確実性高く防止可能なダンパ装置を提供することを解決すべき課題としている。
【課題を解決するための手段】
【0009】
本発明の第1のダンパ装置は、軸方向に筒状に延び、内部を前記軸方向に空気が流通可能な通気筒体と、
前記通気筒体に支持されて前記軸方向に交差する第1方向に延びる回転軸と、
前記通気筒体の内部に配置され、前記回転軸周りで回動することによって前記通気筒体を閉鎖する閉鎖状態と、前記通気筒体を開放する開放状態とに変位可能な第1ダンパ及び第2ダンパと、
前記通気筒体の内部に位置する封止部材とを備え、
前記通気筒体には、前記空気の流通方向で前記回転軸、前記第1ダンパ及び前記第2ダンパの上流に位置し、前記通気筒体の内周面から前記通気筒体の内部に向かって突出するとともに前記内周面に沿って環状に延びる環状凸部と、
前記空気の流通方向で前記回転軸、前記第1ダンパ及び前記第2ダンパの上流に位置し、前記回転軸と平行で前記第1方向に延びる延在部とが形成され、
前記封止部材は、前記第1ダンパ及び前記第2ダンパと前記環状凸部との間を封止するとともに、前記第1ダンパ及び前記第2ダンパと前記延在部との間を封止することを特徴とする。
【0010】
本発明の第1のダンパ装置では、通気筒体に環状凸部と延在部とが形成されている。そして、このダンパ装置では、封止部材は、第1ダンパ及び第2ダンパと環状凸部との間を封止するとともに、第1ダンパ及び第2ダンパと延在部との間を封止する。これにより、このダンパ装置では、通気筒体の内周面と、閉鎖状態にある第1ダンパ及び第2ダンパとの隙間を空気が流通することを防止できるとともに、閉鎖状態にある第1ダンパと第2ダンパとの隙間を空気が流通することも防止できる。
(【0011】以降は省略されています)
この特許をJ-PlatPat(特許庁公式サイト)で参照する
関連特許
リンナイ株式会社
加熱調理器
2日前
リンナイ株式会社
ダンパ装置
4日前
リンナイ株式会社
加熱調理器
9日前
リンナイ株式会社
ガスマニホールド
9日前
個人
集熱器具
1か月前
株式会社トヨトミ
五徳
1か月前
株式会社コロナ
空調装置
1か月前
株式会社コロナ
加湿装置
2か月前
株式会社コロナ
空調装置
1か月前
株式会社コロナ
空調装置
3か月前
株式会社コロナ
空調装置
2か月前
個人
油ハネ防止カーテン
1か月前
株式会社コロナ
空調装置
1か月前
株式会社コロナ
空調装置
2か月前
個人
UFO型空気清浄機
18日前
株式会社コロナ
給湯装置
4か月前
株式会社コロナ
風呂給湯機
2か月前
株式会社コロナ
空気調和機
3か月前
個人
住宅換気空調システム
3か月前
株式会社コロナ
空気調和機
4か月前
個人
太陽光パネル傾斜装置
1か月前
株式会社コロナ
直圧式給湯機
3か月前
株式会社コロナ
貯湯式給湯機
2か月前
株式会社コロナ
貯湯式給湯機
2か月前
株式会社コロナ
暖房システム
2か月前
株式会社コロナ
温水暖房装置
1か月前
株式会社コロナ
直圧式給湯機
5か月前
株式会社パロマ
給湯器
5か月前
ホーコス株式会社
排気フード
4か月前
個人
シンプルクーラー
1か月前
三菱電機株式会社
換気扇
10日前
三菱電機株式会社
換気扇
1か月前
三菱電機株式会社
換気扇
1か月前
三菱電機株式会社
換気扇
1か月前
ホーコス株式会社
換気扇取付枠
2か月前
株式会社コロナ
輻射式冷房装置
3か月前
続きを見る
他の特許を見る