TOP
|
特許
|
意匠
|
商標
特許ウォッチ
Twitter
他の特許を見る
公開番号
2025175289
公報種別
公開特許公報(A)
公開日
2025-12-01
出願番号
2025143474,2021183681
出願日
2025-08-29,2021-11-10
発明の名称
下地基板及び単結晶ダイヤモンド積層基板並びにそれらの製造方法
出願人
信越化学工業株式会社
代理人
個人
,
個人
,
個人
主分類
C30B
29/04 20060101AFI20251121BHJP(結晶成長)
要約
【課題】電子・磁気デバイスに適用可能な、大面積(大口径)であり、高結晶性でヒロック、異常成長粒子、転位欠陥等が少なく、高純度かつ低応力の、高品質な単結晶ダイヤモンド層を製膜することが可能な下地基板の製造方法を提供する。
【解決手段】 単結晶ダイヤモンド積層基板用の下地基板の製造方法であって、初期基板を準備する工程と、前記初期基板上に少なくとも単結晶Ir膜又は単結晶MgO膜を含む単層又は積層膜からなる中間層を形成する工程とを有し、前記中間層を構成する単結晶Ir膜又は単結晶MgO膜の形成を、ミストCVD法を用いて行う下地基板の製造方法。
【選択図】 図1
特許請求の範囲
【請求項1】
単結晶ダイヤモンド積層基板用の下地基板の製造方法であって、
初期基板を準備する工程と、
前記初期基板上に少なくとも単結晶MgO膜を含む単層又は積層膜からなる中間層を形成する工程と
を有し、
前記中間層を構成する単結晶MgO膜の形成を、ミストCVD法を用いて行うことを特徴とする下地基板の製造方法。
続きを表示(約 1,200 文字)
【請求項2】
前記初期基板を、単結晶Si基板、単結晶α-Al
2
O
3
基板、単結晶Fe基板、単結晶Ni基板、及び、単結晶Cu基板のいずれかとすることを特徴とする請求項1に記載の下地基板の製造方法。
【請求項3】
前記中間層を、さらに、単結晶イットリア安定化ジルコニア膜、単結晶SrTiO
3
膜及び単結晶Ru膜の少なくともいずれか1つを含む積層膜とすることを特徴とする請求項1又は請求項2に記載の下地基板の製造方法。
【請求項4】
前記初期基板を、Si{111}基板、α-Al
2
O
3
{0001}基板、Fe{111}基板、Ni{111}基板、及び、Cu{111}基板のいずれかとし、
前記中間層を、少なくともMgO{111}膜を含むものとすることを特徴とする請求項1から請求項3のいずれか1項に記載の下地基板の製造方法。
【請求項5】
前記中間層を、さらに、イットリア安定化ジルコニア{111}膜、SrTiO
3
{111}膜、Ru{0001}の少なくともいずれか1つを含むものとすることを特徴とする請求項4に記載の下地基板の製造方法。
【請求項6】
前記初期基板の最表面を、立方晶面方位{111}に対して、結晶軸<-1-12>方向にオフ角を付けたものとする、又は、六方晶面方位{0001}に対して、結晶軸<10-10>若しくは<11-20>方向にオフ角を付けたものとすることを特徴とする請求項4又は請求項5に記載の下地基板の製造方法。
【請求項7】
前記初期基板の最表面のオフ角を、+0.5~+15.0°又は-0.5~-15.0°の範囲とすることを特徴とする請求項6に記載の下地基板の製造方法。
【請求項8】
前記中間層の最表面を、立方晶面方位{111}に対して、結晶軸<-1-12>方向にオフ角を付けたものとする、又は、六方晶面方位{0001}に対して、結晶軸<10-10>若しくは<11-20>方向にオフ角を付けたものとすることを特徴とする請求項4から請求項7のいずれか1項に記載の下地基板の製造方法。
【請求項9】
前記中間層の最表面のオフ角を、+0.5~+15.0°又は-0.5~-15.0°の範囲とすることを特徴とする請求項8に記載の下地基板の製造方法。
【請求項10】
前記初期基板を、Si{001}基板、α-Al
2
O
3
{11-20}基板、Fe{001}基板、Ni{001}基板、及び、Cu{001}基板のいずれかとし、
前記中間層を、少なくともMgO{001}膜を含むものとすることを特徴とする請求項1から請求項3のいずれか1項に記載の下地基板の製造方法。
(【請求項11】以降は省略されています)
発明の詳細な説明
【技術分野】
【0001】
本発明は、下地基板及び単結晶ダイヤモンド積層基板並びにそれらの製造方法に関する。
続きを表示(約 1,500 文字)
【背景技術】
【0002】
ダイヤモンドは、室温で5.47eVという広いバンドギャップを持ち、ワイドバンドギャップ半導体として知られている。
【0003】
半導体の中でも、ダイヤモンドは、絶縁破壊電界強度が10MV/cmと非常に高く、高電圧動作が可能である。また、既知の物質として最高の熱伝導率を有していることから放熱性にも優れている。さらに、キャリア移動度や飽和ドリフト速度が非常に大きいため、高速デバイスとして適している。
【0004】
そのため、ダイヤモンドは、高周波・大電力デバイスとしての性能を示すJohnson性能指数を、炭化ケイ素や窒化ガリウムといった半導体と比較しても最も高い値を示し、究極の半導体と言われている。
【先行技術文献】
【非特許文献】
【0005】
H.Yamada,Appl.Phys.Lett.104,102110(2014).
【発明の概要】
【発明が解決しようとする課題】
【0006】
上述のように、ダイヤモンドは、半導体材料や電子・磁気デバイス用材料としての実用化が期待されており、大面積かつ高品質なダイヤモンド基板の供給が望まれている。
【0007】
現在、ダイヤモンド半導体作製用の単結晶ダイヤモンドは、高温高圧法(HPHT)で合成されたIb型と呼ばれるダイヤモンドがほとんどである。このIb型ダイヤモンドは、窒素不純物を多く含み、かつ最大でも8mm角程度のサイズ迄しか得られず、実用性は低い。また、HPHT基板(HPHT法により合成されたダイヤモンド基板)を多数個並べて繋ぎあわせるモザイク法と呼ばれるものも提案させている(非特許文献1)が、継目の不完全性の問題は残されている。
【0008】
それに対して、気相合成(Chemical Vapor Deposition:CVD)法では、多結晶ダイヤモンドならば、高純度に6インチ(150mm)径程度の大面積なダイヤモンドが得られるものの、通常電子デバイスに適する、単結晶化が困難であった。これは、ダイヤモンドを形成するための下地基板として、ダイヤモンドとの間の格子定数及び線膨張係数の差が小さい適当な材料の組み合わせが実現されず、例えば、ダイヤモンドと単結晶Siとの格子定数の差は、34.3%にもなるため、下地基板表面にダイヤモンドをヘテロエピタキシャル成長させることが非常に困難である。
【0009】
本発明は、上記問題を解決するためになされたものであり、電子・磁気デバイスに適用可能な、大面積(大口径)であり、高結晶性でヒロック、異常成長粒子、転位欠陥等が少なく、高純度かつ低応力の、高品質な単結晶ダイヤモンド層を製膜することが可能な下地基板及びその製造方法を提供することを目的とする。また、そのような単結晶ダイヤモンド層を有する単結晶ダイヤモンド積層基板及び単結晶ダイヤモンド自立構造基板の製造方法を提供することも目的とする。
【課題を解決するための手段】
【0010】
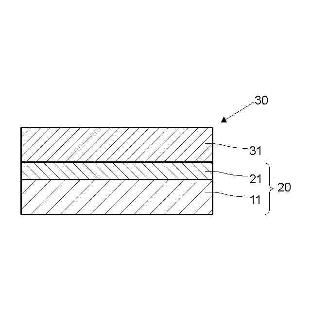
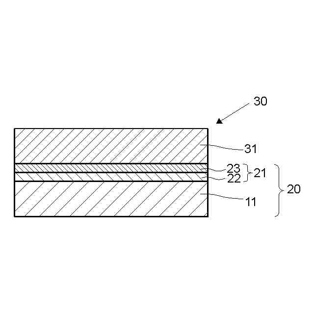
上記目的を解決するために、本発明は、単結晶ダイヤモンド積層基板用の下地基板の製造方法であって、初期基板を準備する工程と、前記初期基板上に少なくとも単結晶Ir膜又は単結晶MgO膜を含む単層又は積層膜からなる中間層を形成する工程とを有し、前記中間層を構成する単結晶Ir膜又は単結晶MgO膜の形成を、ミストCVD法を用いて行うことを特徴とする下地基板の製造方法を提供する。
(【0011】以降は省略されています)
特許ウォッチbot のツイートを見る
この特許をJ-PlatPat(特許庁公式サイト)で参照する
関連特許
信越化学工業株式会社
硬化性樹脂組成物
5日前
信越化学工業株式会社
炭化金属被覆材料
13日前
信越化学工業株式会社
コーティング剤組成物
4日前
信越化学工業株式会社
熱軟化性熱伝導性組成物
5日前
信越化学工業株式会社
光ファイバ母材の製造方法
1か月前
信越化学工業株式会社
ガラスクロス及びその製造方法
5日前
信越化学工業株式会社
オルガノポリシロキサンを含む冷媒
18日前
信越化学工業株式会社
光ファイバ用多孔質母材の製造装置
1か月前
信越化学工業株式会社
オルガノポリシロキサンを含む冷媒
18日前
信越化学工業株式会社
オルガノポリシロキサンを含む冷媒
18日前
信越化学工業株式会社
縮合硬化型熱伝導性シリコーン組成物
4日前
信越化学工業株式会社
熱伝導性シリコーン組成物及びその硬化物
20日前
信越化学工業株式会社
室温硬化性オルガノポリシロキサン組成物
1か月前
信越化学工業株式会社
熱伝導性シリコーン組成物及びその硬化物
1か月前
信越化学工業株式会社
超音波カップリング材複合膜及び超音波検査方法
12日前
信越化学工業株式会社
オルガノポリシロキサン及びこれを含有する化粧料
25日前
信越化学工業株式会社
含窒素多官能オルガノキシシラン化合物の製造方法
20日前
信越化学工業株式会社
付加硬化型シリコーン粘着剤組成物およびその硬化物
5日前
信越化学工業株式会社
生体電極組成物、生体電極、及び生体電極の製造方法
4日前
信越化学工業株式会社
フォトマスクブランク、及びフォトマスクの製造方法
4日前
信越化学工業株式会社
キーパッド作製用シリコーンゴム組成物及びキーパッド
1か月前
信越化学工業株式会社
オルガノポリシロキサン及び光硬化性コーティング組成物
5日前
信越化学工業株式会社
オニウム塩、化学増幅レジスト組成物及びパターン形成方法
27日前
信越化学工業株式会社
化学増幅ポジ型レジスト組成物及びレジストパターン形成方法
4日前
信越化学工業株式会社
付加硬化型シリコーン組成物、その硬化物、及び光半導体装置
4日前
信越化学工業株式会社
密着膜形成用組成物、パターン形成方法、及び密着膜の形成方法
18日前
信越化学工業株式会社
反射型フォトマスクブランク、及び反射型フォトマスクの製造方法
1か月前
信越化学工業株式会社
徐放性フェロモン製剤
18日前
信越化学工業株式会社
金属含有膜形成用化合物、金属含有膜形成用組成物、パターン形成方法
12日前
信越化学工業株式会社
有機膜形成用組成物、有機膜形成方法、パターン形成方法、及び重合体
27日前
信越化学工業株式会社
徐放性フェロモン製剤
6日前
信越化学工業株式会社
ヒドロキシプロピルメチルセルロースアセテートサクシネートの製造方法
4日前
信越化学工業株式会社
量子ドット体、量子ドット組成物及び波長変換材料並びにそれらの製造方法
5日前
信越化学工業株式会社
ミラブル型フロロシリコーンゴム組成物及び輸送機のエンジン周辺用ゴム部品
25日前
信越化学工業株式会社
ヒドロキシプロピルメチルセルロースアセテートサクシネート及びその製造方法
4日前
信越化学工業株式会社
合成石英ガラス基板及びその製造方法、並びに光学素子パッケージ封止用窓材の製造方法
18日前
続きを見る
他の特許を見る