TOP
|
特許
|
意匠
|
商標
特許ウォッチ
Twitter
他の特許を見る
10個以上の画像は省略されています。
公開番号
2025175136
公報種別
公開特許公報(A)
公開日
2025-11-28
出願番号
2025157748,2024022504
出願日
2025-09-24,2024-02-19
発明の名称
アンテナパッケージ及びアンテナパッケージの製造方法
出願人
トロン フューチャー テック インコーポレイテッド
代理人
個人
,
個人
,
個人
,
個人
,
個人
主分類
H01Q
23/00 20060101AFI20251120BHJP(基本的電気素子)
要約
【課題】アンテナパッケージを提供すること。
【解決手段】アンテナパッケージは、ガラス基板、複数のアンテナ、多層回路構造及び複数の無線周波数チップを含む。ガラス基板は、第1の表面及び第2の表面を有する。複数のアンテナは、ガラス基板の第1の表面に配置される。多層回路構造は、第1の表面及び第2の表面を有する。複数の無線周波数チップは、多層回路構造の第1の表面に配置される。ガラス基板の第2の表面は、多層回路構造の第2の表面に接着される。
【選択図】図2
特許請求の範囲
【請求項1】
第1の表面及び第2の表面を有するガラス基板と、
前記ガラス基板の第1の表面に配置された複数のアンテナと、
第1の表面及び第2の表面を有する多層回路構造と、
前記多層回路構造の第1の表面に配置された複数の無線周波数(RF)チップと、を含み、
前記ガラス基板の第2の表面は、前記多層回路構造の第2の表面に接着されている、アンテナパッケージ。
続きを表示(約 900 文字)
【請求項2】
前記多層回路構造は、
コアと、
前記コアと前記多層回路構造の第1の表面との間に配置された第1の数の第1の相互接続層と、
前記コアと前記多層回路構造の第2の表面との間に配置された第2の数の第2の相互接続層と、を含む、請求項1に記載のアンテナパッケージ。
【請求項3】
前記第1の相互接続層のそれぞれの厚さは、50μmよりも大きい、請求項2に記載のアンテナパッケージ。
【請求項4】
前記第1の相互接続層は、前記複数のRFチップに結合された前記多層回路構造の第1の表面に複数の給電線を有し、
前記第2の相互接続層は、前記多層回路構造の第2の表面にグランドプレーンを有する、請求項2に記載のアンテナパッケージ。
【請求項5】
前記第1の数と前記第2の数との合計は、6以下である、請求項2に記載のアンテナパッケージ。
【請求項6】
前記ガラス基板の厚さは、300μm~1000μmである、請求項1に記載のアンテナパッケージ。
【請求項7】
前記多層回路構造の第2の表面に塗布され、前記ガラス基板を取り囲む第1の接着材料と、前記ガラス基板の第2の表面と前記多層回路構造の第2の表面との間に塗布された第2の接着材料との少なくとも1つを更に含む、請求項1に記載のアンテナパッケージ。
【請求項8】
前記複数のアンテナは、金ペースト、銀ペースト及び銅ペーストのうちの少なくとも1つを使用することにより前記ガラス基板の第1の表面に印刷されている、請求項7に記載のアンテナパッケージ。
【請求項9】
前記多層回路構造の第1の表面に前記RFチップを被覆する成形層を更に含み、前記成形層は、前記RFチップに対して連続的な封止を形成する、請求項1に記載のアンテナパッケージ。
【請求項10】
前記多層回路構造の誘電体部は、プリプレグ材料、FR―4又はFR―5を含む、請求項1に記載のアンテナパッケージ。
(【請求項11】以降は省略されています)
発明の詳細な説明
【技術分野】
【0001】
関連出願の相互参照
本願は、2023年2月21日に出願された先の出願である米国仮出願第63/486,103号及び2023年5月15日に出願された米国特許出願第18/317,304号の優先権を主張するものであり、これらの全体は参照により本明細書に組み込まれるものとする。
続きを表示(約 2,500 文字)
【0002】
技術分野
本開示は、アンテナパッケージに関し、特に大規模アンテナアレイを含むアンテナパッケージに関する。
【背景技術】
【0003】
現代の無線通信技術では、衛星通信は、従来の地上通信技術に比べて、信号カバレッジがより良好で、帯域幅がより広いため、競争力が高まっている。衛星通信を実現するには、ビームフォーミング及び高い電力利得を実現できる大規模フェーズドアレイ(phased-array)アンテナが求められている。しかしながら、大規模フェーズドアレイアンテナは、従来の非アレイアンテナよりもはるかに大きな基板面積を必要とする。したがって、製造プロセスは、困難でコストがかかる。また、アレイアンテナを対応する無線周波数(radio frequency、RF)チップとともにパッケージ内に収容することは、大量生産をより困難にする。したがって、新しいアンテナパッケージを開発して、歩留まりを高め、製造コストを下げる必要がある。
【発明の概要】
【課題を解決するための手段】
【0004】
本開示の一態様は、アンテナパッケージを提供する。このアンテナパッケージは、ガラス基板、複数のアンテナ、多層回路構造及び複数の無線周波数チップを含む。ガラス基板は、第1の表面及び第2の表面を有し、アンテナは、ガラス基板の第1の表面に配置される。多層回路構造は、第1の表面及び第2の表面を有し、複数の無線周波数(RF)チップは、多層回路構造の第1の表面に配置される。ガラス基板の第2の表面は、多層回路構造の第2の表面に接着される。
【0005】
本開示の別の態様は、アンテナパッケージの製造方法を提供する。この方法は、第1の表面及び第2の表面を有するガラス基板を用意するステップと、第1の表面及び第2の表面を有する多層回路構造を用意するステップと、ガラス基板の第2の表面を多層回路構造の第2の表面に接着するステップと、複数のアンテナをガラス基板の第1の表面に配置するステップと、を含む。
【図面の簡単な説明】
【0006】
図面に関連して考慮すると、詳細な説明及び特許請求の範囲を参照することにより本開示をより完全に理解することができ、図面全体において、同様の参照番号は類似の要素を示す。
【0007】
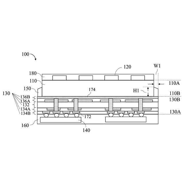
一比較実施形態に係るアンテナパッケージを示す。
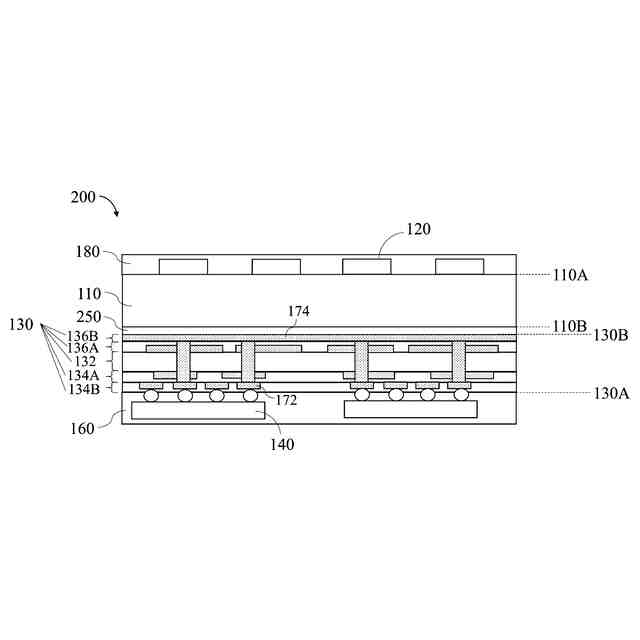
別の比較実施形態に係るアンテナパッケージを示す。
本開示の一実施形態に係るアンテナパッケージを示す。
本開示の一実施形態に係る図2のアンテナパッケージの上面図を示す。
本開示の別の実施形態に係るアンテナパッケージを示す。
本開示の一実施形態に係るアンテナパッケージの製造方法のフローチャートを示す。
図5中の方法に係る図2中のアンテナパッケージの製造プロセスの各段階を示す断面図である。
図5中の方法に係る図2中のアンテナパッケージの製造プロセスの各段階を示す断面図である。
図5中の方法に係る図2中のアンテナパッケージの製造プロセスの各段階を示す断面図である。
図5中の方法に係る図2中のアンテナパッケージの製造プロセスの各段階を示す断面図である。
図5中の方法に係る図2中のアンテナパッケージの製造プロセスの各段階を示す断面図である。
図5中の方法に係る図2中のアンテナパッケージの製造プロセスの各段階を示す断面図である。
図5中の方法に係る図2中のアンテナパッケージの製造プロセスの各段階を示す断面図である。
【発明を実施するための形態】
【0008】
以下の開示は、提供された主題の異なる特徴を実施するための多くの異なる実施形態又は実施例を提供する。以下、本開示を簡略化するために、要素及び配置の特定の実施例を説明する。当然のことながら、これらは、単なる実施例であり、限定を意図するものではない。例えば、以下の説明における、第2の特徴の上方又はその上での第1の特徴の形成は、第1の特徴と第2の特徴が直接接触して形成される実施形態を含んでもよく、第1の特徴と第2の特徴が直接接触しないように、第1の特徴と第2の特徴との間に追加の特徴が形成される実施形態を含んでもよい。また、本開示は、様々な実施例において参照数字及び/又は符号を繰り返すことがある。この繰り返しは、簡略化及び明瞭化を目的とするものであり、それ自体では、説明した様々な実施形態及び/又は構成の間の関係を示すものではない。
【0009】
更に、「下(beneath)」、「下方(below)」、「下部(lower)」、「上方(above)」、「上部(upper)」、「上に(on)」などの空間的に相対的な用語は、図面に示すように、ある要素又は特徴と別の要素又は特徴との関係を説明するための記述を容易にするために本明細書で使用されることがある。空間的に相対的な用語は、図面に描かれている配向に加えて、使用中又は動作中の装置の異なる配向を包含することを意図する。装置は、他の方法で配向されてもよく(90度回転又は他の方向の配向)、本明細書で使用される空間的に相対的な記述語も同様にそれに応じて解釈されてもよい。
【0010】
本明細書で使用される場合、「第1の」、「第2の」及び「第3の」などの用語は、様々な要素、コンポーネント、領域、層及び/又はセクションを説明し、これらの要素、コンポーネント、領域、層及び/又はセクションは、これらの用語によって限定されるべきではない。これらの用語は、ある要素、コンポーネント、領域、層又はセクションを別の要素、コンポーネント、領域、層又はセクションと区別するためにのみ使用される。本明細書で使用される場合、「第1の」、「第2の」及び「第3の」などの用語は、文脈によって明確に示されない限り、順序又はオーダーを意味するものではない。
(【0011】以降は省略されています)
この特許をJ-PlatPat(特許庁公式サイト)で参照する
関連特許
東ソー株式会社
絶縁電線
1か月前
APB株式会社
蓄電セル
1か月前
個人
フレキシブル電気化学素子
1か月前
ローム株式会社
半導体装置
1か月前
日新イオン機器株式会社
イオン源
1か月前
マクセル株式会社
電源装置
1か月前
株式会社東芝
端子台
1か月前
株式会社ユーシン
操作装置
1か月前
株式会社GSユアサ
蓄電装置
1か月前
株式会社ホロン
冷陰極電子源
1か月前
三菱電機株式会社
回路遮断器
19日前
株式会社GSユアサ
蓄電装置
1か月前
太陽誘電株式会社
コイル部品
1か月前
株式会社GSユアサ
蓄電装置
25日前
富士電機株式会社
電磁接触器
11日前
株式会社GSユアサ
蓄電設備
1か月前
株式会社GSユアサ
蓄電設備
1か月前
株式会社GSユアサ
蓄電装置
11日前
トヨタ自動車株式会社
蓄電装置
3日前
ホシデン株式会社
複合コネクタ
5日前
日本特殊陶業株式会社
保持装置
1か月前
大電株式会社
電線又はケーブル
3日前
日本特殊陶業株式会社
保持装置
24日前
北道電設株式会社
配電具カバー
1か月前
トヨタ自動車株式会社
蓄電装置
1か月前
トヨタ自動車株式会社
バッテリ
1か月前
トヨタ自動車株式会社
蓄電装置
1か月前
トヨタ自動車株式会社
冷却構造
1か月前
サクサ株式会社
電池の固定構造
1か月前
日新イオン機器株式会社
基板処理装置
1か月前
ベストテック株式会社
装置支持具
1か月前
トヨタ自動車株式会社
電池パック
1か月前
住友電装株式会社
コネクタ
11日前
株式会社トクヤマ
シリコンエッチング液
1か月前
トヨタ自動車株式会社
電池パック
1か月前
甲神電機株式会社
変流器及び零相変流器
26日前
続きを見る
他の特許を見る