TOP
|
特許
|
意匠
|
商標
特許ウォッチ
Twitter
他の特許を見る
10個以上の画像は省略されています。
公開番号
2025175080
公報種別
公開特許公報(A)
公開日
2025-11-28
出願番号
2025148867,2024090462
出願日
2025-09-09,2013-06-25
発明の名称
半導体装置
出願人
株式会社半導体エネルギー研究所
代理人
主分類
H10D
30/67 20250101AFI20251120BHJP()
要約
【課題】酸化物半導体膜上に接してソース電極層及びドレイン電極層を形成する場合、半
導体装置の形状不良の発生を抑えるトランジスタを提供する。また、ソース電極層及びド
レイン電極層上に形成するゲート絶縁膜の膜厚や酸化物半導体膜の膜厚が小さくても段切
れが生じにくい断面形状を有するソース電極層及びドレイン電極層を形成する。
【解決手段】絶縁表面上に結晶構造を有する酸化物半導体膜を形成し、酸化物半導体膜の
一部上に接して電極層を形成し、濃度が0.0001%より高く0.25%以下の希フッ
酸に曝すことで酸化物半導体膜の露出部の膜厚を小さくする。
【選択図】図1
特許請求の範囲
【請求項1】
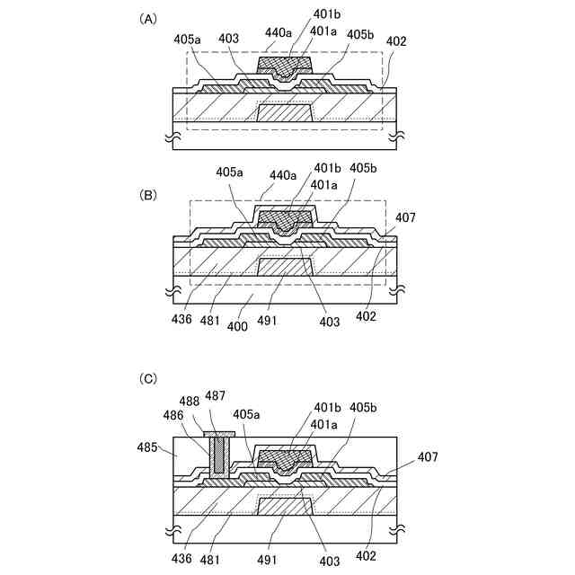
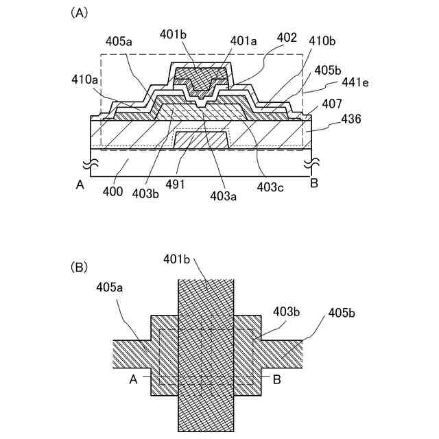
酸化物半導体層と、
前記酸化物半導体層の上方に位置する領域を有する第1の導電層と、
前記酸化物半導体層の上方に位置する領域を有する第2の導電層と、
前記第1の導電層の上方に位置する領域を有する第1の絶縁層と、
前記第2の導電層の上方に位置する領域を有する第2の絶縁層と、
前記第1の絶縁層の上方に位置する領域、前記酸化物半導体層の上方に位置する領域、及び前記第2の絶縁層の上方に位置する領域を有する第3の絶縁層と、を有し、
前記第1の導電層は、トランジスタのソース電極又はドレイン電極の一方としての機能を有し、
前記第2の導電層は、前記トランジスタのソース電極又はドレイン電極の他方としての機能を有し、
前記酸化物半導体層は、前記トランジスタのチャネル形成領域を有し、
前記酸化物半導体層は、第1の領域と、第2の領域と、前記第1の領域と前記第2の領域との間に位置する第3の領域と、を有し、
前記第1の領域は、前記第1の導電層と重なり、
前記第2の領域は、前記第2の導電層と重なり、
前記第3の領域は、前記第1の導電層と重ならず、
前記第3の領域は、前記第2の導電層と重ならず、
前記第3の領域の膜厚は、前記第1の領域の膜厚よりも小さく、且つ、前記第2の領域の膜厚よりも小さく、
前記第3の絶縁層は、前記第3の領域と接する領域を有し、
前記第1の導電層は、第4の領域と、第5の領域と、を有し、
前記第5の領域の膜厚は、前記第4の領域の膜厚よりも小さく、
前記第5の領域は、前記第1の導電層の端部に配置され、
前記第2の導電層は、第6の領域と、第7の領域と、を有し、
前記第7の領域の膜厚は、前記第6の領域の膜厚よりも小さく、
前記第7の領域は、前記第2の導電層の端部に配置され、
前記第1の絶縁層は、前記第4の領域と接する領域と前記第5の領域と接する領域とを有し、且つ、前記酸化物半導体層と接する領域を有さず、
前記第2の絶縁層は、前記第6の領域と接する領域と前記第7の領域と接する領域とを有し、且つ、前記酸化物半導体層と接する領域を有さない、半導体装置。
続きを表示(約 1,000 文字)
【請求項2】
酸化物半導体層と、
前記酸化物半導体層の上方に位置する領域を有する第1の導電層と、
前記酸化物半導体層の上方に位置する領域を有する第2の導電層と、
前記第1の導電層の上方に位置する領域を有する第1の絶縁層と、
前記第2の導電層の上方に位置する領域を有する第2の絶縁層と、
前記第1の絶縁層の上方に位置する領域、前記酸化物半導体層の上方に位置する領域、及び前記第2の絶縁層の上方に位置する領域を有する第3の絶縁層と、を有し、
前記第1の導電層は、トランジスタのソース電極又はドレイン電極の一方としての機能を有し、
前記第2の導電層は、前記トランジスタのソース電極又はドレイン電極の他方としての機能を有し、
前記酸化物半導体層は、前記トランジスタのチャネル形成領域を有し、
前記酸化物半導体層は、第1の領域と、第2の領域と、前記第1の領域と前記第2の領域との間に位置する第3の領域と、を有し、
前記第1の領域は、前記第1の導電層と重なり、
前記第2の領域は、前記第2の導電層と重なり、
前記第3の領域は、前記第1の導電層と重ならず、
前記第3の領域は、前記第2の導電層と重ならず、
前記第3の領域の膜厚は、前記第1の領域の膜厚よりも小さく、且つ、前記第2の領域の膜厚よりも小さく、
前記第3の絶縁層は、前記第3の領域と接する領域を有し、
前記第1の導電層は、第4の領域と、第5の領域と、を有し、
前記第5の領域の膜厚は、前記第4の領域の膜厚よりも小さく、
前記第5の領域は、前記第1の導電層の端部に配置され、
前記第2の導電層は、第6の領域と、第7の領域と、を有し、
前記第7の領域の膜厚は、前記第6の領域の膜厚よりも小さく、
前記第7の領域は、前記第2の導電層の端部に配置され、
前記第1の絶縁層は、前記第3の絶縁層と異なる材料を有し、
前記第2の絶縁層は、前記第3の絶縁層と異なる材料を有し、
前記第1の絶縁層は、前記第4の領域と接する領域と前記第5の領域と接する領域とを有し、且つ、前記酸化物半導体層と接する領域を有さず、
前記第2の絶縁層は、前記第6の領域と接する領域と前記第7の領域と接する領域とを有し、且つ、前記酸化物半導体層と接する領域を有さない、半導体装置。
発明の詳細な説明
【技術分野】
【0001】
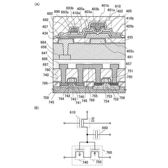
酸化物半導体を用いる半導体装置及びその作製方法に関する。
続きを表示(約 1,400 文字)
【0002】
なお、本明細書中において半導体装置とは、半導体特性を利用することで機能しうる装置
全般を指し、電気光学装置、半導体回路および電子機器は全て半導体装置である。
【背景技術】
【0003】
チャネル形成領域に酸化物半導体膜を用いてトランジスタなどを作製し、表示装置に応用
する技術が注目されている。例えば、酸化物半導体膜として酸化亜鉛(ZnO)を用いる
トランジスタや、InGaO
3
(ZnO)
m
を用いるトランジスタが挙げられる。これら
の酸化物半導体膜を用いたトランジスタを、透光性を有する基板上に形成し、画像表示装
置のスイッチング素子などに用いる技術が特許文献1及び特許文献2で開示されている。
【0004】
また、特許文献3には、酸化物半導体層と接するソース電極及びドレイン電極と、酸化物
半導体層と重なるゲート電極と、酸化物半導体層とゲート電極との間に設けられたゲート
絶縁層と、を有し、ソース電極及びドレイン電極は、第1の導電層と、第1の導電層の端
部よりチャネル長方向に伸長した領域を有する第2の導電層を備えたトランジスタ構造が
開示されている。
【0005】
また、特許文献4には、酸化物半導体層の上下にゲート電極が形成されている構造が開示
されている。
【先行技術文献】
【特許文献】
【0006】
特開2007-123861号公報
特開2007-96055号公報
特開2011-171721号公報
特開2011-103458号公報
【発明の概要】
【発明が解決しようとする課題】
【0007】
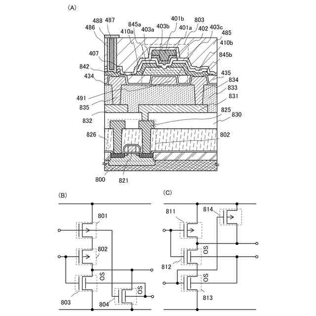
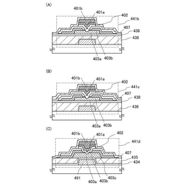
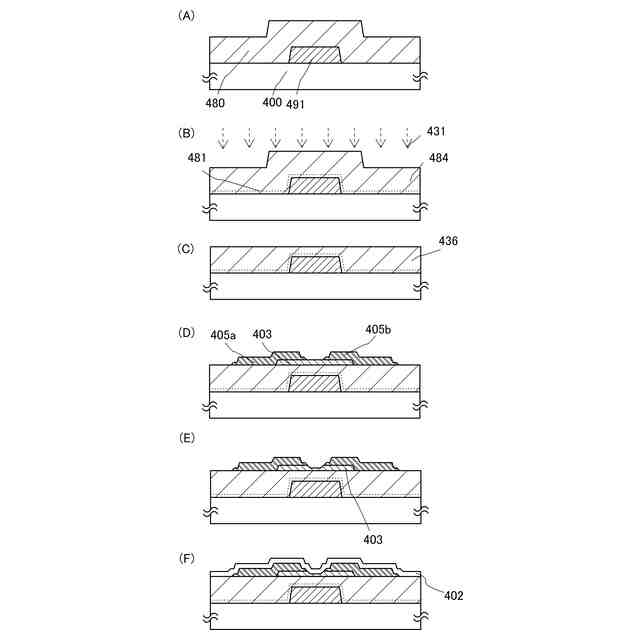
酸化物半導体膜の上下にゲート電極が形成されているデュアルゲート構造や、ボトムゲー
ト構造や、トップゲート構造などのトランジスタを作製する際、酸化物半導体膜上に接し
て電極層を形成し、酸化物半導体膜の表面の一部を露出させる場合がある。その場合、電
極層と酸化物半導体膜は、十分に選択比がとれるエッチング処理を行うことが好ましい。
【0008】
しかしながら、電極層と酸化物半導体膜とが十分に選択比がとれるエッチング処理は困難
である。特に酸化物半導体膜の膜厚が小さい場合には、電極層のエッチングの際に除去さ
れてしまい、膜自体が消失することもある。また、エッチング条件によっては電極層の形
状不良や、酸化物半導体膜への穴形成を引き起こす恐れもある。このような半導体装置の
形状不良は、電気的特性の低下を招いてしまう。
【0009】
酸化物半導体膜上に接してソース電極層及びドレイン電極層を形成する場合、上述した半
導体装置の形状不良の発生を抑えるトランジスタの作製方法を提供することを課題の一と
する。
【0010】
また、酸化物半導体膜上にソース電極層及びドレイン電極層を形成し、ソース電極層及び
ドレイン電極層の端部に生じる恐れのある電界集中の緩和を実現するトランジスタ構造を
提供することを課題の一とする。
(【0011】以降は省略されています)
この特許をJ-PlatPat(特許庁公式サイト)で参照する
関連特許
個人
積和演算用集積回路
1か月前
サンケン電気株式会社
半導体装置
1か月前
日機装株式会社
半導体発光装置
26日前
旭化成株式会社
発光素子
1か月前
ローム株式会社
半導体装置
10日前
三菱電機株式会社
半導体装置
5日前
三菱電機株式会社
半導体装置
1か月前
株式会社半導体エネルギー研究所
表示装置
10日前
株式会社東芝
半導体装置
18日前
三菱電機株式会社
半導体装置
18日前
ローム株式会社
半導体集積回路
1か月前
日亜化学工業株式会社
発光装置
1か月前
株式会社半導体エネルギー研究所
発光デバイス
1か月前
ローム株式会社
半導体装置
3日前
ローム株式会社
半導体装置
1か月前
株式会社半導体エネルギー研究所
発光デバイス
26日前
サンケン電気株式会社
半導体装置
18日前
日亜化学工業株式会社
発光素子
1か月前
新電元工業株式会社
半導体素子
3日前
新電元工業株式会社
半導体素子
3日前
新電元工業株式会社
半導体素子
3日前
日亜化学工業株式会社
発光装置
1か月前
日本ゼオン株式会社
構造体
1か月前
日亜化学工業株式会社
発光装置
3日前
ローム株式会社
半導体装置
18日前
日亜化学工業株式会社
発光素子
1か月前
日亜化学工業株式会社
発光装置
1か月前
住友電気工業株式会社
炭化珪素半導体装置
10日前
ローム株式会社
半導体装置
1か月前
株式会社東芝
半導体装置及びウエーハ
1か月前
株式会社東芝
ウエーハ及び半導体装置
11日前
日亜化学工業株式会社
発光装置の製造方法及び発光装置
1か月前
住友電気工業株式会社
炭化珪素半導体装置
1か月前
住友電気工業株式会社
炭化珪素半導体装置
1か月前
住友電気工業株式会社
炭化珪素半導体装置
1か月前
住友電気工業株式会社
炭化珪素半導体装置
1か月前
続きを見る
他の特許を見る