TOP
|
特許
|
意匠
|
商標
特許ウォッチ
Twitter
他の特許を見る
10個以上の画像は省略されています。
公開番号
2025174876
公報種別
公開特許公報(A)
公開日
2025-11-28
出願番号
2025070113
出願日
2025-04-22
発明の名称
半導体積層ウェハ
出願人
華邦電子股ふん有限公司
,
Winbond Electronics Corp.
代理人
個人
主分類
G11C
29/00 20060101AFI20251120BHJP(情報記憶)
要約
【課題】積層ウェハの歩留まりを改善する半導体積層ウェハを提供する。
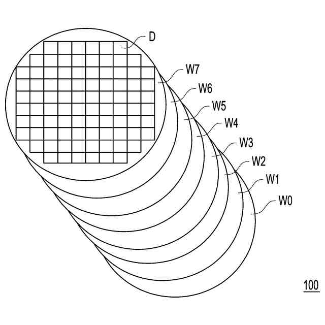
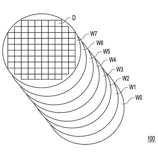
【解決手段】半導体積層ウェハ100は、複数のウェハW0~W7、予備ウェハおよび修復情報ブロックを含む。各ウェハは、複数のダイDを含むことができ、各ウェハは、複数のロジックダイを有するロジックウェハを含む。予備ウェハは、修復イネーブル信号および修復情報信号に基づいて、ウェハの中の対象ウェハを修復する。修復情報ブロックは、予備ウェハまたはロジックウェハ内に位置し、修復情報ブロックは、入力信号を入力し、入力信号に基づいて、修復イネーブル信号及び修復情報信号を出力する。
【選択図】図1
特許請求の範囲
【請求項1】
それぞれが複数のダイを含み、ロジックウェハおよび対象ウェハを含む複数のウェハと、
修復イネーブル信号および修復情報信号に基づいて、前記ウェハの中の前記対象ウェハを修復するように構成された予備ウェハと、
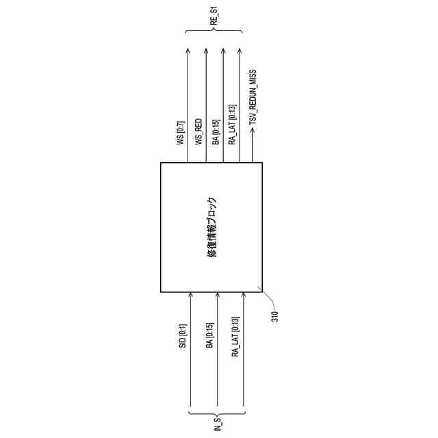
前記予備ウェハまたは前記ロジックウェハ内に位置し、入力信号を入力して、前記入力信号に基づいて、前記修復イネーブル信号および前記修復情報信号を出力する修復情報ブロックと、
を含む半導体積層ウェハ。
続きを表示(約 1,500 文字)
【請求項2】
前記修復イネーブル信号が第1論理状態にあるとき、前記対象ウェハを修復する修復操作が無効になり、
前記修復イネーブル信号が第2論理状態にあるとき、前記対象ウェハを修復する前記修復操作が有効になる請求項1に記載の半導体積層ウェハ。
【請求項3】
前記対象ウェハが、ダイ単位で修復され、
前記修復操作において、前記対象ウェハ内の対象ダイが、前記予備ウェハ内の予備ダイに置き換えられる請求項2に記載の半導体積層ウェハ。
【請求項4】
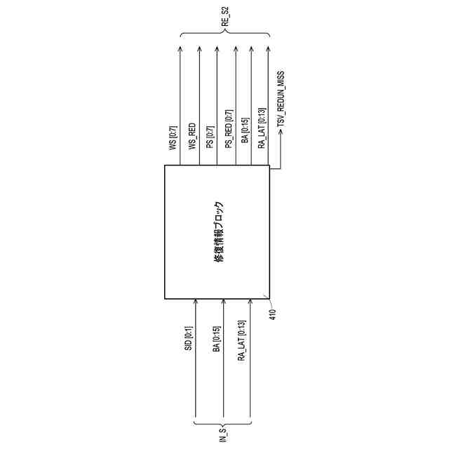
前記入力信号が、ランク選択信号、バンク選択信号、および行選択信号を含み、
前記修復情報信号が、対象ウェハ選択信号、予備ウェハ選択信号、前記バンク選択信号、および前記行選択信号を含み、前記対象ウェハ選択信号が、前記対象ウェハを選択して前記修復操作を行うように構成され、前記予備ウェハ選択信号が、前記予備ウェハを選択して前記修復操作を行うように構成された請求項3に記載の半導体積層ウェハ。
【請求項5】
前記修復情報ブロックが、前記対象ウェハ選択信号を前記ウェハの前記ダイに送信し、
前記修復情報ブロックが、前記予備ウェハ選択信号を前記予備ウェハの予備ダイに送信し、
前記修復情報ブロックが、前記バンク選択信号および前記行選択信号を前記ウェハの前記ダイおよび前記予備ウェハの前記予備ダイに送信する請求項4に記載の半導体積層ウェハ。
【請求項6】
前記対象ウェハを修復する前記修復操作において、前記予備ウェハ選択信号が、前記第1論理状態にあり、前記対象ウェハの前記対象ダイに送信された前記対象ウェハ選択信号が、前記第2論理状態にあり、前記対象ウェハの非対象ダイに送信された前記対象ウェハ選択信号が、前記第1論理状態にある請求項4に記載の半導体積層ウェハ。
【請求項7】
前記対象ウェハを修復する前記修復操作が無効になっているとき、前記予備ウェハ選択信号が、前記第2論理状態にあり、前記対象ウェハのすべてのダイに送信された前記対象ウェハ選択信号が、前記第1論理状態にある請求項4に記載の半導体積層ウェハ。
【請求項8】
前記ダイのそれぞれが、複数の疑似チャネルを含み、
前記対象ウェハが、疑似チャネル単位で修復され、
前記修復操作において、前記対象ウェハの対象疑似チャネルが、前記予備ウェハ内の予備疑似チャネルに置き換えられる請求項2に記載の積層ウェハ。
【請求項9】
前記入力信号が、ランク選択信号、バンク選択信号、および行選択信号を含み、
前記修復情報信号が、対象ウェハ選択信号、予備ウェハ選択信号、疑似チャネル選択信号、予備疑似チャネル選択信号、前記バンク選択信号、および前記行選択信号を含み、
前記疑似チャネル選択信号が、前記対象ウェハの前記対象ダイの前記対象疑似チャネルを選択して前記修復操作を行うように構成され、前記予備疑似チャネル選択信号が、前記対象疑似チャネルに対応する予備疑似チャネルを選択するように構成された請求項8に記載の半導体積層ウェハ。
【請求項10】
前記修復情報ブロックが、前記対象ウェハ選択信号および前記疑似チャネル選択信号を前記ウェハのダイに送信し、
前記修復情報ブロックが、前記予備ウェハ選択信号および前記予備疑似チャネル選択信号を前記予備ウェハの予備ダイに送信し、
前記修復情報ブロックが、前記バンク選択信号および前記行選択信号を前記ウェハの前記ダイおよび前記予備ウェハの前記予備ダイに送信する請求項9に記載の半導体積層ウェハ。
(【請求項11】以降は省略されています)
発明の詳細な説明
【技術分野】
【0001】
本発明は、半導体デバイスに関するものであり、特に、半導体積層ウェハの歩留まりを改善することのできる修復スキームを備えた半導体積層ウェハに関するものである。
続きを表示(約 2,100 文字)
【背景技術】
【0002】
複数の半導体ウェハを含む積層ウェハが開発され、高帯域幅および大容量のメモリデバイスを製造するために使用されている。積層ウェハは、複数の半導体ウェハを1つに積層することによって形成することができる。しかしながら、ウェハの数が増えるにつれ、積層ウェハの歩留まりが急激に降下する。
【0003】
積層ウェハの歩留まりを改善するための新しい技術が望まれている。
【発明の概要】
【発明が解決しようとする課題】
【0004】
ウェハの数が増えるにつれ、積層ウェハの歩留まりが急激に降下する。
【課題を解決するための手段】
【0005】
いくつかの実施形態において、半導体積層ウェハは、複数のウェハ、予備ウェハ、および修復情報ブロックを含む。各ウェハは、複数のダイを含むことができ、ウェハは、ロジックウェハおよび対象ウェハを含むことができる。予備ウェハは、修復イネーブル信号および修復情報信号に基づいて、ウェハの中の対象ウェハを修復するように構成される。修復情報ブロックは、予備ウェハまたはロジックウェハ内に位置し、修復情報ブロックは、入力信号を入力し、入力信号に基づいて、修復イネーブル信号および修復情報信号を出力する。
【0006】
いくつかの実施形態によれば、半導体積層ウェハは、複数のウェハ、予備ウェハ、および修復情報ブロックを含む。各ウェハは、複数のダイを含み、ウェハは、ロジックウェハおよび対象ウェハを含む。ウェハの各ダイは、複数の入出力(IO)セグメントを含む。予備ウェハは、修復情報信号に基づいて、ウェハの中の対象ウェハを修復するように構成される。予備ウェハは、複数の予備ダイを含み、各予備ダイは、ウェハの各ダイのIOセグメントに対応する複数の予備IOセグメントを含む。修復情報ブロックは、予備ウェハまたはロジックウェハ内に位置し、修復情報ブロックは、入力信号を入力し、修復情報信号を生成する。対象ウェハは、IOセグメント単位で修復され、修復操作において、対象ウェハ内の対象IOセグメントは、予備ウェハ内の予備IOセグメントに置き換えられる。
【0007】
本発明の実施形態によれば、予備ウェハを半導体積層ウェハに追加することによって、ウェハ積層の歩留まりが改善される。半導体積層ウェハの中の対象ウェハをダイ単位、疑似チャネル単位、メモリバンク単位、またはメモリ行単位で修復することができるため、本発明の修復スキームは、幅広い製品において効果的かつ柔軟に適用することができる。また、提案する修復スキームを使用して、半導体積層ウェハの対象ウェハのIOセグメント(または、IO単位)を修復することができる。したがって、修復スキームの柔軟性がさらに改善される。
【発明の効果】
【0008】
ウェハ積層の歩留まりが改善され、修復スキームの柔軟性がさらに改善される。
【図面の簡単な説明】
【0009】
いくつかの実施形態に係る半導体積層ウェハの概略図である。
いくつかの実施形態に係る半導体積層ウェハの複数のメモリダイを積層することによって形成されたメモリデバイスの概略図である。
いくつかの実施形態に係る対象ウェハの対象ダイを修復するための修復情報ブロックの概略図である。
いくつかの実施形態に係る対象ダイを修復するための半導体積層ウェハにおける信号の波形図である。
いくつかの実施形態に係る対象ダイを修復するための半導体積層ウェハにおける信号の波形図である。
いくつかの実施形態に係る対象ウェハの対象疑似チャネル、対象メモリバンク、または対象行を修復するための修復情報ブロックの概略図である。
いくつかの実施形態に係る対象疑似チャネル、対象バンク、または対象行を修復するための半導体積層ウェハにおける信号の波形図を示したものである。
いくつかの実施形態に係る対象疑似チャネル、対象バンク、または対象行を修復するための半導体積層ウェハにおける信号の波形図を示したものである。
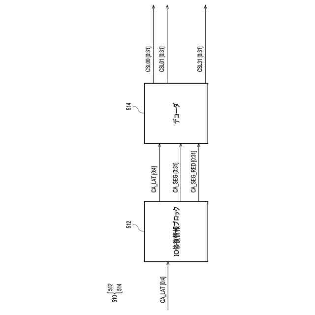
いくつかの実施形態に係る対象ウェハ内の対象列を修復するための修復情報ブロックの概略図である。
いくつかの実施形態に係る対象列を修復するための半導体積層ウェハにおける信号の波形図である。
いくつかの実施形態に係る対象列を修復するための半導体積層ウェハにおける信号の波形図である。
いくつかの実施形態に係る半導体積層ウェハのメモリバンクにおけるIOセグメントの概略図である。
【発明を実施するための形態】
【0010】
添付の図面を例として、本発明の好ましい実施形態について詳細に説明する。可能な限り、図面および説明において同一の参照番号を使用し、同一の、または類似する部品を参照する。
(【0011】以降は省略されています)
この特許をJ-PlatPat(特許庁公式サイト)で参照する
関連特許
華邦電子股ふん有限公司
半導体記憶装置
2か月前
華邦電子股ふん有限公司
半導体積層ウェハ
3日前
華邦電子股ふん有限公司
受信回路及びその制御方法
1か月前
華邦電子股ふん有限公司
半導体装置及びその製造方法
20日前
華邦電子股ふん有限公司
半導体記憶装置及びその制御方法
1か月前
華邦電子股ふん有限公司
半導体記憶装置及びその制御方法
1か月前
華邦電子股ふん有限公司
3Dキャパシタンス構造およびその製造方法
2か月前
華邦電子股ふん有限公司
不良アドレスキャッシュを有するメモリデバイスおよびその方法
3日前
日本発條株式会社
記録装置
1か月前
RAMXEED株式会社
記憶装置
26日前
株式会社ナノバブル研究所
データ消去装置
1か月前
ローム株式会社
RAM
1か月前
キオクシア株式会社
半導体記憶装置
2か月前
ローム株式会社
メモリ装置
2か月前
キオクシア株式会社
記憶装置
2か月前
キオクシア株式会社
記憶装置
2か月前
キオクシア株式会社
半導体記憶装置
1か月前
ローム株式会社
半導体記憶装置
2か月前
株式会社東芝
磁気ヘッド、及び、磁気記録装置
1か月前
ローム株式会社
半導体記憶装置
2か月前
株式会社東芝
磁気ヘッド、及び、磁気記録装置
2か月前
キオクシア株式会社
記憶装置
2か月前
ローム株式会社
半導体メモリ装置
26日前
ローム株式会社
不揮発性メモリ装置
1か月前
ローム株式会社
不揮発性メモリ装置
1か月前
ローム株式会社
不揮発性メモリ装置
1か月前
キオクシア株式会社
磁気記憶装置
2か月前
キオクシア株式会社
メモリシステム
2か月前
キオクシア株式会社
メモリデバイス
1か月前
キオクシア株式会社
メモリデバイス
1か月前
キオクシア株式会社
半導体記憶装置
2か月前
株式会社JVCケンウッド
車載装置
17日前
キオクシア株式会社
半導体記憶装置
1か月前
日本発條株式会社
記録装置、カバー、及びカバーの製造方法
1か月前
ローム株式会社
不揮発性半導体記憶装置
1か月前
キオクシア株式会社
半導体記憶装置、メモリシステム
2か月前
続きを見る
他の特許を見る