TOP
|
特許
|
意匠
|
商標
特許ウォッチ
Twitter
他の特許を見る
公開番号
2025150109
公報種別
公開特許公報(A)
公開日
2025-10-09
出願番号
2024050818
出願日
2024-03-27
発明の名称
半導体記憶装置及びその制御方法
出願人
華邦電子股ふん有限公司
,
Winbond Electronics Corp.
代理人
個人
,
個人
主分類
G11C
7/10 20060101AFI20251002BHJP(情報記憶)
要約
【課題】外部抵抗に複数のメモリダイが接続されている場合に、インピーダンスキャリブレーション処理の時間を短縮することの可能な半導体記憶装置及びその制御方法を提供する。
【解決手段】半導体記憶装置は、キャリブレーションパッドZQPADを介して共通の外部抵抗Rに接続された複数のメモリダイ10と、複数のメモリダイ10のうち第1メモリダイ10aに対してプルアップキャリブレーションを行う間に複数のメモリダイ10のうち第1メモリダイ10aとは異なる1つ以上の第2メモリダイ10bに対してプルダウンキャリブレーションを行い、第2メモリダイ10bに対してプルアップキャリブレーションを行う間に第1メモリダイ10aに対してプルダウンキャリブレーションを行うように制御する制御部20と、を備える。
【選択図】図2
特許請求の範囲
【請求項1】
キャリブレーションパッドを介して共通の外部抵抗に接続された複数のメモリダイと、
前記複数のメモリダイのうち第1メモリダイに対してプルアップキャリブレーションを行う間に前記複数のメモリダイのうち前記第1メモリダイとは異なる1つ以上の第2メモリダイに対してプルダウンキャリブレーションを行い、前記第2メモリダイに対してプルアップキャリブレーションを行う間に前記第1メモリダイに対してプルダウンキャリブレーションを行うように制御する制御部と、を備える、
半導体記憶装置。
続きを表示(約 1,700 文字)
【請求項2】
前記複数のメモリダイの各々は、
第1制御信号及び前記外部抵抗の抵抗値に基づいて第1電圧を生成するプルアップキャリブレーション部と、
前記第1制御信号及び第2制御信号に基づいて第2電圧を生成するプルダウンキャリブレーション部と、
プルアップキャリブレーションが行われる場合に、前記第1電圧と基準電圧との比較によって得られる第1比較結果に基づいて前記第1制御信号を生成し、プルダウンキャリブレーションが行われる場合に、前記第1電圧と前記第2電圧との比較によって得られる第2比較結果に基づいて前記第2制御信号を生成する生成部と、を備える、
請求項1に記載の半導体記憶装置。
【請求項3】
前記制御部は、
前記第1メモリダイに対してプルアップキャリブレーションを行う場合に、前記第1メモリダイの前記プルアップキャリブレーション部を動作させると共に前記第2メモリダイの前記プルダウンキャリブレーション部を動作させるように制御することによって、前記第1メモリダイにおいて生成された前記第1制御信号を用いて前記第2メモリダイに対してプルダウンキャリブレーションを行う、
請求項2に記載の半導体記憶装置。
【請求項4】
前記制御部は、
前記第1メモリダイに対してプルダウンキャリブレーションを行う場合に、前記第1メモリダイの前記プルダウンキャリブレーション部を動作させると共に前記第2メモリダイの前記プルアップキャリブレーション部を動作させるように制御することによって、前記第2メモリダイにおいて生成された前記第1制御信号を用いて前記第1メモリダイに対してプルダウンキャリブレーションを行う、
請求項2に記載の半導体記憶装置。
【請求項5】
前記プルアップキャリブレーション部は、
動作電圧に接続された第1端子と、前記キャリブレーションパッドに接続された第2端子と、前記第1制御信号が入力される制御端子と、を含む第1トランジスタであって、前記第1制御信号に基づいて抵抗値を調整する第1トランジスタを備える、
請求項2に記載の半導体記憶装置。
【請求項6】
前記制御部は、
前記第1メモリダイに対してプルアップキャリブレーションを行う場合に、前記第1メモリダイの前記第1トランジスタを動作させると共に前記第2メモリダイの前記第1トランジスタの動作を停止させるように制御する、
請求項5に記載の半導体記憶装置。
【請求項7】
前記第1トランジスタはP型トランジスタである、
請求項5に記載の半導体記憶装置。
【請求項8】
前記プルダウンキャリブレーション部は、
動作電圧に接続された第1端子と、前記第1制御信号が入力される制御端子と、を含む第2トランジスタであって、前記第1制御信号に基づいて抵抗値を調整する第2トランジスタと、
接地電圧に接続された第1端子と、前記第2トランジスタの第2端子に接続された第2端子と、前記第2制御信号が入力される制御端子と、を含む第3トランジスタであって、前記第2制御信号に基づいて抵抗値を調整する第3トランジスタと、を備え、
前記第2トランジスタはP型トランジスタであり、前記第3トランジスタはN型トランジスタである、
請求項2に記載の半導体記憶装置。
【請求項9】
前記制御部は、
前記第1メモリダイに対してプルアップキャリブレーションを行う場合に、前記第1メモリダイの前記第3トランジスタの動作を停止させると共に前記第2メモリダイの前記第2トランジスタの動作を停止させるように制御する、
請求項8に記載の半導体記憶装置。
【請求項10】
前記制御部は、
前記第1メモリダイに対してプルダウンキャリブレーションを行う場合に、前記第1メモリダイの前記第2トランジスタの動作を停止させると共に前記第2メモリダイの前記第3トランジスタの動作を停止させるように制御する、
請求項8に記載の半導体記憶装置。
(【請求項11】以降は省略されています)
発明の詳細な説明
【技術分野】
【0001】
本発明は、半導体記憶装置及びその制御方法に関する。
続きを表示(約 2,200 文字)
【背景技術】
【0002】
従来の半導体記憶装置では、伝送路のインピーダンスと出力回路の出力インピーダンスとを整合させるために、例えばZQキャリブレーション等のインピーダンスキャリブレーションを実行するものが知られている(例えば、特許文献1)。また、従来の半導体記憶装置では、製造コストを低減するために、ZQ端子及び外部抵抗を複数のメモリダイで共有するように構成されたものも知られている。
【先行技術文献】
【特許文献】
【0003】
特開2007-123987号公報
【発明の概要】
【発明が解決しようとする課題】
【0004】
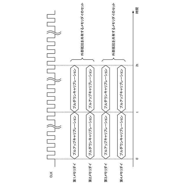
ところで、従来の半導体記憶装置においてZQキャリブレーションを行う場合には、先にプルアップキャリブレーションを行ってプルアップコードを最適化し、そのプルアップコードを用いてプルダウンキャリブレーションを行ってプルダウンコードを最適化するようになっている。これにより、ZQ端子及び外部抵抗が複数のメモリダイで共有される半導体記憶装置においてZQキャリブレーションを行う場合には、図1に示すように、各メモリダイ間でインピーダンスキャリブレーションの開始タイミングをずらす必要があることから、メモリダイの数の増加に応じてインピーダンスキャリブレーションの処理時間が長期化する虞がある。例えば、図1に示す例では、メモリダイの数をN(Nは2以上の整数)とし、プルアップキャリブレーション及びプルダウンキャリブレーションの各々の処理時間をt(t>0)とした場合、半導体記憶装置におけるインピーダンスキャリブレーションの処理時間は、(N+1)tで表される。
【0005】
本発明は上記課題に鑑みてなされたものであり、外部抵抗に複数のメモリダイが接続されている場合に、インピーダンスキャリブレーションの処理時間を短縮することの可能な半導体記憶装置及びその制御方法を提供することを目的とする。
【課題を解決するための手段】
【0006】
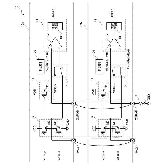
上記課題を解決するために、本発明は、キャリブレーションパッドを介して共通の外部抵抗に接続された複数のメモリダイと、前記複数のメモリダイのうち第1メモリダイに対してプルアップキャリブレーションを行う間に前記複数のメモリダイのうち前記第1メモリダイとは異なる1つ以上の第2メモリダイに対してプルダウンキャリブレーションを行い、前記第2メモリダイに対してプルアップキャリブレーションを行う間に前記第1メモリダイに対してプルダウンキャリブレーションを行うように制御する制御部と、を備える、半導体記憶装置を提供する。
【0007】
かかる発明によれば、第1メモリダイにおけるプルアップキャリブレーションと第2メモリダイにおけるプルダウンキャリブレーションとを同時に行い、第1メモリダイにおけるプルダウンキャリブレーションと第2メモリダイにおけるプルアップキャリブレーションとを同時に行うことが可能になるので、例えば、各メモリダイ間でインピーダンスキャリブレーションの開始タイミングをずらす場合と比較して、半導体記憶装置におけるインピーダンスキャリブレーションの処理時間を短縮することができる。
【0008】
また、本発明は、半導体記憶装置の制御方法であって、前記半導体記憶装置は、キャリブレーションパッドを介して共通の外部抵抗に接続された複数のメモリダイを備え、前記半導体記憶装置の制御部が、前記複数のメモリダイのうち第1メモリダイに対してプルアップキャリブレーションを行う間に前記複数のメモリダイのうち前記第1メモリダイとは異なる1つ以上の第2メモリダイに対してプルダウンキャリブレーションを行い、前記第2メモリダイに対してプルアップキャリブレーションを行う間に前記第1メモリダイに対してプルダウンキャリブレーションを行うように制御するステップを実行する、半導体記憶装置の制御方法を提供する。
【発明の効果】
【0009】
本発明の半導体記憶装置及びその制御方法によれば、外部抵抗に複数のメモリダイが接続されている場合に、インピーダンスキャリブレーション処理の時間を短縮することができる。
【図面の簡単な説明】
【0010】
従来の半導体記憶装置におけるインピーダンスキャリブレーション処理のシーケンスの一例を示す図である。
本発明の一実施形態に係る半導体記憶装置の構成例を示す図である。
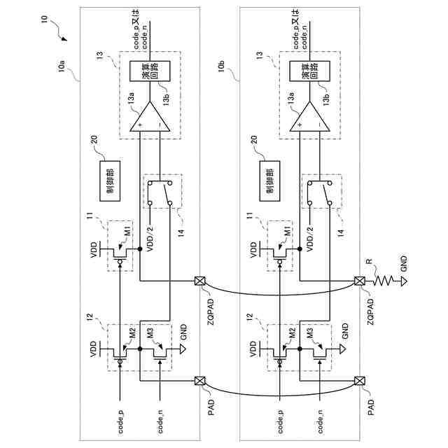
第1メモリダイに対してプルアップキャリブレーションが行われる場合の半導体記憶装置の動作の一例を示す図である。
第1メモリダイに対してプルダウンキャリブレーションが行われる場合の半導体記憶装置の動作の一例を示す図である。
一実施形態に係る半導体記憶装置におけるインピーダンスキャリブレーション処理のシーケンスの一例を示す図である。
変形例に係る半導体記憶装置におけるインピーダンスキャリブレーション処理のシーケンスの一例を示す図である。
変形例に係る半導体記憶装置におけるインピーダンスキャリブレーション処理のシーケンスの一例を示す図である。
【発明を実施するための形態】
(【0011】以降は省略されています)
この特許をJ-PlatPat(特許庁公式サイト)で参照する
関連特許
華邦電子股ふん有限公司
コンデンサ構造
3か月前
華邦電子股ふん有限公司
半導体記憶装置
2か月前
華邦電子股ふん有限公司
半導体積層ウェハ
3日前
華邦電子股ふん有限公司
受信回路及びその制御方法
1か月前
華邦電子股ふん有限公司
半導体装置及びその製造方法
20日前
華邦電子股ふん有限公司
半導体記憶装置及びその制御方法
1か月前
華邦電子股ふん有限公司
半導体記憶装置及びその制御方法
1か月前
華邦電子股ふん有限公司
3Dキャパシタンス構造およびその製造方法
2か月前
華邦電子股ふん有限公司
不良アドレスキャッシュを有するメモリデバイスおよびその方法
3日前
日本発條株式会社
記録装置
1か月前
RAMXEED株式会社
記憶装置
26日前
株式会社ナノバブル研究所
データ消去装置
1か月前
ローム株式会社
RAM
1か月前
キオクシア株式会社
半導体記憶装置
2か月前
キオクシア株式会社
記憶装置
2か月前
キオクシア株式会社
半導体記憶装置
1か月前
キオクシア株式会社
記憶装置
2か月前
ローム株式会社
半導体メモリ装置
26日前
株式会社東芝
磁気ヘッド、及び、磁気記録装置
1か月前
キオクシア株式会社
記憶装置
2か月前
ローム株式会社
不揮発性メモリ装置
1か月前
ローム株式会社
不揮発性メモリ装置
1か月前
キオクシア株式会社
磁気記憶装置
2か月前
ローム株式会社
不揮発性メモリ装置
1か月前
キオクシア株式会社
メモリシステム
2か月前
キオクシア株式会社
メモリデバイス
1か月前
株式会社JVCケンウッド
車載装置
17日前
キオクシア株式会社
メモリデバイス
1か月前
日本発條株式会社
記録装置、カバー、及びカバーの製造方法
1か月前
キオクシア株式会社
半導体記憶装置
1か月前
キオクシア株式会社
半導体記憶装置、メモリシステム
2か月前
キオクシア株式会社
半導体記憶装置
1か月前
ローム株式会社
不揮発性半導体記憶装置
1か月前
キオクシア株式会社
半導体記憶装置
2か月前
キオクシア株式会社
半導体装置及び記憶媒体
1か月前
ルネサスエレクトロニクス株式会社
半導体装置
1か月前
続きを見る
他の特許を見る