TOP
|
特許
|
意匠
|
商標
特許ウォッチ
Twitter
他の特許を見る
10個以上の画像は省略されています。
公開番号
2025174281
公報種別
公開特許公報(A)
公開日
2025-11-28
出願番号
2024080455
出願日
2024-05-16
発明の名称
貸渡し用電気自動車の充電設備、貸渡し用電気自動車の充電方法、車両管理装置及びコンピュータプログラム
出願人
パーク二四株式会社
代理人
個人
,
個人
主分類
H02J
7/00 20060101AFI20251120BHJP(電力の発電,変換,配電)
要約
【課題】 保管場所における充電器の設置を不要とする。
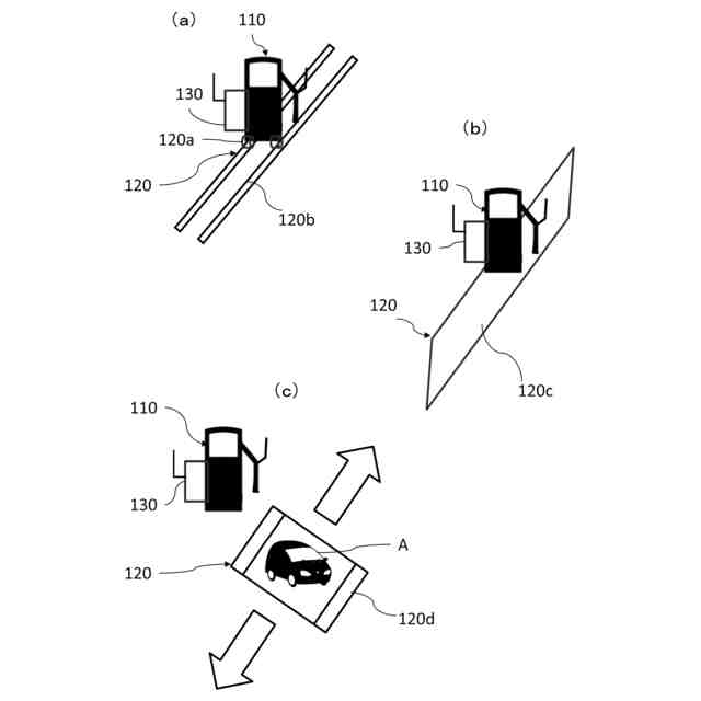
【解決手段】 貸渡し用電気自動車Aの保管場所20とは異なる場所に設けられる充電用駐車スペース10に充電対象の貸渡し用電気自動車Aを回送し、充電用駐車スペース10に駐車される貸渡し用電気自動車Aに対して相対移動可能な充電器110を用いて充電を実行する。保管場所20において充電器を設置する必要がないにも拘わらず、貸し渡し用電気自動車Aへの充電を行うことができ、また、充電器110が移動可能であるため、より少ない台数で効率的に充電を実行できる。
【選択図】 図1
特許請求の範囲
【請求項1】
貸渡しサービスに供される貸渡し用電気自動車に充電を行うための貸渡し用電気自動車の充電設備であって、
前記貸渡し用電気自動車の保管場所とは異なる場所に位置する充電用駐車スペースに設けられる充電器と、
前記保管場所から回送されて前記充電用駐車スペースに駐車された前記貸渡し用電気自動車と前記充電器とを、充電可能な位置に相対的に移動させる移動手段と、
前記充電器及び前記移動手段の制御を行う充電制御部と
を有する貸渡し用電気自動車の充電設備。
続きを表示(約 1,500 文字)
【請求項2】
前記移動手段は、前記充電器に設けられた自律移動手段である
請求項1記載の貸渡し用電気自動車の充電設備。
【請求項3】
前記移動手段は、前記充電用駐車スペースに設けられ、前記充電器を搬送する充電器搬送手段である
請求項1記載の貸渡し用電気自動車の充電設備。
【請求項4】
前記移動手段は、前記充電用駐車スペースに設けられ、前記貸渡し用電気自動車を搬送する自動車搬送手段である
請求項1記載の貸渡し用電気自動車の充電設備。
【請求項5】
前記充電制御部は、
前記保管場所への返却時における前記貸渡し用電気自動車のバッテリ残量に基づき充電の要否を判定する車両管理装置と通信回線を介して接続され、
前記車両管理装置からの充電の実行指示に基づき、前記充電器及び前記移動手段を制御する
請求項1~4のいずれか1に記載の貸渡し用電気自動車の充電設備。
【請求項6】
前記充電制御部は、
前記充電用駐車スペースに駐車される前記貸渡し用電気自動車が複数台の場合、各貸渡し用電気自動車の返却時のバッテリ残量を用いて前記車両管理装置により決定される充電の実行順位に基づき、実行順位が到来した前記貸渡し用電気自動車に充電が実行されるように、前記充電器及び前記移動手段を制御する
請求項5記載の貸渡し用電気自動車の充電設備。
【請求項7】
貸渡しサービスに供される貸渡し用電気自動車に充電を行うための貸渡し用電気自動車の充電方法であって、
充電対象となる前記貸渡し用電気自動車を、前記貸渡し用電気自動車の保管場所から、前記保管場所とは異なる場所に位置する充電用駐車スペースに回送し、
前記充電用駐車スペースに駐車された充電対象の前記貸渡し用電気自動車に対し、充電可能な位置まで相対的に移動可能に設けられ、充電制御部により制御される充電器により充電を実行する
貸渡し用電気自動車の充電方法。
【請求項8】
前記保管場所への返却時における前記貸渡し用電気自動車のバッテリ残量に基づき充電の要否を判定する車両管理装置から、前記充電制御部に充電の実行指示が送信されると、前記充電器を移動手段によって前記充電可能な位置まで移動させて充電を実行する
請求項7記載の貸渡し用電気自動車の充電方法。
【請求項9】
前記充電用駐車スペースに回送されて駐車される前記貸渡し用電気自動車が複数台の場合、各貸渡し用電気自動車の返却時のバッテリ残量を用いて前記車両管理装置により決定される充電の実行順位に基づき、前記充電器及び前記移動手段を制御して、実行順位が到来した前記貸渡し用電気自動車に充電を実行する
請求項8記載の貸渡し用電気自動車の充電方法。
【請求項10】
貸渡しサービスに供される貸渡し用電気自動車の管理を行う車両管理装置であって、
前記貸渡し用電気自動車の車載用バッテリの返却時のバッテリ残量を受信するバッテリデータ受信部と、
前記車載用バッテリの返却時のバッテリ残量により、充電の要否を判定する充電要否判定部と、
前記充電要否判定部により充電が必要と判定され、前記貸渡し用電気自動車の保管場所とは異なる場所に設けられた充電用駐車スペースに回送された前記貸渡し用電気自動車への充電を実行するため、前記貸渡し用電気自動車に対して相対的に移動可能に前記充電用駐車スペースに設けられる充電器を制御する充電制御部に、充電の実行指示を送信する充電実行指示部と
を有する車両管理装置。
(【請求項11】以降は省略されています)
発明の詳細な説明
【技術分野】
【0001】
本発明は、車両として電気自動車を貸渡す事業、特にカーシェアリング事業で用いられる貸渡し用電気自動車の充電設備、貸渡し用電気自動車の充電方法、車両管理装置及びコンピュータプログラムに関する。
続きを表示(約 1,800 文字)
【背景技術】
【0002】
複数の車両を複数のユーザが共同で使用するカーシェアリングシステムが、普及しつつある。利用者は、カーシェアリングの会員登録を済ませ、カーシェアリング用の自動車(シェアカー)を確保している駐車場に出向いて直接利用する。あるいは、スマートフォンなどの携帯端末やパーソナルコンピュータを用いて利用予定の時間帯などを事前に連絡する予約制度を活用する。
【0003】
ところで、シェアカーとしては、近年、電気自動車の普及が進んでいる。電気自動車をシェアカーとして貸渡す場合、車載用バッテリに所定時間走行可能な充電がなされていることが必要である。
【0004】
特許文献1及び2では、シェアカーとして利用された電気自動車の返却時に、バッテリ残量が所定以下の場合には、電気自動車を充電器に接続し、その接続状態が確認できた場合に、返却処理を完了させるシステムが開示されている。
【0005】
特許文献3は、電気自動車の充電状態に応じ、充電器が設置された駐車枠への返却を義務づけ、その上で、充電器が電気自動車に接続されたと判断される場合に、カーシェアリングの利用が終了できる技術が開示されている。
【先行技術文献】
【特許文献】
【0006】
特開2022-155014号公報
特開2022-75352号公報
特開2023-77235号公報
【非特許文献】
【0007】
「カーシェアリングにおける駐車場活用方策に関する研究報告書」、2.カーシェアリングの現状・動向、2.1 カーシェアリングの現状、(4)カーシェアリングの法制度(p7)、平成22年2月、財団法人 東京都道路整備保全公社、株式会社 アルメックURL:https://www.tmpc.or.jp/Portals/0/images/03_business/business/index_01/h21_2.pdf
「構造改革特別区域法に係る環境にやさしいレンタカー型カーシェアリングを行うための道路運送法第80条第2項による申請の取扱いについて」(平成16年4月28日、国自旅第18号)URL:https://www.mlit.go.jp/kisha/kisha04/09/090428_.html
【発明の開示】
【発明が解決しようとする課題】
【0008】
カーシェアリングは、道路運送法上レンタカー事業の一種と位置づけられるが、会員制で特定の借受人に利用させる形態であると共に、IT等の活用により、車両の貸渡し状況等が正確に把握されていることから、通常のレンタカー事業と異なり、シェアカーの保管場所であるステーションは無人であっても許容されている(非特許文献1,2参照)。無人であることから、電気自動車をシェアカーとして用いる場合、返却時におけるバッテリ残量の確認、充電器への接続が不十分となる可能性があり、特許文献1~3のような対策技術が提案されている。
【0009】
しかし、充電器が設置されるのは、特許文献1~3のいずれの技術も、シェアカーのステーションであり、しかも、特許文献1~3の技術を実行しようとすれば、図9に示したように、シェアカーとして配備されている電気自動車の台数分、充電器が必要となる。そのため、充電器の配備、設置コストが多大となる。また、一旦、複数の充電器を設置した後に、例えば、当該ステーションにおいて、シェアカーとしての電気自動車の稼働率が低いなどの事象が発生した場合、それらの設備をより高い稼働率が見込まれる他のステーションに移設しようとしても、移設工事のための時間、コストが改めて必要となる。充電器の移設工事が不要となれば、シェアカーとしての電気自動車を配備するステーションの選択余地が広がり、稼働率の上昇が期待できる。
【0010】
本発明は上記に鑑みなされたものであり、貸渡しサービスに供される貸渡し用電気自動車への充電を効率的に行うことできる一方で、保管場所における充電器の設置を不要とし、保管場所における充電器の設置コスト、移設コスト等の発生をなくすことができる技術の提供を課題とする。
【課題を解決するための手段】
(【0011】以降は省略されています)
この特許をJ-PlatPat(特許庁公式サイト)で参照する
関連特許
パーク二四株式会社
情報処理端末およびコンピュータプログラム
1か月前
パーク二四株式会社
情報処理装置、情報処理方法およびプログラム
1か月前
パーク二四株式会社
駐車場管理サーバ、コンピュータプログラムおよびEV充電器
1か月前
パーク二四株式会社
貸渡し用電気自動車の充電設備、貸渡し用電気自動車の充電方法、車両管理装置及びコンピュータプログラム
2日前
個人
単極モータ
1か月前
個人
高圧電気機器の開閉器
11日前
個人
電気を重力で発電装置
24日前
キヤノン電子株式会社
モータ
23日前
キヤノン電子株式会社
モータ
1か月前
株式会社アイシン
ロータ
1か月前
株式会社アイシン
ロータ
1か月前
日星電気株式会社
ケーブル組立体
1か月前
コーセル株式会社
電源装置
1か月前
株式会社アイドゥス企画
減反モータ
11日前
トヨタ自動車株式会社
モータ
23日前
株式会社デンソー
回転機
1か月前
株式会社デンソー
端子台
4日前
個人
二次電池繰返パルス放電器用印刷基板
1か月前
株式会社kaisei
発電システム
1か月前
株式会社ミツバ
回転電機
1か月前
株式会社デンソー
電力変換装置
1か月前
ローム株式会社
半導体集積回路
2日前
株式会社デンソー
電力変換装置
1か月前
株式会社デンソー
非接触受電装置
1か月前
株式会社日立製作所
回転電機
2日前
矢崎総業株式会社
給電装置
3日前
株式会社ダイヘン
インバータ装置
1か月前
株式会社TMEIC
制御装置
3日前
トヨタ自動車株式会社
固定子の加熱装置
1か月前
矢崎総業株式会社
電源回路
10日前
大和ハウス工業株式会社
敷設用機器
3日前
日産自動車株式会社
ロータシャフト
18日前
山洋電気株式会社
モータ
1か月前
ローム株式会社
モータドライバ回路
18日前
個人
非対称鏡像力を有する4層PWB電荷搬送体
18日前
日産自動車株式会社
ロータシャフト
18日前
続きを見る
他の特許を見る