TOP
|
特許
|
意匠
|
商標
特許ウォッチ
Twitter
他の特許を見る
10個以上の画像は省略されています。
公開番号
2025174163
公報種別
公開特許公報(A)
公開日
2025-11-28
出願番号
2024080273
出願日
2024-05-16
発明の名称
空気調和機の室内機、断熱部材
出願人
日本キヤリア株式会社
代理人
弁理士法人サトー
主分類
F24F
13/20 20060101AFI20251120BHJP(加熱;レンジ;換気)
要約
【課題】本実施形態は、側面壁部及び上面壁部を有する箱型形状の断熱部材を備える空気調和機の室内機、及び、この種の空気調和機の室内機に備えられる箱型形状の断熱部材に関し、複数の断熱部材を積み重ねた場合における高さを抑制できるようにした技術案を提供する。
【解決手段】本実施形態に係る空気調和機の室内機は、側面壁部及び上面壁部を有する筐体と、前記筐体の側面壁部に沿う断熱側面壁部及び前記筐体の上面壁部に沿う断熱上面壁部を有する断熱部材と、を備え、前記断熱側面壁部と前記断熱上面壁部が形成する角部に、他の前記断熱部材の一部を嵌め込むことが可能な嵌込部が形成されている。
【選択図】図8
特許請求の範囲
【請求項1】
側面壁部及び上面壁部を有する筐体と、
前記筐体の側面壁部に沿う断熱側面壁部及び前記筐体の上面壁部に沿う断熱上面壁部を有する断熱部材と、
を備え、
前記断熱側面壁部と前記断熱上面壁部が形成する角部に、他の前記断熱部材の一部を嵌め込むことが可能な嵌込部が形成されている空気調和機の室内機。
続きを表示(約 410 文字)
【請求項2】
前記嵌込部は、前記断熱部材の内側に窪んだ形状であり、
前記断熱部材のうち前記嵌込部が形成されている部分の厚さは、前記断熱部材のうち前記嵌込部以外の部分の厚さと同じである請求項1に記載の空気調和機の室内機。
【請求項3】
前記嵌込部は、前記断熱部材の内側に窪んだ形状であり、
前記断熱部材のうち前記嵌込部が形成されている部分の内面は、曲面状に形成されている請求項1に記載の空気調和機の室内機。
【請求項4】
側面壁部及び上面壁部を有する筐体により外郭が形成される空気調和機の室内機に備えられる断熱部材であって、
前記筐体の側面壁部に沿う断熱側面壁部及び前記筐体の上面壁部に沿う断熱上面壁部を有し、
前記断熱側面壁部と前記断熱上面壁部が形成する角部に、他の前記断熱部材の一部を嵌め込むことが可能な嵌込部が形成されている断熱部材。
発明の詳細な説明
【技術分野】
【0001】
本発明の実施形態は、室内の天井に埋め込まれる天井埋込型の空気調和機の室内機、及び、天井埋込型の空気調和機の室内機に備えられる断熱部材に関する。
続きを表示(約 2,100 文字)
【背景技術】
【0002】
空気調和機の室内機として、例えば店舗などといった広い空間を空調する場合には、壁面に取り付けられる室内機、いわゆる壁掛け型の室内機ではなく、複数の方向に空調風を吹き出すことができ、かつ、居住者が受ける圧迫感の少ない室内機、いわゆる天井埋込型の室内機が多用される傾向にある。
【先行技術文献】
【特許文献】
【0003】
特開2004-85002号公報
【発明の概要】
【発明が解決しようとする課題】
【0004】
天井埋込型の室内機は、その外郭を形成する筐体が、側面壁部及び上面壁部を有する箱型の形状となっている。そして、この筐体内に配置される断熱部材も、側面壁部及び上面壁部を有する箱型の形状となっている。ところで、断熱部材を部品として例えばトラックなどで輸送する場合には、荷台やコンテナなどの高さ制限がある中、できるだけ多くの断熱部材を積み重ねて輸送することにより輸送コストを削減したいという要望がある。しかしながら、箱型形状の断熱部材によれば、積み重ねる数を1つ増やすごとに積荷の高さが断熱部材の高さ分ずつ増えてしまう。そのため、箱型形状の断熱部材について、その積み重ね数を増やすことは容易ではなく、従って、輸送コストの削減を図ることが困難である。
【0005】
そこで、本実施形態は、側面壁部及び上面壁部を有する箱型形状の断熱部材を備える空気調和機の室内機、及び、この種の空気調和機の室内機に備えられる箱型形状の断熱部材に関し、複数の断熱部材を積み重ねた場合における高さを抑制できるようにした技術案を提供する。
【課題を解決するための手段】
【0006】
本実施形態に係る空気調和機の室内機は、側面壁部及び上面壁部を有する筐体と、前記筐体の側面壁部に沿う断熱側面壁部及び前記筐体の上面壁部に沿う断熱上面壁部を有する断熱部材と、を備え、前記断熱側面壁部と前記断熱上面壁部が形成する角部に、他の前記断熱部材の一部を嵌め込むことが可能な嵌込部が形成されている。
【0007】
本実施形態に係る断熱部材は、側面壁部及び上面壁部を有する筐体により外郭が形成される空気調和機の室内機に備えられる断熱部材であって、前記筐体の側面壁部に沿う断熱側面壁部及び前記筐体の上面壁部に沿う断熱上面壁部を有し、前記断熱側面壁部と前記断熱上面壁部が形成する角部に、他の前記断熱部材の一部を嵌め込むことが可能な嵌込部が形成されている。
【図面の簡単な説明】
【0008】
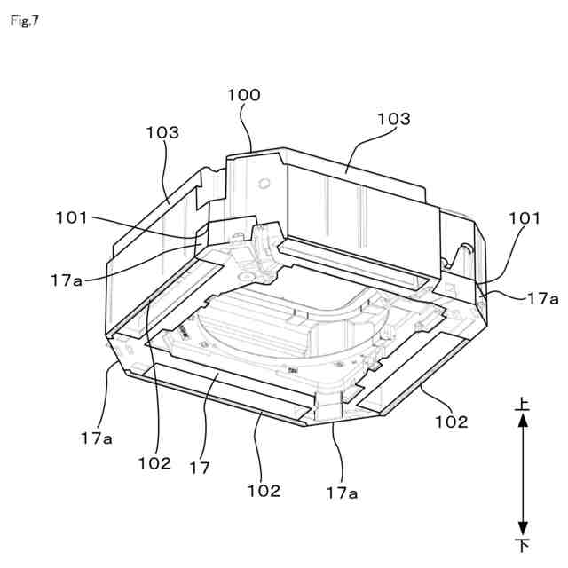
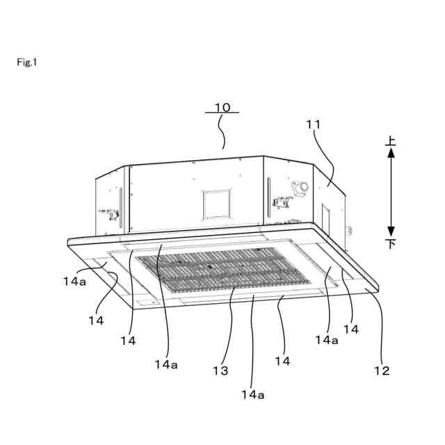
本実施形態に係る空気調和機の室内機の構成例を概略的に示す斜視図
本実施形態に係る空気調和機の室内機の構成例を概略的に示す縦断側面図
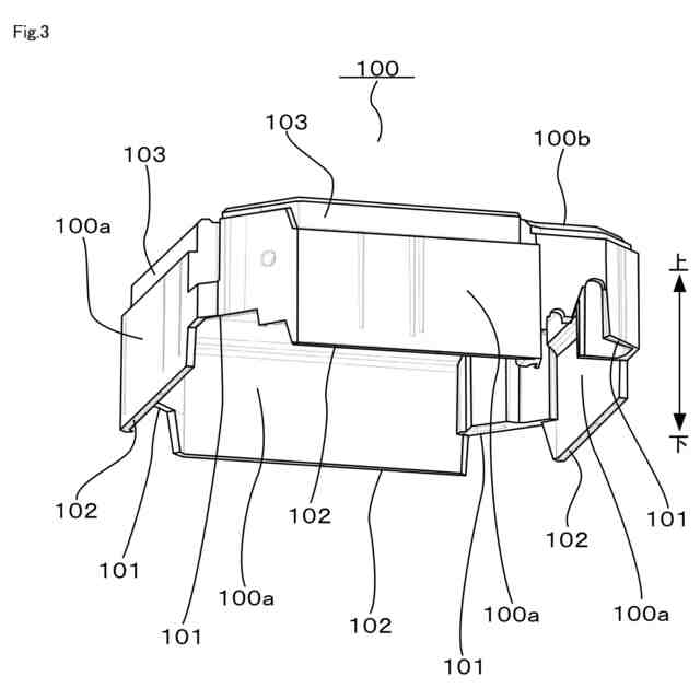
本実施形態に係る断熱部材の構成例を概略的に示す斜視図
本実施形態に係る断熱部材の構成例を概略的に示す縦断側面図
本実施形態に係る断熱部材のうち嵌込段部およびその周辺部分を拡大して例示する縦断側面図
本実施形態に係る断熱部材及びドレンパンの構成例を概略的に示す斜視図
本実施形態に係る断熱部材にドレンパンが組み付けられた状態を例示する斜視図
本実施形態に係る複数の断熱部材が積み重ねられた状態を例示する側面図
本実施形態に係る複数の断熱部材が積み重ねられた状態を例示する縦断側面図
本実施形態に係る断熱部材を積み重ねた場合における高さと従来の断熱部材を積み重ねた場合における高さとを比較した状態を例示する図
本実施形態に係る複数の断熱部材が積み重ねられた状態を例示する斜視図
【発明を実施するための形態】
【0009】
以下、空気調和機の室内機及び断熱部材に係る一実施形態について図面を参照しながら説明する。図1に例示する空気調和機の室内機10は、被空調空間である室内の天井に埋め込まれる室内機、いわゆる天井埋込型の室内機である。室内機10は、筐体11及び化粧パネル12を備えている。筐体11は、天井に設けられている図示しない矩形状の開口部に室内側から挿入される。そして、筐体11は、図示しない吊りボルト等により天井裏に吊られた状態で固定される。化粧パネル12は、筐体11の下方において室内側に露出した状態で取り付けられる。
【0010】
化粧パネル12は、概ね矩形の板状に形成されている。化粧パネル12には、空気吸込口13及び空気吹出口14が設けられている。空気吸込口13は、化粧パネル12の中央部において概ね正方形状に形成されている。空気吸込口13は、通気可能に格子状に開口した、いわゆる吸込グリルとして構成されている。空気吹出口14は、空気吸込口13の各辺に沿う長尺な開口を形成している。空気吹出口14には、当該空気吹出口14から吹き出される風の向きを調整するルーバ14aが回動可能に設けられている。
(【0011】以降は省略されています)
この特許をJ-PlatPat(特許庁公式サイト)で参照する
関連特許
日本キヤリア株式会社
羽根車
10日前
日本キヤリア株式会社
空気調和機の室内機、断熱部材
2日前
個人
集熱器具
23日前
株式会社トヨトミ
五徳
1か月前
個人
油ハネ防止カーテン
26日前
個人
UFO型空気清浄機
11日前
株式会社コロナ
空調装置
3か月前
株式会社コロナ
空調装置
1か月前
株式会社コロナ
空調装置
5か月前
株式会社コロナ
給湯装置
4か月前
株式会社コロナ
空調装置
2か月前
株式会社コロナ
空調装置
1か月前
株式会社コロナ
加湿装置
2か月前
株式会社コロナ
空調装置
2か月前
株式会社コロナ
空調装置
1か月前
株式会社コロナ
風呂給湯機
2か月前
株式会社コロナ
空気調和機
4か月前
個人
太陽光パネル傾斜装置
1か月前
株式会社コロナ
空気調和機
3か月前
個人
住宅換気空調システム
3か月前
株式会社コロナ
貯湯式給湯機
2か月前
ホーコス株式会社
排気フード
3か月前
株式会社コロナ
貯湯式給湯機
1か月前
個人
シンプルクーラー
1か月前
株式会社コロナ
直圧式給湯機
3か月前
株式会社コロナ
温水暖房装置
1か月前
株式会社コロナ
直圧式給湯機
4か月前
株式会社コロナ
暖房システム
2か月前
株式会社パロマ
給湯器
4か月前
株式会社コロナ
輻射式冷房装置
3か月前
三菱電機株式会社
換気扇
3日前
ホーコス株式会社
換気扇取付枠
2か月前
三菱電機株式会社
換気扇
1か月前
三菱電機株式会社
換気扇
1か月前
三菱電機株式会社
換気扇
1か月前
株式会社コロナ
貯湯式給湯装置
4か月前
続きを見る
他の特許を見る