TOP
|
特許
|
意匠
|
商標
特許ウォッチ
Twitter
他の特許を見る
公開番号
2025173938
公報種別
公開特許公報(A)
公開日
2025-11-28
出願番号
2024079822
出願日
2024-05-16
発明の名称
熱電発電器システム
出願人
アイデックス株式会社
代理人
ポレール弁理士法人
主分類
H10N
10/13 20230101AFI20251120BHJP()
要約
【課題】本発明の目的は、冷却フィンの冷却効率向上が図れ、発電効率に優れた熱電発電器システムを提供することにある。
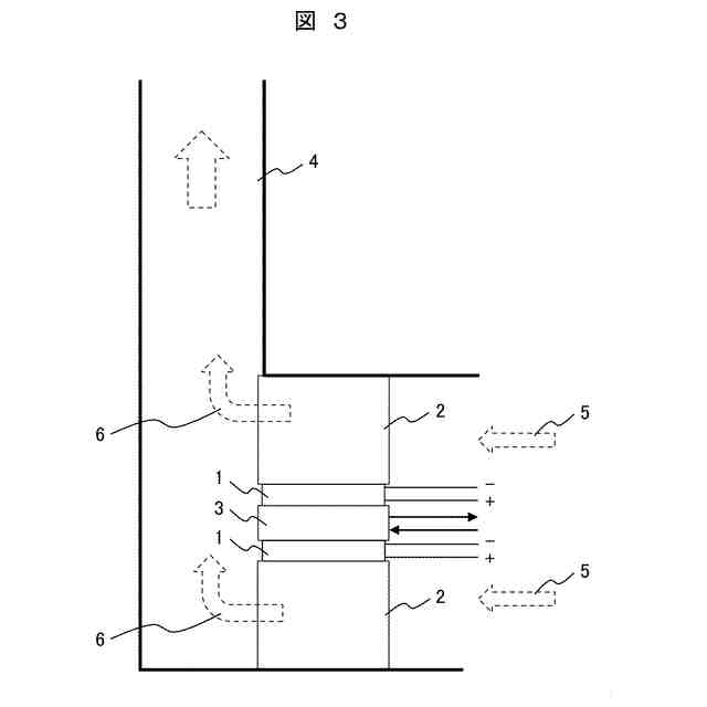
【解決手段】板状の熱電素子1により発電する熱電発電器を備えた熱電発電器システムにおいて、熱電素子1の一方の面を加熱する熱源3と、熱電素子の他方の面を冷却する空冷式の複数の冷却フィン2と、有する熱電発電器と、冷却フィンに流入空気5を送風するよう構成され、上下方向に延在し、冷却後の排出空気を回収して上部方向に排出する排気筒4と、を備える。
【選択図】図3
特許請求の範囲
【請求項1】
板状の熱電素子により発電する熱電発電器を備えた熱電発電器システムにおいて、
前記熱電発電器は、
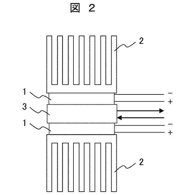
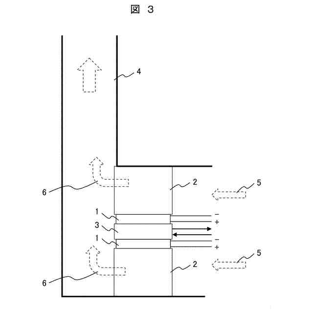
前記熱電素子の一方の面を加熱する熱源と、
前記熱電素子の他方の面を冷却する空冷式の冷却フィンとを備え、
前記冷却フィンに冷却空気を送風するよう構成され、
上下方向に延在し、冷却後の空気を回収して上部方向に排出する排気筒を備えたことを特徴とする熱電発電器システム。
続きを表示(約 1,100 文字)
【請求項2】
請求項1に記載の熱電発電器システムにおいて、
前記熱電発電器は、板状の2つの前記熱電素子の間に熱源となる熱交換器と、
板状の2つの前記熱電素子の前記熱交換器の反対側両面に、前記熱電素子を冷却する空冷式の2つの冷却フィンとを有し、
前記2つの冷却フィンには夫々個別に冷却空気を送風するよう構成し、夫々の冷却後の空気を回収し排出する排気筒を備えたことを特徴とする熱電発電器システム。
【請求項3】
請求項1に記載の熱電発電器システムにおいて、
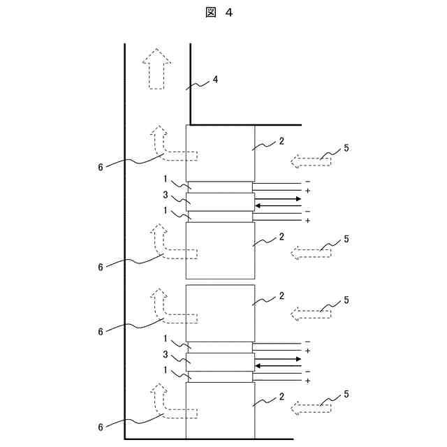
前記熱電発電器を少なくとも2つ、上下方向又は/及び水平方向に配置し、
前記排気筒に、複数の前記冷却フィンからの冷却後の空気を回収して上方に排出するよう構成したことを特徴とする熱電発電器システム。
【請求項4】
請求項1に記載の熱電発電器システムにおいて、
前記排気筒に内部の温度を維持する維持手段を備えたことを特徴とする熱電発電器システム。
【請求項5】
請求項1に記載の熱電発電器システムにおいて、
前記排気筒に内部の温度を加熱する加熱手段を備えたことを特徴とする熱電発電器システム。
【請求項6】
板状の熱電素子により発電する熱電発電器を備えた熱電発電器システムにおいて、
前記熱電発電器は、
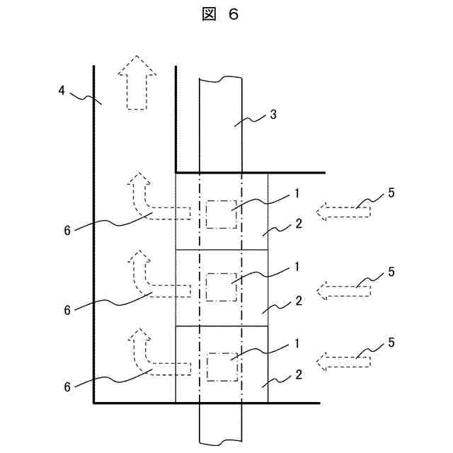
前記熱電素子の一方の面を加熱する熱源が上下方向又は水平方向に延在配置され、
前記熱源に対して、少なくとも一つの前記熱電素子を有し、
前記熱電素子の他方の面を冷却する空冷式の複数の冷却フィンとを備え、
複数の前記冷却フィンに個別に冷却空気を送風するよう構成され、
上下方向に延在し、冷却後の空気を回収して上部方向に排出する排気筒を備えたことを特徴とする熱電発電器システム。
【請求項7】
板状の熱電素子により発電する熱電発電器を備えた熱電発電器システムにおいて、
前記熱電発電器は、
前記熱電素子の一方の面を加熱する熱源と、
前記熱電素子の他方の面を冷却する空冷式の冷却フィンとを備え、
前記冷却フィンに冷却空気を送風するよう構成され、
上下方向に延在し、冷却後の空気を回収して上部方向に排出する排気筒とを備え、
前記冷却空気は、前記冷却フィンを通過して前記熱電素子の他方の面を冷却し、
冷却後の暖められた空気が前記排気筒の内で煙突効果により上昇して通風力が発生するよう構成したことを特徴とする熱電発電器システム。
発明の詳細な説明
【技術分野】
【0001】
本発明は、熱電発電器システムに関する。
続きを表示(約 1,300 文字)
【背景技術】
【0002】
特許文献1には、太陽熱を利用した空冷熱電発電技術が開示されている。また、特許文献2には、燃焼室で混合ガスを燃焼した熱を利用した空冷熱電発電技術が開示されている。
【先行技術文献】
【特許文献】
【0003】
国際公開第2014/080475号
特開平10-164876号公報
【発明の概要】
【発明が解決しようとする課題】
【0004】
しかしながら、特許文献1では、冷却構成として設置された冷却フィンは、上下方向で連通しており、上部フィンには下部フィンで暖められた空気が流れるので冷却効率が悪い。また、排気用駆動ファンが設けられており、その駆動エネルギーを必要とする。
【0005】
特許文献2では、熱入力部を熱電素子が挟むように配置され、その外側に冷却のためのファンを備えたフィン部を有している。上記同様、ファンの駆動エネルギーを必要とする。
【0006】
本発明の目的は、冷却フィンの冷却効率向上が図れ、発電効率に優れた熱電発電器システムを提供することにある。
【課題を解決するための手段】
【0007】
本発明の熱電発電器システムは、板状の熱電素子により発電する熱電発電器を備えた熱電発電器システムにおいて、前記熱電発電器は、前記熱電素子の一方の面を加熱する熱源と、前記熱電素子の他方の面を冷却する空冷式の冷却フィンとを備え、前記冷却フィンに冷却空気を送風するよう構成され、上下方向に延在し、冷却後の空気を回収して上部方向に排出する排気筒を備えたことを特徴とする。
【0008】
又は、本発明の熱電発電器システムは、板状の熱電素子により発電する熱電発電器を備えた熱電発電器システムにおいて、前記熱電発電器は、前記熱電素子の一方の面を加熱する熱源が上下方向又は水平方向に延在配置され、前記熱源に対して、少なくとも一つの前記熱電素子を有し、前記熱電素子の他方の面を冷却する空冷式の複数の冷却フィンとを備え、複数の前記冷却フィンに個別に冷却空気を送風するよう構成され、上下方向に延在し、冷却後の空気を回収して上部方向に排出する排気筒を備えたことを特徴とする。
【0009】
又は、本発明の熱電発電器システムは、板状の熱電素子により発電する熱電発電器を備えた熱電発電器システムにおいて、前記熱電発電器は、前記熱電素子の一方の面を加熱する熱源と、前記熱電素子の他方の面を冷却する空冷式の冷却フィンとを備え、前記冷却フィンに冷却空気を送風するよう構成され、上下方向に延在し、冷却後の空気を回収して上部方向に排出する排気筒とを備え、前記冷却空気は、前記冷却フィンを通過して前記熱電素子の他方の面を冷却し、冷却後の暖められた空気が前記排気筒の内で煙突効果により上昇して通風力が発生するよう構成したことを特徴とする。
【発明の効果】
【0010】
本発明によれば、冷却フィンの冷却効率向上が図れ、発電効率向上が図れる熱電発電器システムを提供することができる。
【図面の簡単な説明】
(【0011】以降は省略されています)
この特許をJ-PlatPat(特許庁公式サイト)で参照する
関連特許
個人
積和演算用集積回路
1か月前
サンケン電気株式会社
半導体装置
1か月前
日機装株式会社
半導体発光装置
25日前
旭化成株式会社
発光素子
1か月前
ローム株式会社
抵抗チップ
1か月前
ローム株式会社
半導体装置
9日前
株式会社東芝
半導体装置
17日前
三菱電機株式会社
半導体装置
4日前
三菱電機株式会社
半導体装置
1か月前
三菱電機株式会社
半導体装置
17日前
株式会社半導体エネルギー研究所
表示装置
9日前
ローム株式会社
半導体集積回路
1か月前
日亜化学工業株式会社
発光装置
1か月前
ローム株式会社
半導体装置
1か月前
ローム株式会社
半導体装置
2日前
ローム株式会社
半導体装置
1か月前
株式会社半導体エネルギー研究所
発光デバイス
25日前
ローム株式会社
窒化物半導体装置
1か月前
サンケン電気株式会社
半導体装置
17日前
株式会社半導体エネルギー研究所
発光デバイス
1か月前
ローム株式会社
半導体装置
1か月前
日亜化学工業株式会社
発光素子
1か月前
大日本印刷株式会社
太陽電池
1か月前
新電元工業株式会社
半導体素子
2日前
新電元工業株式会社
半導体素子
2日前
新電元工業株式会社
半導体素子
2日前
日本ゼオン株式会社
構造体
1か月前
日亜化学工業株式会社
発光装置
1か月前
日亜化学工業株式会社
発光素子
1か月前
ローム株式会社
半導体装置
17日前
今泉工業株式会社
光発電装置及びその製造方法
1か月前
日亜化学工業株式会社
発光装置
1か月前
日亜化学工業株式会社
発光装置
2日前
住友電気工業株式会社
炭化珪素半導体装置
1か月前
ローム株式会社
半導体装置
1か月前
住友電気工業株式会社
炭化珪素半導体装置
9日前
続きを見る
他の特許を見る