TOP
|
特許
|
意匠
|
商標
特許ウォッチ
Twitter
他の特許を見る
10個以上の画像は省略されています。
公開番号
2025173545
公報種別
公開特許公報(A)
公開日
2025-11-28
出願番号
2024079103
出願日
2024-05-15
発明の名称
列車指定システム、列車指定方法及びプログラム
出願人
東日本旅客鉄道株式会社
,
株式会社ジェイアール東日本物流
代理人
弁理士法人光陽国際特許事務所
主分類
G06Q
10/0834 20230101AFI20251120BHJP(計算;計数)
要約
【課題】旅客列車を用いた荷物の輸送を円滑に行う。
【解決手段】物流システム1は、荷物を輸送することが可能な旅客列車群から所望の荷物を輸送する列車を指定するシステム(列車指定システム)であって、サーバ10は、所望の荷物に係る輸送希望条件を受け付ける。また、サーバ10は、旅客列車群の荷物輸送に関する制約条件の下、受け付けられた輸送希望条件を満たす列車を上記の旅客列車群から指定(検索)する。
【選択図】図8
特許請求の範囲
【請求項1】
荷物を輸送することが可能な旅客列車群から所望の荷物を輸送する列車を指定する列車指定システムであって、
前記所望の荷物に係る輸送希望条件を受け付ける受付部と、
前記旅客列車群の荷物輸送に関する制約条件の下、前記受付部で受け付けられた前記輸送希望条件を満たす列車を前記旅客列車群から指定する指定部と、
を備えることを特徴とする列車指定システム。
続きを表示(約 1,800 文字)
【請求項2】
前記受付部は、
前記輸送希望条件として、少なくとも、前記所望の荷物の集荷元、前記所望の荷物の納品先及び納品日時、並びに、前記所望の荷物の量を受け付ける、
ことを特徴とする請求項1に記載の列車指定システム。
【請求項3】
前記荷物輸送に関する制約条件は、
当該制約条件として、少なくとも、前記旅客列車群を構成する列車ごとに前記荷物を積載可能な荷物積載可能容量が定められている、
ことを特徴とする請求項2に記載の列車指定システム。
【請求項4】
前記指定部は、
前記輸送希望条件である前記所望の荷物の量を積載可能な前記荷物積載可能容量を有する列車が無い場合、前記所望の荷物を複数に分け、分けられた荷物ごとに当該荷物の量を積載可能な前記荷物積載可能容量を有する列車を指定する、
ことを特徴とする請求項3に記載の列車指定システム。
【請求項5】
前記荷物輸送に関する制約条件は、
当該制約条件として、前記旅客列車群のそれぞれが停車する駅ごとに当該駅において一度に積み下ろしが可能な荷物積み下ろし可能容量が定められている、
ことを特徴とする請求項3に記載の列車指定システム。
【請求項6】
前記旅客列車群の運行ダイヤに変更が生じた場合に、当該変更後の運行ダイヤを取得する取得部と、
前記取得部により取得された前記変更後の運行ダイヤに基づいて、当該運行ダイヤが変更された旅客列車群のなかに前記指定部により指定された前記列車があるか否かを判定する判定部と、
前記判定部により、前記運行ダイヤが変更された旅客列車群のなかに前記指定部により指定された前記列車があると判定された場合に、代替輸送ルートを検索する検索部と、
を備えることを特徴とする請求項1に記載の列車指定システム。
【請求項7】
前記指定部により指定された列車に関する列車情報に変更が生じた場合に、当該変更後の列車情報を取得する取得部と、
前記取得部により取得された前記変更後の列車情報に基づいて、前記指定部により指定された列車が、前記受付部で受け付けられた前記輸送希望条件を満たす列車であるか否かを判定する判定部と、
を備え、
前記指定部は、前記判定部により、前記指定部により指定された列車が、前記受付部で受け付けられた前記輸送希望条件を満たす列車ではないと判定された場合に、当該輸送希望条件を満たす列車を前記旅客列車群から再度指定する、
ことを特徴とする請求項1に記載の列車指定システム。
【請求項8】
荷物を輸送することが可能な旅客列車群から所望の荷物を輸送する列車を指定する列車指定システムが実行する列車指定方法であって、
前記所望の荷物に係る輸送希望条件を受け付ける受付工程と、
前記旅客列車群の荷物輸送に関する制約条件の下、前記受付工程で受け付けられた前記輸送希望条件を満たす列車を前記旅客列車群から指定する指定工程と、
を含むことを特徴とする列車指定方法。
【請求項9】
前記旅客列車群の運行ダイヤに変更が生じた場合に、当該変更後の運行ダイヤを取得する取得工程と、
前記取得工程により取得された前記変更後の運行ダイヤに基づいて、当該運行ダイヤが変更された旅客列車群のなかに前記指定工程により指定された前記列車があるか否かを判定する判定工程と、
前記判定工程により、前記運行ダイヤが変更された旅客列車群のなかに前記指定工程により指定された前記列車があると判定された場合に、代替輸送ルートを検索する検索工程と、
を含むことを特徴とする請求項8に記載の列車指定方法。
【請求項10】
荷物を輸送することが可能な旅客列車群から所望の荷物を輸送する列車を指定する列車指定システムのコンピュータを、
前記所望の荷物に係る輸送希望条件を受け付ける受付手段、
前記旅客列車群の荷物輸送に関する制約条件の下、前記受付手段で受け付けられた前記輸送希望条件を満たす列車を前記旅客列車群から指定する指定手段、
として機能させることを特徴とするプログラム。
発明の詳細な説明
【技術分野】
【0001】
本発明は、列車指定システム、列車指定方法及びプログラムに関する。
続きを表示(約 1,500 文字)
【背景技術】
【0002】
従来、送り主によって駅に届けられた荷物を目的の駅まで列車などで輸送し、荷物が目的の駅に到着した後、受取人に連絡し、受取人が目的の駅で荷物を受け取るといった配送システムが開示されている(特許文献1参照)。
【先行技術文献】
【特許文献】
【0003】
特開2004-342051号公報
【発明の概要】
【発明が解決しようとする課題】
【0004】
しかしながら、上記特許文献1に開示されている配送システムでは、列車が荷物をどのくらい積み込むことができるか、送り主より依頼された荷物の量がどれくらいであるか等について何ら開示がなされていない。このため、列車や荷物の状況次第で所望の荷物を列車に積み込むことができず、場合によってはユーザにとって満足の行く配送が行われないおそれがある。
【0005】
本発明は、上記課題に鑑みてなされたもので、旅客列車を用いた荷物の輸送を円滑に行うことを目的とする。
【課題を解決するための手段】
【0006】
上記課題を解決するため、本発明の列車指定システムは、
荷物を輸送することが可能な旅客列車群から所望の荷物を輸送する列車を指定する列車指定システムであって、
前記所望の荷物に係る輸送希望条件を受け付ける受付部と、
前記旅客列車群の荷物輸送に関する制約条件の下、前記受付部で受け付けられた前記輸送希望条件を満たす列車を前記旅客列車群から指定する指定部と、
を備えることを特徴とする。
【発明の効果】
【0007】
本発明によれば、旅客列車を用いた荷物の輸送を円滑に行うことができる。
【図面の簡単な説明】
【0008】
物流システムの概略構成図である。
列車データベースの内容例を示す図である。
サーバの機能構成を示すブロック図である。
荷物管理テーブルの内容例を示す図である。
作業員数管理テーブルの内容例を示す図である。
輸送可能荷物管理テーブルの内容例を示す図である。
端末装置の機能構成を示すブロック図である。
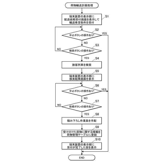
荷物輸送計画処理の制御手順を示すフローチャートである。
配送依頼受付画面の例を示す図である。
検索結果画面の例を示す図である。
検索結果画面の他の例を示す図である。
検索結果画面の他の例を示す図である。
代替輸送計画処理の制御手順を示すフローチャートである。
運行ダイヤ変更通知画面の例を示す図である。
代替輸送ルート検索結果画面の例を示す図である。
運行ダイヤ変更通知画面の他の例を示す図である。
代替輸送ルート検索結果画面の他の例を示す図である。
運行ダイヤ変更通知画面の他の例を示す図である。
代替輸送ルート検索結果画面の他の例を示す図である。
荷物管理テーブルの内容例を示す図である。
【発明を実施するための形態】
【0009】
以下、図面を参照して本発明の実施形態について説明する。ただし、発明の範囲は、図示例に限定されない。
【0010】
[物流システムの構成]
まず、図1を参照して、本実施形態の構成を説明する。図1は、本実施形態の物流システム1の概略構成図である。
(【0011】以降は省略されています)
この特許をJ-PlatPat(特許庁公式サイト)で参照する
関連特許
個人
詐欺保険
1か月前
個人
縁伊達ポイン
1か月前
個人
5掛けポイント
1か月前
個人
RFタグシート
1か月前
個人
職業自動販売機
27日前
個人
QRコードの彩色
2か月前
個人
地球保全システム
2か月前
個人
ペルソナ認証方式
1か月前
個人
自動調理装置
1か月前
個人
情報処理装置
1か月前
個人
立体グラフの利用方法
6日前
個人
生体情報の登録システム
今日
個人
残土処理システム
2か月前
個人
農作物用途分配システム
1か月前
個人
データ復元システム
1日前
個人
知的財産出願支援システム
2か月前
NISSHA株式会社
入力装置
7日前
個人
サービス情報提供システム
29日前
個人
タッチパネル操作指代替具
1か月前
個人
インターネットの利用構造
1か月前
個人
携帯端末障害問合せシステム
1か月前
個人
スケジュール調整プログラム
1か月前
個人
学習用データ生成装置
8日前
個人
エリアガイドナビAIシステム
1か月前
株式会社キーエンス
受発注システム
2か月前
個人
食品レシピ生成システム
2か月前
個人
ナショナルブランド共同ストア
今日
株式会社キーエンス
受発注システム
2か月前
株式会社キーエンス
受発注システム
2か月前
トヨタ自動車株式会社
通知装置
1か月前
キヤノン株式会社
表示システム
2か月前
キヤノン株式会社
印刷システム
1か月前
エッグス株式会社
情報処理装置
1か月前
キヤノン株式会社
画像認識装置
21日前
キヤノン株式会社
情報処理装置
21日前
株式会社ワコム
電子ペン
1か月前
続きを見る
他の特許を見る