TOP
|
特許
|
意匠
|
商標
特許ウォッチ
Twitter
他の特許を見る
10個以上の画像は省略されています。
公開番号
2025173339
公報種別
公開特許公報(A)
公開日
2025-11-27
出願番号
2024078885
出願日
2024-05-14
発明の名称
センサ設置支援装置及びセンサ設置支援方法
出願人
株式会社日立製作所
代理人
弁理士法人開知
主分類
G08G
5/00 20250101AFI20251119BHJP(信号)
要約
【課題】センサの設置位置と設置角度を容易に決定することができるセンサ設置支援装置及びセンサ設置支援方法を提供する。
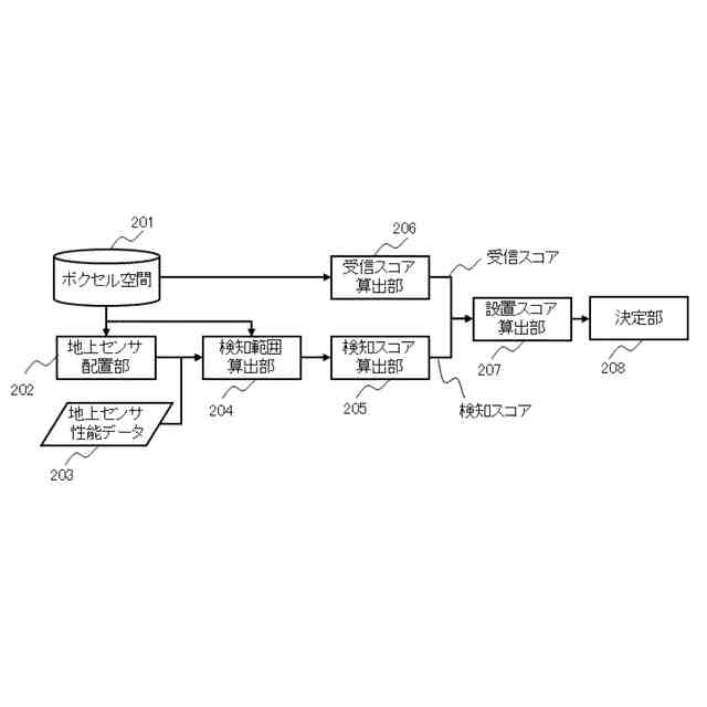
【解決手段】センサ設置支援装置のプロセッサ(制御部301)は、ボクセル空間201に設置されるセンサ(例えば、カメラ102)の性能に基づいて、センサの検知範囲をセンサの位置と角度の組み合わせごとに算出する(検知範囲算出部204)。プロセッサは、ボクセルごとのセンサによる検知の必要性を示すスコア(例えば、受信スコア)を算出する(例えば、受信スコア算出部206)。プロセッサは、検知範囲のボクセルのスコア(例えば、受信スコア)に基づいて、センサを設置する位置と角度の組み合わせごとの優先度を示す設置スコアを算出する(設置スコア算出部207)。プロセッサは、設置スコアに基づいてセンサの位置と角度を出力する(決定部208)。
【選択図】図2
特許請求の範囲
【請求項1】
ボクセル空間に設置されるセンサの性能に基づいて、前記センサの検知範囲を前記センサの位置と角度の組み合わせごとに算出し、
ボクセルごとの前記センサによる検知の必要性を示すスコアを算出し、
前記検知範囲の前記ボクセルの前記スコアに基づいて、前記センサを設置する位置と角度の組み合わせごとの優先度を示す設置スコアを算出し、
前記設置スコアに基づいて前記センサの位置と角度を出力する
プロセッサを備えるセンサ設置支援装置。
続きを表示(約 1,400 文字)
【請求項2】
請求項1に記載のセンサ設置支援装置であって、
前記スコアは、前記ボクセルごとの衛星測位システムの測位センサによる検知の困難さを示す受信スコアであり、
前記プロセッサは、
前記センサと前記検知範囲のそれぞれの前記ボクセルとの間の距離に基づいて、前記ボクセルごとの前記センサによる検知のしやすさを示す検知スコアを算出し、
それぞれの前記ボクセルと前記ボクセル空間に配置される立体物の位置に基づいて、前記受信スコアを算出し、
前記検知スコアと前記受信スコアとに基づいて前記設置スコアを算出する
ことを特徴とするセンサ設置支援装置。
【請求項3】
請求項1に記載のセンサ設置支援装置であって、
表示装置と記憶装置を備え、
前記プロセッサは、
少なくとも1組以上の前記センサの位置と角度を設定し、
設定された前記センサの位置と角度の組み合わせごとに、前記設置スコアを前記表示装置に表示し、又は前記記憶装置に格納する
ことを特徴とするセンサ設置支援装置。
【請求項4】
請求項3に記載のセンサ設置支援装置であって、
前記プロセッサは、
前記センサの位置と角度を指定するためのユーザインタフェースを前記表示装置に表示し、
指定された前記センサの位置と角度の組み合わせについて、前記設置スコアを前記表示装置に表示し、又は前記記憶装置に格納する
ことを特徴とするセンサ設置支援装置。
【請求項5】
請求項3に記載のセンサ設置支援装置であって、
前記プロセッサは、
前記センサの位置の範囲を指定するためのユーザインタフェースを前記表示装置に表示し、
指定された範囲の前記センサの位置と角度の組み合わせごとに、前記設置スコアを前記表示装置に表示し、又は前記記憶装置に格納する
ことを特徴とするセンサ設置支援装置。
【請求項6】
請求項1に記載のセンサ設置支援装置であって、
前記センサは、カメラ、レーダ、又はLiDARである
ことを特徴とするセンサ設置支援装置。
【請求項7】
請求項1に記載のセンサ設置支援装置であって、
前記センサは、風況センサである
ことを特徴とするセンサ設置支援装置。
【請求項8】
請求項7に記載のセンサ設置支援装置であって、
前記スコアは、それぞれの前記ボクセルの時間帯ごとの最大風速変化又はそれぞれの前記ボクセルと26近傍のボクセルとの間の最大風速変化を示す風況スコアであり、
前記プロセッサは、
気象データに基づいて、前記風況スコアを算出し、
前記検知範囲の前記ボクセルの前記風況スコアに基づいて前記設置スコアを算出する
ことを特徴とするセンサ設置支援装置。
【請求項9】
請求項1に記載のセンサ設置支援装置であって、
前記センサの性能は、前記センサの視野角及び最大検知距離を示す
ことを特徴とするセンサ設置支援装置。
【請求項10】
請求項2に記載のセンサ設置支援装置であって、
前記センサと前記測位センサは、移動体の位置を検知する
ことを特徴とするセンサ設置支援装置。
(【請求項11】以降は省略されています)
発明の詳細な説明
【技術分野】
【0001】
本発明は、センサ設置支援装置及びセンサ設置支援方法に関する。
続きを表示(約 2,100 文字)
【背景技術】
【0002】
航空機などの飛行体を交通・物流インフラとして社会実装するには、多数の飛行体を安全かつ高効率に制御することが必要になる。特に、ドローン等の小型飛行体は高度150メートル以下を飛行することから、建造物の間等で自己位置把握が困難になる可能性がある。そのため、地上にセンサを設置することで安全な飛行を確保することが可能となる。しかしながら、複数のセンサを各所に配置すればカバーできる空域は広くなるが、センサが増えるほど設置コストが増大する。そのため、配置するセンサの位置の最適化が重要となる。
【0003】
センサの配置位置を特定する技術として、例えば、特許文献1に記載の技術がある。この公報には、移動体が限定領域自動運転を行う対象領域の3次元地図をグリッド分割する地図情報変換部と、前記対象領域における移動体の移動経路における第1のグリッドと第2のグリッドの間の死角を推定する死角推定部と、前記死角推定部が推定した複数の死角から前記対象領域についての死角地図を生成するリスク地図生成部と、前記対象領域内へ設置予定のセンサの種類及び設置位置の候補からセンサの配置位置を推定するセンサ配置推定部を備えることを特徴とするセンサ設置位置推定装置が開示されている。
【先行技術文献】
【特許文献】
【0004】
特開2023-135970号公報
【発明の概要】
【発明が解決しようとする課題】
【0005】
しかしながら、特許文献1に記載の技術は、移動体から見た死角領域を推定するために移動体のどの位置にセンサが搭載されているかという情報と移動体が走行する経路が事前に必要である。また、特許文献1に記載の技術は、移動体のサイズおよび経路は既知であることを想定している。つまり、特許文献1に記載の技術は、既知の経路上を既知の移動体が走行することを前提としており、新たな経路が設定された場合や新たな移動体が走行することになった場合への適用が困難である。
【0006】
本発明の目的は、上記の課題に鑑み、センサの設置位置と設置角度を容易に決定することができるセンサ設置支援装置及びセンサ設置支援方法を提供することにある。
【課題を解決するための手段】
【0007】
上記目的を達成するために、本発明の一例のセンサ設置支援装置は、ボクセル空間に設置されるセンサの性能に基づいて、前記センサの検知範囲を前記センサの位置と角度の組み合わせごとに算出し、ボクセルごとの前記センサによる検知の必要性を示すスコアを算出し、前記検知範囲の前記ボクセルの前記スコアに基づいて、前記センサを設置する位置と角度の組み合わせごとの優先度を示す設置スコアを算出し、前記設置スコアに基づいて前記センサの位置と角度を出力するプロセッサを備える。
【発明の効果】
【0008】
本発明によれば、センサの設置位置と設置角度を容易に決定することができる。上記した以外の課題、構成及び効果は、以下の実施形態の説明により明らかにされる。
【図面の簡単な説明】
【0009】
センサ設置支援装置が適用される状況の概念図
センサ設置支援装置のソフトウェア構成図
センサ設置支援装置のハードウェア構成図
ボクセル空間の作成例を示す図
地上センサ配置部の処理フローを示す図
地上センサ配置部において、ユーザが設置範囲を設定するためのユーザインタフェースを示す図
センサの配置をユーザ自身が決めて設置スコアを算出する場合のユーザインタフェースを示す図
視点選択メニューで「センサ」を選択したときの画面を示す図
受信スコア算出部の処理フローを示す図
ボクセルと立体物との位置関係を示す図
受信スコアを示す図
設置スコア算出の処理フローを示す図
検知スコアの概念図
ボクセル空間における検知範囲の説明図
設置スコアのデータ構造を示す図
設置スコアの算出が終了した後で表示される画面を示す図
センサ設置支援装置のソフトウェア構成図
風況スコア算出部の処理フローを示す図
風況スコア算出部の処理フローを示す図
26近傍のボクセルを示す図
【発明を実施するための形態】
【0010】
以下、本発明の実施例について図面を参照しつつ説明する。本発明の各種の構成要素は必ずしも個々に独立した存在である必要はなく、一の構成要素が複数の部材から成ること、複数の構成要素が一の部材から成ること、或る構成要素が別の構成要素の一部であること、或る構成要素の一部と他の構成要素の一部とが重複すること、などを許容する。また、各図中、同等の要素には同一の符号を付し、重複した説明は適宜省略する。
(【0011】以降は省略されています)
この特許をJ-PlatPat(特許庁公式サイト)で参照する
関連特許
日本精機株式会社
警報システム
2か月前
個人
安全支援装置
22日前
個人
自動電動車椅子
2か月前
株式会社SUBARU
車両
1か月前
スズキ株式会社
運転支援装置
2か月前
エムケー精工株式会社
車両誘導装置
3か月前
ニッタン株式会社
検知器
2か月前
ニッタン株式会社
検知器
2か月前
日本無線株式会社
船舶システム
23日前
ニッタン株式会社
検知器
2か月前
個人
磁気路上での車両の路線離脱防御
1か月前
ニッタン株式会社
検知器
1か月前
株式会社国際電気
防災システム
3か月前
トヨタ自動車株式会社
サーバ
1か月前
株式会社SUBARU
運転支援装置
1か月前
トヨタ自動車株式会社
サーバ
2か月前
日本信号株式会社
異常走行検出装置
2か月前
ダイハツ工業株式会社
移動支援装置
1か月前
株式会社小糸製作所
移動体検出装置
2か月前
大阪瓦斯株式会社
音声出力システム
1か月前
株式会社デンソー
運航管理装置
1か月前
三菱自動車工業株式会社
制御システム
1か月前
日本精機株式会社
報知装置及び報知システム
2か月前
株式会社CCT
通信装置及び表示方法
1か月前
株式会社小糸製作所
車両検出システム
2か月前
株式会社SUBARU
事故情報収集装置
1か月前
株式会社 ミックウェア
車内環境制御システム
1か月前
能美防災株式会社
火災感知器
2か月前
ホーチキ株式会社
火災検出システム
1か月前
株式会社SUBARU
車室内異常検知装置
1か月前
本田技研工業株式会社
物体検出装置
3か月前
トヨタ自動車株式会社
通信システム
今日
ヨシモトポール株式会社
接近報知システム
2か月前
能美防災株式会社
非常伝達装置
2か月前
株式会社関電工
車両運行通知システム
1か月前
大阪瓦斯株式会社
音声出力装置
1か月前
続きを見る
他の特許を見る