TOP
|
特許
|
意匠
|
商標
特許ウォッチ
Twitter
他の特許を見る
10個以上の画像は省略されています。
公開番号
2025172560
公報種別
公開特許公報(A)
公開日
2025-11-26
出願番号
2024078135
出願日
2024-05-13
発明の名称
圧縮機システムおよびプログラムの更新方法
出願人
株式会社日立産機システム
代理人
弁理士法人筒井国際特許事務所
主分類
F04B
49/02 20060101AFI20251118BHJP(液体用容積形機械;液体または圧縮性流体用ポンプ)
要約
【課題】長時間の停止ができない圧縮機において、空気圧縮機が負荷状況に応じて、空気圧縮機自らソフトウェアの更新タイミングを判断可能なシステムを実現する。
【解決手段】圧縮空気を生成する圧縮機本体と、圧縮機本体を駆動するモータと、プログラムを記憶し、プログラムに従ってモータの制御を行う制御部と、を備え、制御部は、プログラムの更新所要時間を算出した後、圧縮機本体の無負荷運転中において、更新所要時間を確保できると判断した場合に、プログラムの更新を行う、圧縮機システムを用いる。
【選択図】図4
特許請求の範囲
【請求項1】
圧縮空気を生成する圧縮機本体と、
圧縮機本体を駆動するモータと、
プログラムを記憶し、前記プログラムに従って前記モータの制御を行う制御部と、
を備え、
前記制御部は、前記プログラムの更新所要時間を算出した後、前記圧縮機本体の無負荷運転中において、前記更新所要時間を確保できると判断した場合に、前記プログラムの更新を行う、圧縮機システム。
続きを表示(約 1,100 文字)
【請求項2】
請求項1に記載の圧縮機システムにおいて、
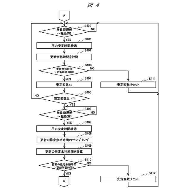
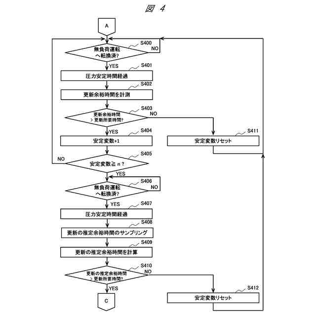
前記制御部は、前記更新所要時間を算出した後、前記圧縮機本体の無負荷運転中に、更新の推定余裕時間を算出し、前記更新の推定余裕時間が前記更新所要時間より大きい場合に、前記更新所要時間を確保できると判断し、前記プログラムの更新を行う、圧縮機システム。
【請求項3】
請求項1に記載の圧縮機システムにおいて、
前記制御部は、前記更新所要時間を算出した後、更新最大勾配を計算し、前記圧縮機本体の無負荷運転中に、実測勾配を計算し、前記実測勾配が前記更新最大勾配より小さい場合に、前記更新所要時間を確保できると判断し、前記プログラムの更新を行う、圧縮機システム。
【請求項4】
請求項2または3に記載の圧縮機システムにおいて、
負荷運転は、前記圧縮機システムが圧縮空気貯蔵部の空気圧力が停止圧力に達するまで、圧縮空気を生成する状態であり、前記圧縮機システムがロードアンロード機構を備えている場合は、ロード運転中の状態である、圧縮機システム。
【請求項5】
圧縮空気を生成する圧縮機本体と、制御部と、圧縮機本体を駆動するモータとを備えた圧縮機の制御に用いるプログラムの更新方法であって、
前記制御部は、前記プログラムの更新所要時間を算出した後、前記圧縮機本体の無負荷運転中において、前記更新所要時間を確保できると判断した場合に、前記プログラムの更新を行う、プログラムの更新方法。
【請求項6】
請求項5に記載のプログラムの更新方法において、
前記制御部は、前記更新所要時間を算出した後、前記圧縮機本体の無負荷運転中に、更新の推定余裕時間を算出し、前記更新の推定余裕時間が前記更新所要時間より大きい場合に、前記更新所要時間を確保できると判断し、前記プログラムの更新を行う、プログラムの更新方法。
【請求項7】
請求項5に記載のプログラムの更新方法において、
前記制御部は、前記更新所要時間を算出した後、更新最大勾配を計算し、前記圧縮機本体の無負荷運転中に、実測勾配を計算し、前記実測勾配が前記更新最大勾配より小さい場合に、前記更新所要時間を確保できると判断し、プログラムの更新方法。
【請求項8】
請求項6または7に記載のプログラムの更新方法において、
負荷運転は、前記圧縮機が圧縮空気貯蔵部の空気圧力が停止圧力に達するまで、圧縮空気を生成する状態であり、前記圧縮機がロードアンロード機構を備えている場合は、ロード運転中の状態である、プログラムの更新方法。
発明の詳細な説明
【技術分野】
【0001】
本開示は、気体を圧縮して送出する圧縮機に関する圧縮機システムおよびプログラムの更新方法に関する。
続きを表示(約 1,200 文字)
【背景技術】
【0002】
圧縮空気を使用した負荷設備に圧縮空気を供給する装置として空気圧縮機を用いられている。圧縮機は、昇圧および降圧を繰り返し、圧縮空気貯蔵部(エアタンク)の圧力を所定の範囲内に保ちつつ24時間稼働する場合がある。
【0003】
特許文献1(特開2022-106467号公報)には、給水装置用制御装置において、新制御ソフトウェアを受信時間中に旧制御ソフトウェアを利用可能とすることで、ソフトウェアの更新時間を短縮することが記載されている。
【先行技術文献】
【特許文献】
【0004】
特開2022-106467号公報
【発明の概要】
【発明が解決しようとする課題】
【0005】
特許文献1に記載の構成においては、圧力制御部のソフトウェアを更新するタイミングは管理サーバによる判断の元、またはユーザが事前に設定した時間帯にシステムを停止させ、更新を実施する。すなわち、装置が稼働しない時間帯を把握する必要な構成となっている。しかし、このような構成では、常時稼働が必要な産業機器に対応することができない。
【0006】
例えば、ソフトウェアに不具合があるため、ソフトウェアの更新が急を要する場合、機器が決まった時間帯かつ停止時のみ更新可能となっているため、緊急時のソフトウェア更新に人による介入が必要とされる。
【0007】
本開示は、上記の実情に鑑みて、長時間の停止ができない圧縮機において、空気圧縮機が負荷状況に応じて、空気圧縮機自らソフトウェアの更新タイミングを判断可能なシステムの実現を目的とする。
【課題を解決するための手段】
【0008】
本願において開示される実施の形態のうち、代表的なものの概要を簡単に説明すれば、次のとおりである。
【0009】
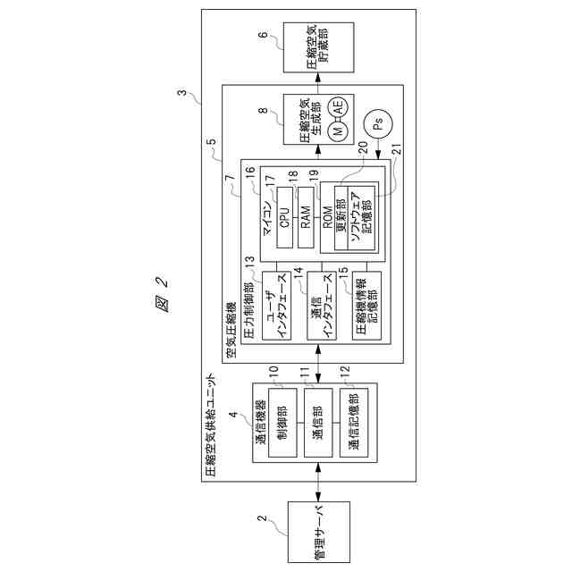
一実施の形態である圧縮機システムは、圧縮空気を生成する圧縮機本体と、圧縮機本体を駆動するモータと、プログラムを記憶し、前記プログラムに従って前記モータの制御を行う制御部と、を備えるものである。ここで、前記制御部は、前記プログラムの更新所要時間を算出した後、前記圧縮機本体の無負荷運転中において、前記更新所要時間を確保できると判断した場合に、前記プログラムの更新を行う。
【0010】
一実施の形態であるプログラムの更新方法は、圧縮空気を生成する圧縮機本体と、制御部と、圧縮機本体を駆動するモータとを備えた圧縮機の制御に用いるプログラムの更新方法であって、前記制御部は、前記プログラムの更新所要時間を算出した後、前記圧縮機本体の無負荷運転中において、前記更新所要時間を確保できると判断した場合に、前記プログラムの更新を行うものである。
【発明の効果】
(【0011】以降は省略されています)
この特許をJ-PlatPat(特許庁公式サイト)で参照する
関連特許
個人
海流製造装置。
2か月前
株式会社スギノマシン
圧縮機
1か月前
株式会社ツインバード
送風装置
2か月前
株式会社ツインバード
送風装置
2か月前
日機装株式会社
遠心ポンプ
1か月前
カヤバ株式会社
電動ポンプ
3か月前
カヤバ株式会社
電動ポンプ
20日前
ビッグボーン株式会社
送風装置
3か月前
株式会社不二越
蓄圧装置
3か月前
株式会社酉島製作所
ポンプ
4か月前
株式会社ノーリツ
ロータリ圧縮機
2か月前
サンデン株式会社
スクロール圧縮機
1か月前
サンデン株式会社
スクロール圧縮機
1か月前
小倉クラッチ株式会社
ルーツブロア
4か月前
サンデン株式会社
可変容量型圧縮機
28日前
樫山工業株式会社
真空ポンプ
1か月前
株式会社不二越
ベーンポンプ
4か月前
サンデン株式会社
スクロール圧縮機
1か月前
株式会社坂製作所
スクロール圧縮機
4か月前
株式会社ノーリツ
ロータリー圧縮機
4か月前
株式会社豊田自動織機
流体機械
2か月前
株式会社島津製作所
真空ポンプ
2か月前
株式会社クボタ
作業機
21日前
株式会社島津製作所
真空ポンプ
3か月前
株式会社チロル
送風機、送風機付衣服
3か月前
エドワーズ株式会社
真空ポンプ
2か月前
株式会社アイシン
ポンプケース
2か月前
株式会社豊田自動織機
電動圧縮機
3か月前
株式会社豊田自動織機
電動圧縮機
2か月前
株式会社豊田自動織機
電動圧縮機
3か月前
株式会社豊田自動織機
電動圧縮機
3か月前
株式会社豊田自動織機
電動圧縮機
4か月前
株式会社ナノバブル研究所
気液駆動装置
2か月前
NTN株式会社
電動オイルポンプ
1か月前
已久工業股ふん有限公司
空気圧縮機構造
3か月前
株式会社豊田自動織機
電動圧縮機
2か月前
続きを見る
他の特許を見る