TOP
|
特許
|
意匠
|
商標
特許ウォッチ
Twitter
他の特許を見る
公開番号
2025172355
公報種別
公開特許公報(A)
公開日
2025-11-26
出願番号
2024077822
出願日
2024-05-13
発明の名称
画像生成装置、生成器の学習方法、生成器、推定器および、画像確認システム
出願人
株式会社ダイセル
,
兵庫県公立大学法人
代理人
弁理士法人G-chemical
主分類
G01N
3/56 20060101AFI20251118BHJP(測定;試験)
要約
【課題】任意の摩擦力や摩擦係数を有する物質表面の推定画像を生成することができる画像生成装置を提供する。
【解決手段】ユーザーが入力した摩擦力および/または摩擦係数を取得する取得部と、前記摩擦力および/または摩擦係数を表す画像を推定して生成する生成器とを備える、画像生成装置。画像生成装置1は、取得部2、生成器3、および推定器4を備える。画像生成装置1にユーザーが摩擦力および/または摩擦係数を入力すると、取得部1が上記摩擦力および/または摩擦係数を取得する。
【選択図】図1
特許請求の範囲
【請求項1】
ユーザーが入力した摩擦力および/または摩擦係数を取得する取得部と、
前記摩擦力および/または摩擦係数を表す画像を推定して生成する生成器とを備える、画像生成装置。
続きを表示(約 950 文字)
【請求項2】
前記生成器は、相違する摩擦力情報および/または摩擦係数情報を有する複数の画像データからなる訓練データを学習済みの生成AIである請求項1に記載の画像生成装置。
【請求項3】
前記生成器が生成した画像の摩擦力および/または摩擦係数を推定する推定器を備える、請求項1または2に記載の画像生成装置。
【請求項4】
前記推定器は、摩擦試験によって得られた摩擦界面画像と摩擦力および/または摩擦係数とを含む情報を学習データとして学習された画像認識AIであり、前記学習データは前記生成器の学習に用いない情報である、請求項1または2に記載の画像生成装置。
【請求項5】
前記生成器は生成部および識別部を備え、前記生成部は、当該生成部が生成する画像の真偽を識別する前記識別部との競合学習により生成された敵対的生成ネットワークの生成部である、請求項4に記載の画像生成装置。
【請求項6】
第一の摩擦力情報および/または第一の摩擦係数情報を有する第一の画像から第二の摩擦力情報および/または第二の摩擦係数情報を有する第二の画像を推定して生成する、生成器の機械学習を行う学習方法であり、
摩擦試験によって得られた摩擦界面画像と、摩擦力および/または摩擦係数とを含む情報を学習データとして前記機械学習を行う、生成器の学習方法。
【請求項7】
前記生成器は生成部および識別部を備え、前記生成部が生成する画像の真偽を識別する前記識別部との競合学習により前記機械学習を行う、請求項6に記載の生成器の学習方法。
【請求項8】
ユーザーが入力した摩擦力および/または摩擦係数を表す画像を推定して生成する生成器。
【請求項9】
相違する摩擦力情報および/または摩擦係数情報を有する複数の画像データからなる訓練データを学習済みである、請求項8に記載の生成器。
【請求項10】
摩擦試験によって得られた摩擦界面画像と、摩擦力および/または摩擦係数とを含む情報とを学習データとして学習された生成AIである、請求項8または9に記載の生成器。
(【請求項11】以降は省略されています)
発明の詳細な説明
【技術分野】
【0001】
本開示は、画像生成装置、生成器の学習方法、生成器、推定器および、画像確認システムに関する。
続きを表示(約 1,900 文字)
【背景技術】
【0002】
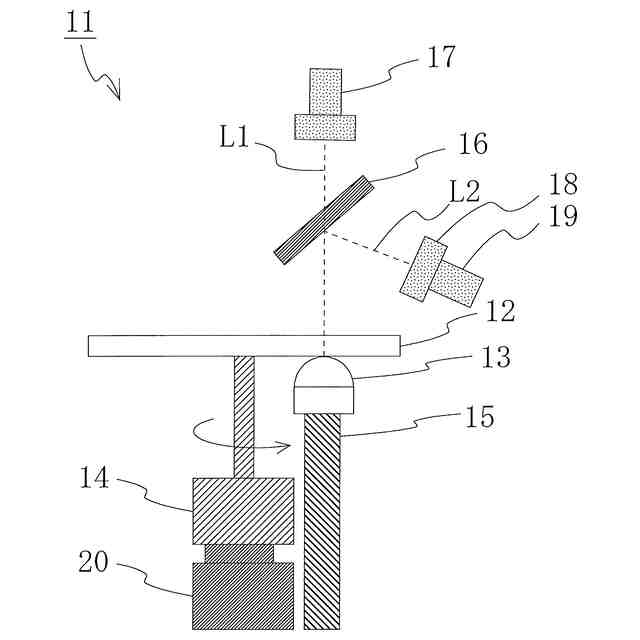
部材同士が摺動する際の一定条件下における摩擦力や摩擦係数を測定する摩擦試験法としてボールオンディスク摩擦試験が知られている。ボールオンディスク摩擦試験では、ディスクの一方の面にボールを接触させ回転させてボールおよびディスク間に摩擦を生じさせ、その際の摩擦力および摩擦係数を測定する。
【0003】
摩擦試験後に得られる表面の状態を観察することは非常に重要である。近年、摩擦試験後の画像から摩擦係数を推定する方法が報告されている。例えば、非特許文献1には、摩擦後の様々な材料の表面画像と、計測された摩擦係数とを、折り畳みニューラルネットワーク(Convolutional neural network;CNN)に学習させ、表面画像から摩擦係数を推定する方法が開示されている。また、非特許文献2には、AIを用いて摩擦面画像から摩擦係数診断を行う方法が開示されている。
【0004】
ところで、用意されたデータから特徴を学習し、擬似的なデータを生成することができるAIアルゴリズムの一つとして、例えばサイクル無矛盾生成敵対ネットワーク(Cycle Consistent Generative Adversarial Networks;CCGAN)が知られている(非特許文献3)。
【先行技術文献】
【非特許文献】
【0005】
H.Zhang,外2名,“Friction from Reflectance: Deep Reflectance Codes for Predicting Physical Surface Properties from One-Shot In-Field Reflectance”,[online],平成28年5月25日,Arxiv,[令和6年5月13日検索],インターネット <URL:https://arxiv.org/abs/1603.07998>フォームの始まり
村島 基之,“深層学習を用いた摩擦・摩耗推定技術とAIを用いた変形表面制御による新しい機能性の創発" ,[online],令和2年,トライボロジスト第67巻第12号(2022)830-837,[令和6年5月13日検索],インターネット <URL:https://jstage.jst.go.jp/article/tribologist/67/12/67_67.12_830/_article/-char/ja/>
X.Ding,外4名,"Continuous Conditional Generative Adversarial Networks: Novel Empirical Losses and Label Input Mechanisms",[online],令和2年11月15日,Arxiv,[令和6年5月13日検索],インターネット <URL:https://arxiv.org/pdf/2011.07466>
【発明の概要】
【発明が解決しようとする課題】
【0006】
しかしながら、任意の物質表面の摩擦力や摩擦係数の情報から、その摩擦力や摩擦係数を有する物質表面の画像を推定する方法はこれまでに知られていなかった。
【0007】
従って、本開示の目的は、任意の摩擦力や摩擦係数を有する物質表面の推定画像を生成することができる画像生成装置を提供することにある。また、本開示の他の目的は、上記画像生成装置に用いられる生成器および推定器、並びに上記生成器の学習方法を提供することにある。また、本発明の他の目的は、上記画像生成装置により得られた推定画像の適切性を確認することができる画像確認システムを提供することにある。また、本発明の他の目的は、任意の物性を有する物質表面の推定画像を生成することができる画像生成装置を提供することにある。
【課題を解決するための手段】
【0008】
本開示は、ユーザーが入力した摩擦力および/または摩擦係数を取得する取得部と、
上記摩擦力および/または摩擦係数を表す画像を推定して生成する生成器とを備える、画像生成装置を提供する。
【0009】
上記生成器は、相違する摩擦力情報および/または摩擦係数情報を有する複数の画像データからなる訓練データを学習済みの生成AIであることが好ましい。
【0010】
上記画像生成装置は、上記生成器が生成した画像の摩擦力および/または摩擦係数を推定する推定器を備えることが好ましい。
(【0011】以降は省略されています)
この特許をJ-PlatPat(特許庁公式サイト)で参照する
関連特許
株式会社ダイセル
圧力容器
10日前
株式会社ダイセル
圧力容器及び圧力波の測定方法
10日前
株式会社ダイセル
アルミニウム合金製摺動部材用潤滑剤
3日前
国立大学法人金沢大学
セルロース誘導体、遷移金属吸着材、及び遷移金属の回収方法
5日前
個人
視触覚センサ
3日前
日本精機株式会社
検出装置
1か月前
個人
採尿及び採便具
1か月前
個人
計量機能付き容器
28日前
甲神電機株式会社
電流検出装置
1か月前
株式会社ミツトヨ
測定器
1か月前
株式会社カクマル
境界杭
18日前
日本精機株式会社
発光表示装置
11日前
株式会社トプコン
測量装置
10日前
ユニパルス株式会社
トルク変換器
3日前
ユニパルス株式会社
トルク変換器
3日前
ユニパルス株式会社
トルク変換器
3日前
アズビル株式会社
電磁流量計
1か月前
大成建設株式会社
風洞実験装置
28日前
愛知時計電機株式会社
ガスメータ
1か月前
大和製衡株式会社
組合せ計量装置
1か月前
個人
計量具及び計量機能付き容器
28日前
双庸電子株式会社
誤配線検査装置
1か月前
愛知電機株式会社
軸部材の外観検査装置
1か月前
大和製衡株式会社
組合せ計量装置
1か月前
日本特殊陶業株式会社
ガスセンサ
26日前
日本信号株式会社
距離画像センサ
1か月前
日本特殊陶業株式会社
ガスセンサ
3日前
日本特殊陶業株式会社
ガスセンサ
10日前
日本特殊陶業株式会社
ガスセンサ
4日前
個人
システム、装置及び実験方法
1か月前
個人
非接触による電磁パルスの測定方法
1か月前
日本特殊陶業株式会社
センサ
12日前
日東精工株式会社
振動波形検査装置
1か月前
株式会社不二越
X線測定装置
1か月前
キーコム株式会社
画像作成システム
18日前
本陣水越株式会社
車載式計測標的物
5日前
続きを見る
他の特許を見る