TOP
|
特許
|
意匠
|
商標
特許ウォッチ
Twitter
他の特許を見る
10個以上の画像は省略されています。
公開番号
2025172189
公報種別
公開特許公報(A)
公開日
2025-11-20
出願番号
2025154683,2024051806
出願日
2025-09-18,2021-12-17
発明の名称
吸引装置、表示方法、及びプログラム
出願人
日本たばこ産業株式会社
代理人
個人
,
個人
,
個人
主分類
A24F
40/53 20200101AFI20251113BHJP(たばこ;葉巻たばこ;紙巻たばこ;喫煙具)
要約
【課題】1つ1つは意味を持たない複数の表示部を用いて、機器にエラーが発生したことをユーザに通知する。
【解決手段】エアロゾル源を保持する基材を電池からの電力により加熱してエアロゾルを生成する加熱部と、自装置の状態を表示するための複数の表示部と、自装置にエラーが発生した場合に、エラーが発生した旨を複数の表示部に表示するように制御する制御部とを備え、エラーの種別は、自装置に対する操作によって回復不可能なエラーの種別を含み、制御部は、エラーが発生した状態で、外部から電力が供給された場合に、エラーが発生した旨を複数の表示部に表示するように制御する、吸引装置。
【選択図】図8
特許請求の範囲
【請求項1】
エアロゾル源を保持する基材を電池からの電力により加熱してエアロゾルを生成する加熱部と、
自装置の状態を画像で表示するための表示部と、
自装置にエラーが発生した場合に、当該エラーが発生した旨を前記表示部に表示するように制御する制御部と
を備え、
前記制御部は、前記エラーが発生した状態で、外部から電力が供給された場合に、当該エラーが発生した旨を前記表示部に表示するように制御する、吸引装置。
発明の詳細な説明
【技術分野】
【0001】
本発明は、吸引装置に関する。
続きを表示(約 1,500 文字)
【背景技術】
【0002】
特許文献1には、通知部が、電源部に生じた不具合に応じてデータに基づき制御部によって生成されたエラー信号を受けた場合に、エラー信号にしたがって例えば光および/または音を出力するエアロゾル生成装置が開示されている。そして、通知部は、例えば、LEDなどの発光装置でよいこと、及び、制御部は、エラー信号によって、通知部を青色と赤色とに交互に点滅させる回数を変えることが記載されている。
【0003】
特許文献2には、制御部が、非通常状態の内容や原因に基づいたエラー信号を生成し、通知部に、エラー信号に応じた通知をさせるエアロゾル生成装置が開示されている。そして、通知部は、例えば、発光ダイオードであり、例えば、電源ユニットの上流端部又は電源ボタンの周方向に沿って設けられてよいこと、及び、制御部は、非通常状態を検知する処理の内容によって、通知部に暖色系統、寒色系統の発光を交互に点滅させる回数を変えることが記載されている。
【先行技術文献】
【特許文献】
【0004】
特開2020-68762号公報
特開2020-68690号公報
【発明の概要】
【発明が解決しようとする課題】
【0005】
エラーが発生して電源部から電源が供給されなくなる場合、エラーが発生したことをユーザに通知することはできなかった。
【0006】
本発明の目的は、エラーが発生して電源部から電源が供給されなくなる場合であってもエラーが発生したことをユーザに通知することにある。
【課題を解決するための手段】
【0007】
かかる目的のもと、本発明は、エアロゾル源を保持する基材を電池からの電力により加熱してエアロゾルを生成する加熱部と、自装置の状態を画像で表示するための表示部と、自装置にエラーが発生した場合に、エラーが発生した旨を表示部に表示するように制御する制御部とを備え、制御部は、エラーが発生した状態で、外部から電力が供給された場合に、エラーが発生した旨を表示部に表示するように制御する、吸引装置を提供する。
【発明の効果】
【0008】
本発明によれば、エラーが発生して電源部から電源が供給されなくなる場合であってもエラーが発生したことをユーザに通知することが可能となる。
【図面の簡単な説明】
【0009】
(a),(b)は、本発明の実施の形態における吸引装置の全体斜視図である。
(a),(b)は、本発明の実施の形態における吸引装置のパネル及び本体ハウジングの外観図である。
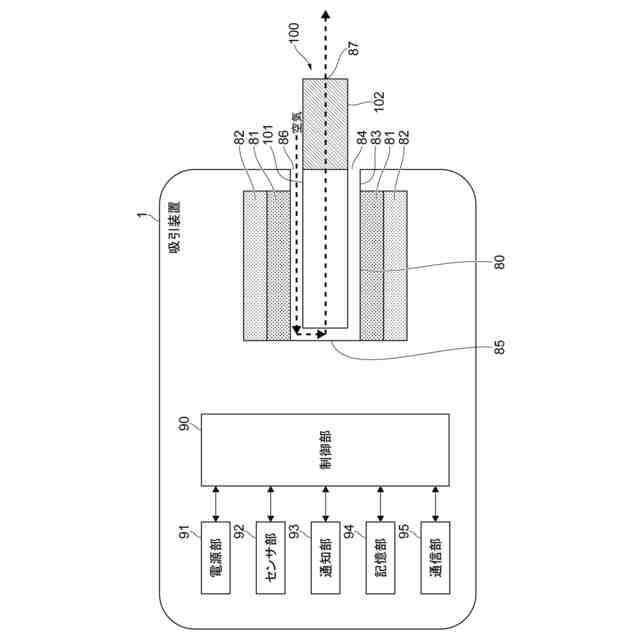
本発明の実施の形態における吸引装置の構成例を示す模式図である。
(a)~(e)は、吸引装置がスティック型基材を予備加熱する動作を行う際のLEDの表示例を示した図である。
(a)~(e)は、吸引装置がエアロゾルを吸引させる動作を行う際のLEDの表示例を示した図である。
(a)~(e)は、吸引装置がバッテリ残量を通知する動作を行う際のLEDの表示例を示した図である。
(a)~(e)は、吸引装置が充電式バッテリを充電する動作を行う際のLEDの表示例を示した図である。
永久故障エラーが発生した場合におけるLEDの歯抜け態様での表示の例を示した図である。
本発明の実施の形態における吸引装置の制御部の永久故障エラーが発生した場合の動作例を示したフローチャートである。
【発明を実施するための形態】
【0010】
以下、添付図面を参照して、本発明の実施の形態について詳細に説明する。
(【0011】以降は省略されています)
この特許をJ-PlatPat(特許庁公式サイト)で参照する
関連特許
日本たばこ産業株式会社
重症喘息の治療又は予防剤
22日前
日本たばこ産業株式会社
吸引装置、基材、及び制御方法
7日前
日本たばこ産業株式会社
吸引装置、表示方法、及びプログラム
1日前
日本たばこ産業株式会社
6-アルコキシピラゾロピリミジン化合物及びその医薬用途
9日前
日本たばこ産業株式会社
エアロゾル生成装置、エアロゾル生成装置の制御方法、及びプログラム
3日前
日本たばこ産業株式会社
香味吸引物品
2か月前
個人
電子タバコの加熱素子
4か月前
日本たばこ産業株式会社
香味発生物品
2か月前
個人
フレーバ用ブースター器具およびシーシャ装置
4か月前
日本たばこ産業株式会社
喫煙システム
3か月前
日本たばこ産業株式会社
口腔用組成物
3か月前
東莞市佳かい精密金属制品有限公司
充電可能な電子タバコケース
4か月前
日本たばこ産業株式会社
香味吸引システム
3か月前
日本たばこ産業株式会社
香味吸引システム
3か月前
Future Technology株式会社
エアロゾル吸引カートリッジ
2か月前
日本たばこ産業株式会社
低香味原料を含むたばこセグメント
2か月前
Future Technology株式会社
たばこ用組成物、E-リキッド、たばこ製品
22日前
日本たばこ産業株式会社
粒状再生セルロースを含有する口腔用組成物
3か月前
日本たばこ産業株式会社
香味発生物品および香味吸引システム
3か月前
日本たばこ産業株式会社
電子装置
4か月前
日本たばこ産業株式会社
吸引器
3か月前
Future Technology株式会社
喫煙器具
2か月前
Future Technology株式会社
芳香基材
4か月前
日本たばこ産業株式会社
たばこ材料、その製造方法、および非燃焼加熱型喫煙物品
2か月前
Future Technology株式会社
芳香カートリッジ
1か月前
Future Technology株式会社
タバコ充填物集積体
2か月前
Future Technology株式会社
被加熱芳香発生基材
7日前
Future Technology株式会社
喫煙具用カートリッジ
3か月前
Future Technology株式会社
喫煙具用カートリッジ
3か月前
Future Technology株式会社
喫煙具用カートリッジ
2か月前
Future Technology株式会社
喫煙具用カートリッジ
3か月前
Future Technology株式会社
喫煙具用カートリッジ
4か月前
Future Technology株式会社
喫煙具用カートリッジ
1か月前
Future Technology株式会社
喫煙具用カートリッジ
4か月前
Future Technology株式会社
喫煙具用カートリッジ
3か月前
Future Technology株式会社
電子タバコカートリッジ
2か月前
続きを見る
他の特許を見る