TOP
|
特許
|
意匠
|
商標
特許ウォッチ
Twitter
他の特許を見る
公開番号
2025172188
公報種別
公開特許公報(A)
公開日
2025-11-20
出願番号
2025154678,2024573221
出願日
2025-09-18,2024-01-25
発明の名称
情報処理装置、情報処理方法、及びプログラム
出願人
エムスリー株式会社
代理人
個人
,
個人
主分類
G16H
80/00 20180101AFI20251113BHJP(特定の用途分野に特に適合した情報通信技術)
要約
【課題】患者にとって適切な治療にアクセスすることが可能であると共に、製薬企業にとっては適切な受診・治療のサポートができているか否かの効果検証をすることが可能な技術を提供することを目的とする。
【解決手段】集客制御部53は、患者端末2を用いてエンドユーザが医療に関する検索をした際に、その検索結果として、医療機関Hに関する情報を直接的又は間接的に提供する所定メディアの存在場所を含めるような制御を、エンドユーザが患者Kとして医療機関Hを受診して、そして薬を処方してもらうことを目的として実行する。啓発・誘導制御部54は、複数の医療情報を提供する所定メディアを通じて、上述の検索をしたエンドユーザに対して、複数の医療情報のうち当該検索の内容に関するものを提供して、医療機関Hを受診することの啓発及び誘導する制御を実行する。
【選択図】図5
特許請求の範囲
【請求項1】
患者となり得る複数のエンドユーザの夫々により使用される複数の第1端末と、
薬を供給し得る製薬会社により使用される第2端末と、
前記複数のエンドユーザのうち所定者が前記患者として受診した際に前記製薬会社の前記薬を処方し得る病院により使用される第3端末と、
夫々通信をする情報処理装置において、
前記第1端末を用いて前記エンドユーザが医療に関する検索をした際に、その検索結果として、前記病院に関する情報を直接的又は間接的に提供する所定メディアの存在場所を含める制御を、前記エンドユーザが前記患者として前記病院を受診し前記薬を処方してもらうことを目的として実行する第1制御手段と、
前記患者が受診した際に前記病院により発行された電子カルテに基づいて、前記複数のエンドユーザのうち当該患者になった者の受診及び前記薬の処方の履歴を解析し、その解析結果に基づいて、前記目的の達成度合の効果を検証する制御を実行する第2制御手段と、
を備える情報処理装置。
続きを表示(約 1,300 文字)
【請求項2】
前記所定メディアは、さらに、複数の医療情報を提供するものであり、
前記所定メディアを通じて、前記検索をした前記エンドユーザに対して、前記複数の医療情報のうち当該検索の内容に関するものを提供して、前記病院を受診することの啓発及び誘導する制御を実行する第3制御手段
をさらに備える請求項1に記載の情報処理装置。
【請求項3】
前記所定メディアは、前記病院に関する情報を直接的に提供する所定Webサイト、又は当該所定Webサイトの存在場所若しくは当該病院を示す情報を含むものであり、
前記所定メディアを通じて、前記検索をした前記エンドユーザが前記患者として前記病院を受診するために必要な制御を実行する第4制御手段
をさらに備える請求項1又は2に記載の情報処理装置。
【請求項4】
患者となり得る複数のエンドユーザの夫々により使用される複数の第1端末と、
薬を供給し得る製薬会社により使用される第2端末と、
前記複数のエンドユーザのうち所定者が前記患者として受診した際に前記製薬会社の前記薬を処方し得る病院により使用される第3端末と、
夫々通信をする情報処理装置が実行する情報処理方法において、
前記第1端末を用いて前記エンドユーザが医療に関する検索をした際に、その検索結果として、前記病院に関する情報を直接的又は間接的に提供する所定メディアの存在場所を含める制御を、前記エンドユーザが前記患者として前記病院を受診し前記薬を処方してもらうことを目的として実行する第1制御ステップと、
前記患者が受診した際に前記病院により発行された電子カルテに基づいて、前記複数のエンドユーザのうち当該患者になった者の受診及び前記薬の処方の履歴を解析し、その解析結果に基づいて、前記目的の達成度合の効果を検証する制御を実行する第2制御ステップと、
を含む情報処理方法。
【請求項5】
患者となり得る複数のエンドユーザの夫々により使用される複数の第1端末と、
薬を供給し得る製薬会社により使用される第2端末と、
前記複数のエンドユーザのうち所定者が前記患者として受診した際に前記製薬会社の前記薬を処方し得る病院により使用される第3端末と、
夫々通信をするコンピュータに、
前記第1端末を用いて前記エンドユーザが医療に関する検索をした際に、その検索結果として、前記病院に関する情報を直接的又は間接的に提供する所定メディアの存在場所を含める制御を、前記エンドユーザが前記患者として前記病院を受診し前記薬を処方してもらうことを目的として実行する第1制御ステップと、
前記患者が受診した際に前記病院により発行された電子カルテに基づいて、前記複数のエンドユーザのうち当該患者になった者の受診及び前記薬の処方の履歴を解析し、その解析結果に基づいて、前記目的の達成度合の効果を検証する制御を実行する第2制御ステップと、
を含む制御処理を実行させるプログラム。
発明の詳細な説明
【技術分野】
【0001】
本発明は、情報処理装置、情報処理方法、及びプログラムに関する。
続きを表示(約 2,200 文字)
【背景技術】
【0002】
従来より、ポータルサイト、病院、企業それぞれが独自に患者向けの疾患・受診啓発活動を展開する戦略が主流である。(例えば、特許文献1参照)。
【先行技術文献】
【特許文献】
【0003】
特開2017-117469号公報
【発明の概要】
【発明が解決しようとする課題】
【0004】
従来技術にあっては、患者ごとの情報収集記録がポータルサイト、病院、企業それぞれに分散してしまっているため、患者にとっては、適切な治療にアクセスできないケースがあるという状況であった。また、製薬企業にとっては、適切な受診・治療のサポートができているか否かの効果検証をすることが難しいという状況であった。
【0005】
本発明は、このような状況に鑑みてなされたものであり、患者にとって適切な治療にアクセスすることが可能であると共に、製薬企業にとっては適切な受診・治療のサポートができているか否かの効果検証をすることが可能な技術を提供することを目的とする。
【課題を解決するための手段】
【0006】
上記目的を達成するため、本発明の一態様の情報処理装置は、
患者となり得る複数のエンドユーザの夫々により使用される複数の第1端末と、
薬を供給し得る製薬会社により使用される第2端末と、
前記複数のエンドユーザのうち所定者が前記患者として受診した際に前記製薬会社の前記薬を処方し得る病院により使用される第3端末と、
夫々通信をする情報処理装置において、
前記第1端末を用いて前記エンドユーザが医療に関する検索をした際に、その検索結果として、前記病院に関する情報を直接的又は間接的に提供する所定メディアの存在場所を含める制御を、前記エンドユーザが前記患者として前記病院を受診し前記薬を処方してもらうことを目的として実行する第1制御手段と、
前記患者が受診した際に前記病院により発行された電子カルテに基づいて、前記複数のエンドユーザのうち当該患者になった者の受診及び前記薬の処方の履歴を解析し、その解析結果に基づいて、前記目的の達成度合の効果を検証する制御を実行する第2制御手段と、
を備える。
【0007】
本発明の一態様の情報処理方法及びプログラムの夫々は、上述の本発明の一態様の情報処理装置に対応する情報処理方法及びプログラムの夫々である。
【発明の効果】
【0008】
本発明によれば、患者にとって適切な治療にアクセスすることができると共に、製薬企業にとっては適切な受診・治療のサポートができているか否かの効果検証をすることができる。
【図面の簡単な説明】
【0009】
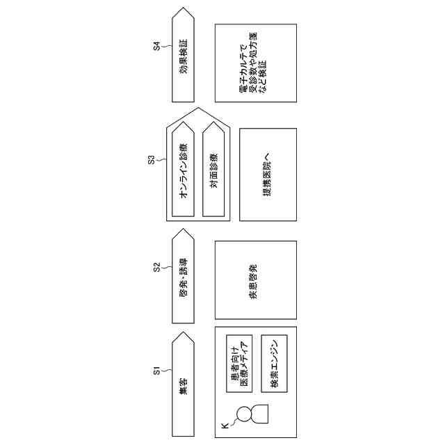
本発明の情報処理装置の一実施形態にかかるサービス提供者サーバを含む情報処理システムにより実現可能な本サービスと、患者及び製薬企業とのかかわりについての概要を示す模式図である。
図1の本サービスの概要の一例を説明する模式図である。
本発明の情報処理装置の一実施形態にかかるサービス提供者サーバが適用される情報処理システムの構成の一例を示す図である。
図3の情報処理システムのうちサービス提供者サーバのハードウェア構成の一例を示すブロック図である。
図3の情報処理システムを構成する図4のサービス提供者サーバの機能的構成の一例を示す機能ブロック図である。
本サービスの具体的な画面例を示す図であって、図1及び図2の啓発・誘導ステップを経ず病院予約ステップに進む例について説明する図である。
本サービスの具体的な画面例を示す図であって、図1及び図2の啓発・誘導ステップを経て病院予約ステップに進む例について説明する図である。
本サービスの具体例を示す図であって、図1及び図2の病院予約ステップにおいてオンライン診療の他、対面診療もある例について説明する図である。
本サービスの具体例を示す図であって、図1及び図2の効果検証ステップにより得られる効果(オンライン診療のメリット)の例について説明する図である。
本サービスの具体例を示す図であって、図1及び図2の効果検証ステップにより得られる効果(1患者当たりのコストベネフィットのイメージ(多汗症))の例について説明する図である。
本サービスの具体例を示す図であって、図1及び図2の効果検証ステップにより得られる効果(1患者当たりのコストベネフィットのイメージ(図10の根拠))の例について説明する図である。
本サービスの具体例を示す図であって、図1及び図2の効果検証ステップにより得られる効果(電子カルテを活用したレポートのイメージ)の例について説明する図である。
本サービスの具体例を示す図であって、図1及び図2の効果検証ステップにより得られる効果(貢献予測)の例について説明する図である。
本サービスの具体例を示す図であって、図1及び図2の効果検証ステップにより得られる効果(図13の貢献予測の根拠)の例について説明する図である。
【発明を実施するための形態】
【0010】
以下、図面を参照して、本発明の実施形態について説明する。
(【0011】以降は省略されています)
この特許をJ-PlatPat(特許庁公式サイト)で参照する
関連特許
個人
支援システム
6か月前
個人
医療のAI化
2か月前
個人
管理装置
6か月前
個人
対話システム
6か月前
個人
通知ぬいぐるみAIシステム
3か月前
キラル株式会社
ヘルスケアシステム
1か月前
キラル株式会社
ヘルスケアシステム
1か月前
キヤノン株式会社
情報処理装置
15日前
株式会社タカゾノ
薬剤秤量装置
4か月前
株式会社タカゾノ
情報処理装置
7日前
株式会社タカゾノ
薬剤秤量装置
4か月前
株式会社タカゾノ
薬剤秤量装置
4か月前
株式会社タカゾノ
薬剤秤量装置
4か月前
株式会社タカゾノ
薬剤秤量装置
5か月前
株式会社タカゾノ
薬剤秤量装置
4か月前
株式会社タカゾノ
薬剤秤量装置
1か月前
株式会社タカゾノ
情報処理装置
7日前
株式会社リコー
投薬管理システム
2か月前
TOTO株式会社
健康管理システム
1か月前
個人
診療の管理装置及び診療システム
4か月前
ゾーン株式会社
コンピュータシステム
7か月前
株式会社M-INT
情報処理システム
7か月前
株式会社ケアコム
看護必要度分析装置
15日前
株式会社CureApp
プログラム
4か月前
株式会社サンクスネット
情報提供システム
6か月前
有限会社ビルケ
問診システム及び問診用端末
2日前
株式会社サンクスネット
アンケートシステム
7日前
株式会社ユニオン
健康関連情報管理装置
16日前
株式会社ミラボ
情報処理装置、及びプログラム
4か月前
株式会社イシダ
受付端末装置
1か月前
株式会社 137
健康観察管理システム
6か月前
ギジン株式会社
情報分析装置および情報分析方法
23日前
歯っぴー株式会社
口内状態の画像診断方法
3か月前
西川株式会社
サービス出力システム
6か月前
大和ハウス工業株式会社
服薬推定システム
1か月前
株式会社タカゾノ
薬剤秤量装置及び調剤システム
5か月前
続きを見る
他の特許を見る