TOP
|
特許
|
意匠
|
商標
特許ウォッチ
Twitter
他の特許を見る
10個以上の画像は省略されています。
公開番号
2025172176
公報種別
公開特許公報(A)
公開日
2025-11-20
出願番号
2025154250,2024028759
出願日
2025-09-17,2019-09-11
発明の名称
プレイヤード
出願人
ワンダーランド スウィツァランド アーゲー
代理人
個人
,
個人
主分類
A47D
13/06 20060101AFI20251113BHJP(家具;家庭用品または家庭用設備;コーヒーひき;香辛料ひき;真空掃除機一般)
要約
【課題】フレーム構造体を多段階的に折畳可能とすることによって複数の可搬形態を有するプレイヤードを提供すること。
【解決手段】内部空間を画成する折畳可能なフレーム構造体を備えるプレイヤードであって、フレーム構造体が、環状の上側フレーム体と、上側フレーム体から下方に延在してフレーム構造体を自立させ、上側フレーム体に対して脚回動軸回りに回動可能に連結された複数の脚フレーム体と、を備え、上側フレーム体が、少なくとも2つのフレーム部分と、隣接する2つのフレーム部分を互いに対して上フレーム回動軸回りに回動可能に接続する回動接続体と、を有する。
【選択図】図2
特許請求の範囲
【請求項1】
内部空間を画成する折畳可能なフレーム構造体を備えるプレイヤードであって、
前記フレーム構造体が、
環状の上側フレーム体と、
前記上側フレーム体に接続された複数の脚フレーム体と、
を備え、
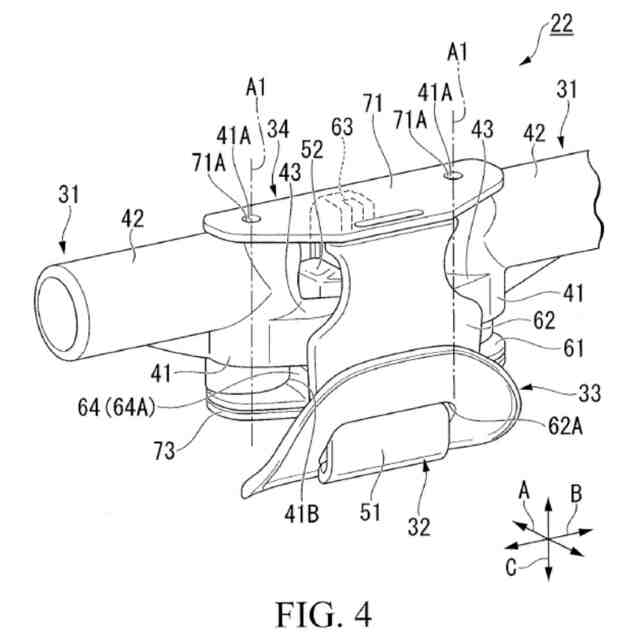
前記上側フレーム体が、回動接続体を介して互いに隣り合って接続された第1フレーム部分及び第2フレーム部分を有し、
前記第1フレーム部分が、前記第1フレーム部分自体に折畳可能であり、
2つのフレーム管体と、
2つの前記フレーム管体の端部を接続する折畳機構と、
を有し、
前記折畳機構が、
筐体と、
2つの前記フレーム管体に各別に取り付けられた2つの管体取付部材であって、2つの前記管体取付部材が、2つの折畳回動軸回りに前記筐体に回動可能に各別に接続されており、2つのラッチ突起部を各別に有し、2つの前記折畳回動軸が、前記プレイヤードが床面に立つとほぼ上下方向に延在する、2つの管体取付部材と、
前記筐体及び2つの前記管体取付部材に対して移動可能なラッチ部材であって、前記ラッチ部材が、2つの前記折畳回動軸間の間隙に配置されたラッチ部を有し、前記ラッチ部材が、前記ラッチ部を2つの前記ラッチ突起部と係合及び係合解除するために移動可能である、ラッチ部材と、
を有し、
前記第1フレーム部分が、前記ラッチ部が2つの前記ラッチ突起部と係合すると折畳解除状態でロックされ、
前記第1フレーム部分が、前記ラッチ部が2つの前記ラッチ突起部から係合解除すると、前記折畳解除状態と折畳状態との間で移動可能であることを特徴とするプレイヤード。
続きを表示(約 1,300 文字)
【請求項2】
前記ラッチ部材が、前記プレイヤードが床面に立つと、上下方向で移動可能であることを特徴とする請求項1に記載のプレイヤード。
【請求項3】
2つの前記ラッチ突起部が、前記ラッチ部が2つの前記ラッチ突起部から係合解除している間に、2つの前記折畳回動軸間の前記間隙にわたって回転可能であることを特徴とする請求項1または2に記載のプレイヤード。
【請求項4】
2つの前記管体取付部材のうちの少なくとも一方が、前記筐体に回動可能に接続された回動部と、2つの前記フレーム管体のうちの対応する一方に取り付けられた取付管部分と、を有し、
前記取付管部分と2つの前記管体取付部材のうちの少なくとも一方の前記ラッチ突起部とが、異なる方向で前記回動部から突出していることを特徴とする請求項1から3のいずれか1項に記載のプレイヤード。
【請求項5】
前記回動部が、第1カム面を有し、
前記筐体が、第2カム面を有し、
前記第1カム面が、前記回動部が前記第1フレーム部分を折畳解除するために回動する際に、前記第2カム面と接触していることを特徴とする請求項4に記載のプレイヤード。
【請求項6】
前記第1及び第2カム面が、前記回動部が前記第1フレーム部分を折畳解除するために回動する際に、前記回動部が2つの前記管体取付部材のうちの少なくとも一方の前記折畳回動軸に対して左右方向に傾くように、構成されていることを特徴とする請求項5に記載のプレイヤード。
【請求項7】
前記回動部が、前記筐体に回動可能に接続された上端部を有し、
前記第1カム面が、前記回動部の下端部に設けられていることを特徴とする請求項5または6に記載のプレイヤード。
【請求項8】
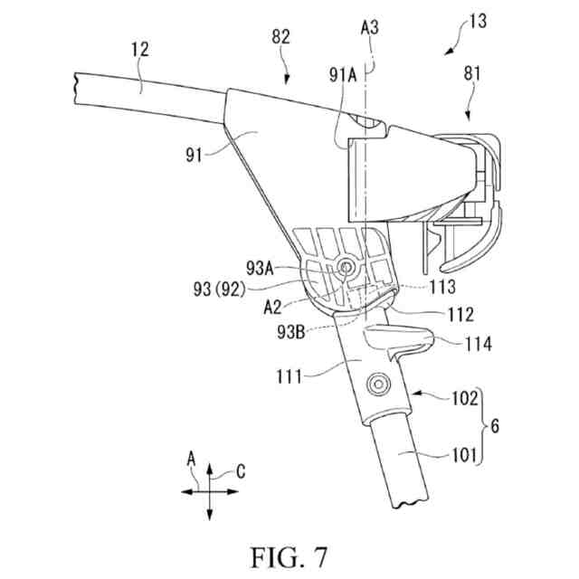
前記脚フレーム体が、前記上側フレーム体に回動可能に接続されていることを特徴とする請求項1から7のいずれか1項に記載のプレイヤード。
【請求項9】
前記回動接続体が、
前記第1フレーム部分に取り付けられた第1取付部材と、
前記第2フレーム部分の上側フレーム管体に取り付けられた第2取付部材と、
を備え、
前記第2取付部材が、前記第1取付部材に回動可能に連結されており、
前記第2取付部材が、第2フレーム部分の前記上側フレーム管体の下方まで延在しかつ前記脚フレーム体のうちの1つの端部に接続された脚フレーム取付部を有することを特徴とする請求項1から8のいずれか1項に記載のプレイヤード。
【請求項10】
前記脚フレーム取付部が、互いに間隔をあけておりかつ前記第2フレーム部分の前記上側フレーム管体の下方の空間を少なくとも部分的に区画する2つの取付板部を有し、
前記脚フレーム体の前記端部が、前記脚フレーム取付部に回動可能に接続されており、前記脚フレーム体が前記第2取付部材に対して回転する際に2つの前記取付板部間の前記空間内を移動可能であることを特徴とする請求項9に記載のプレイヤード。
(【請求項11】以降は省略されています)
発明の詳細な説明
【技術分野】
【0001】
本願は、2018年9月11日に出願した米国仮特許出願第62/729721号の優先権を主張しており、そのすべてを参考として本願に組み込む。
続きを表示(約 1,500 文字)
【0002】
本発明は、プレイヤードに関する。
【背景技術】
【0003】
プレイヤードは、子供が寝たり遊んだりするための安全な環境を含み、提供するように使用される。典型的には、プレイヤードは、折り畳み式であり、収容または運搬が可能である。
【発明の概要】
【発明が解決しようとする課題】
【0004】
しかしながら、このようなプレイヤードにおいても、フレーム構造体を多段階的に折り畳むことによって複数の可搬形態を持たせることにより、利便性を向上させることに対する要望があった。
【0005】
そこで、本発明は、フレーム構造体を多段階的に折畳可能とすることによって複数の可搬形態を有するプレイヤードを提供することを目的とする。
【課題を解決するための手段】
【0006】
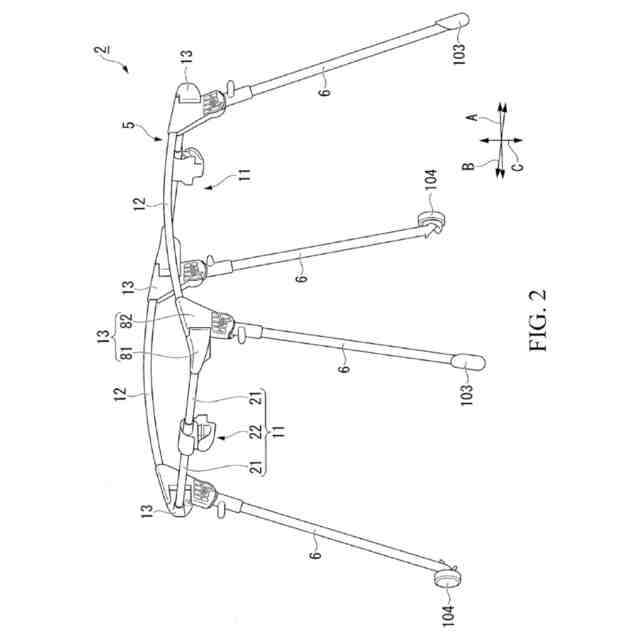
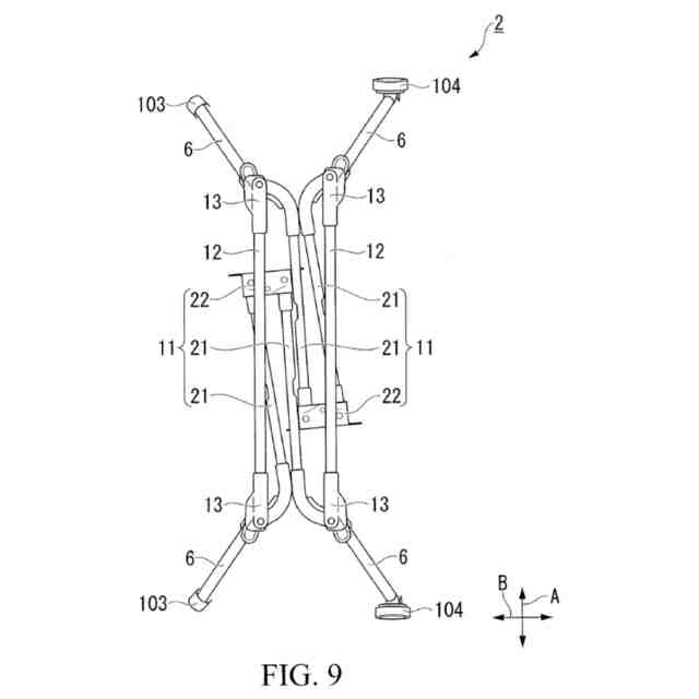
本発明は、上記課題を解決するために以下のような手段を採用した。すなわち、本発明のプレイヤードは、内部空間を画成する折畳可能なフレーム構造体を備えるプレイヤードであって、前記フレーム構造体が、環状の上側フレーム体と、前記上側フレーム体から下方に延在して当該フレーム構造体を自立させ、前記上側フレーム体に対して脚回動軸回りに回動可能に連結された複数の脚フレーム体と、を備え、前記上側フレーム体が、少なくとも2つのフレーム部分と、隣接する2つの前記フレーム部分を互いに対して上フレーム回動軸回りに回動可能に接続する回動接続体と、を有することを特徴とする。
【0007】
この発明では、回動接続体を介して接続されている2つの折畳可能フレーム部分を折り畳むことにより、プレイヤードは、上側フレーム体を折り畳んだ第1折畳状態となる。そして、脚フレーム体の下端部が上側フレーム体に近接するように脚フレーム体を上側フレーム体に対して回動させると、脚フレーム体は、上側フレーム体に対して折り畳まれる。これにより、プレイヤードは、脚フレーム体を上側フレーム体に対して折り畳んだ第2折畳状態となる。
このように、プレイヤードを第1折畳状態及び第2折畳状態を有する多段階的に折り畳むことにより、プレイヤードは、複数の可搬形態を有し、プレイヤードの利便性を向上させることができる。
【0008】
また、本発明のプレイヤードでは、前記脚フレーム体が、当該脚フレーム体を前記上側フレーム体に対する展開位置で保持する脚ラッチ機構を有してもよい。
この発明では、脚ラッチ機構によって脚フレーム体の上側フレームに対する展開構造が安定して維持できる。
【0009】
また、本発明のプレイヤードでは、前記脚ラッチ機構が、前記脚フレーム体に設けられた第1ラッチ係合部と、前記上側フレーム体に設けられ、前記第1ラッチ係合部と係合することによって前記脚フレーム体の回動を規制する第2ラッチ係合部と、を有してもよい。
この発明では、第1ラッチ係合部と第2ラッチ係合部とが係合することにより、脚フレーム体の上側フレームに対する展開状態が安定して維持できる。
【0010】
また、本発明のプレイヤードでは、前記脚フレーム体が、脚フレーム本体と、当該脚フレーム本体に沿ってスライド可能に配設されたラッチスライド体と、を有し、前記ラッチスライド体には、前記第2ラッチ係合部が設けられてもよい。
この発明では、ラッチスライド体を脚フレーム本体に対してスライドさせることにより、第1ラッチ係合部と第2ラッチ係合部とを係合、係合解除する。
(【0011】以降は省略されています)
この特許をJ-PlatPat(特許庁公式サイト)で参照する
関連特許
個人
箸
1か月前
個人
椅子
3か月前
個人
家具
4か月前
個人
掃除機
9か月前
個人
自助箸
7か月前
個人
掃除道具
9か月前
個人
掃除用具
3か月前
個人
枕
5か月前
個人
枕
8か月前
個人
ハンガー
7か月前
個人
体洗い具
10か月前
個人
ソファー
2か月前
個人
多用途紐
1か月前
個人
耳拭き棒
11か月前
個人
屋外用箒
7か月前
個人
省煙消臭器
9か月前
個人
開閉トング
6か月前
個人
掃除シート
9か月前
個人
組立式棚板
7か月前
個人
片手代替具
11か月前
個人
物品
3か月前
個人
ゴミ袋保持枠
7か月前
個人
バターナイフ
1か月前
個人
受け皿
5か月前
個人
転倒防止装置
5か月前
個人
中身のない枕
7か月前
個人
シャワー装置
6か月前
個人
経典表示装置
4か月前
個人
洗面台
11か月前
個人
靴ベラ
2か月前
個人
紙コップ 蓋
2か月前
個人
矯正用枕
4か月前
個人
組立家具
9か月前
個人
首支持具
3か月前
個人
コーナーシール
10か月前
個人
ホバー掃除機。
6か月前
続きを見る
他の特許を見る