TOP
|
特許
|
意匠
|
商標
特許ウォッチ
Twitter
他の特許を見る
10個以上の画像は省略されています。
公開番号
2025172156
公報種別
公開特許公報(A)
公開日
2025-11-20
出願番号
2025149723,2023518344
出願日
2025-09-10,2021-09-21
発明の名称
真のラジカル処理のためのリモートプラズマアーキテクチャ
出願人
ラム リサーチ コーポレーション
,
LAM RESEARCH CORPORATION
代理人
弁理士法人明成国際特許事務所
主分類
H05H
1/46 20060101AFI20251113BHJP(他に分類されない電気技術)
要約
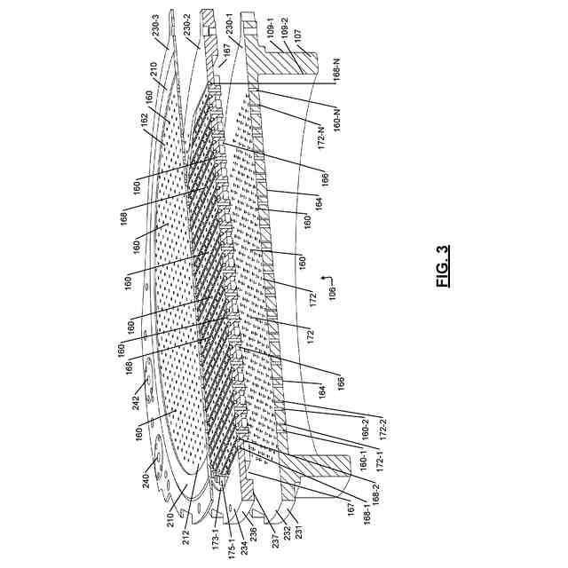
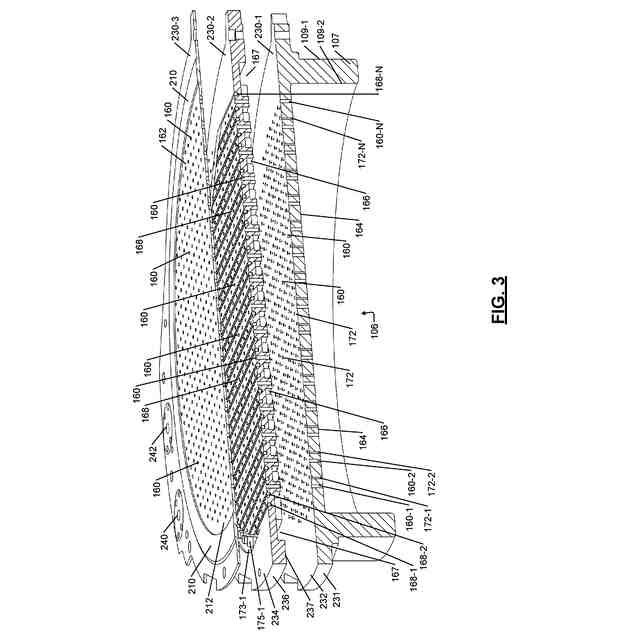
【解決手段】シャワーヘッドは、第1、第2、及び第3のコンポーネントを含む。第1のコンポーネントは、円盤状部分と、円盤状部分から垂直に延びる円筒部分とを含む。円盤状部分は、円盤状部分の中心から円筒部分の内径まで広がる、それぞれ第1及び第2の直径を有する孔の第1及び第2のセットを含む。第2のコンポーネントは、円盤状であり、第1のコンポーネントの円盤状部分に取り付けられており、孔の第2のセットと流体連通しているプレナムを画定し、かつ、周縁に沿って上面の両端にある一対の円弧状溝と、一対の円弧状溝の間に延びる複数の溝とを含む。第3のコンポーネントは、円盤状であり、第2のコンポーネントに取り付けられており、かつ、プレナムに接続されたガス入口と、円弧状溝に接続された流体入口及び出口とを含む。
【選択図】図3
特許請求の範囲
【請求項1】
処理チャンバ内で基板を処理するためのシャワーヘッドであって、
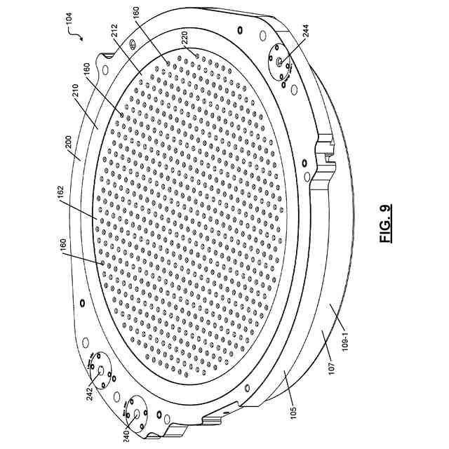
円盤状部分と、前記円盤状部分から垂直に延びる円筒部分とを含み、前記円盤状部分が、前記円筒部分の外径よりも大きい直径を有し、前記円筒部分が、前記基板の直径よりも大きい内径を有し、前記円盤状部分が、それぞれ第1及び第2の直径を有する孔の第1及び第2のセットを含み、かつ前記孔の第1及び第2のセットが、前記円盤状部分の中心から前記円筒部分の前記内径まで広がっている、第1のコンポーネントと、
円盤状であり、前記第1のコンポーネントの前記孔の第1のセットと整列している第1の貫通孔を含み、上面と、側面と、底面であって前記円筒部分の反対側で前記第1のコンポーネントの前記円盤状部分に取り付けられた、前記第1のコンポーネントの前記孔の第2のセットと流体連通しており、かつ前記第1のコンポーネントの前記孔の第1のセットとは別個のものであるプレナムを画定する底面と、を有し、前記上面が、周縁に沿って前記上面の両端にある一対の円弧状溝を含み、かつ前記一対の円弧状溝の間に延びる複数の溝を含む、第2のコンポーネントと、
円盤状であり、前記第2のコンポーネントの前記第1の貫通孔と整列し、且つ、前記第1のコンポーネントの前記孔の第1のセットと整列している第2の貫通孔を含み、かつ前記第2のコンポーネントの前記上面に取り付けられた底面を有する、第3のコンポーネントと
を含む、シャワーヘッド。
続きを表示(約 1,300 文字)
【請求項2】
請求項1に記載のシャワーヘッドであって、前記孔の第1及び第2のセットが、六角形パターン、三角形パターン、又は六角形パターンと三角形パターンの組み合わせで配置されている、シャワーヘッド。
【請求項3】
請求項2に記載のシャワーヘッドであって、前記六角形パターンにおける六角形が、正六角形であり、かつ前記三角形パターンにおける三角形が、正三角形である、シャワーヘッド。
【請求項4】
請求項1に記載のシャワーヘッドであって、
前記孔の第1のセットが、六角形パターンで配置され、
前記孔の第2のセットが、前記孔の第1のセットによって形成された六角形内の三角形の頂点にあり、かつ
前記孔の第1のセットのうちの1つが、前記三角形の各々の中にある、
又は、
前記孔の第2のセットが、六角形パターンで配置され、
前記孔の第1のセットが、前記孔の第2のセットによって形成された六角形内の三角形の頂点にあり、かつ
前記孔の第2のセットのうちの1つが、前記三角形の各々の中にある、
シャワーヘッド。
【請求項5】
請求項1に記載のシャワーヘッドであって、前記第3のコンポーネントが、
前記プレナムと流体連通しているガス入口と、
前記一対の円弧状溝のうちの第1のものと流体連通している流体入口と、
前記一対の円弧状溝のうちの第2のものと流体連通している流体出口と
をさらに含む、シャワーヘッド。
【請求項6】
請求項1に記載のシャワーヘッドであって、
前記一対の円弧状溝及び前記複数の溝が、前記プレナム及び前記孔の第1及び第2のセットとは別個のものであり、
前記一対の円弧状溝が、前記第2のコンポーネントの前記第1の貫通孔を囲み、又は
前記一対の円弧状溝及び前記複数の溝が、等しい深さを有する、
シャワーヘッド。
【請求項7】
請求項1に記載のシャワーヘッドであって、前記第2のコンポーネントの前記底面が、前記第2のコンポーネントの前記底面の周縁に沿って半円形溝をさらに含み、前記半円形溝が、前記プレナムと流体連通しており、前記半円形溝が、前記第2のコンポーネントの前記第1の貫通孔を囲み、又は前記半円形溝が、前記一対の円弧状溝を囲む、シャワーヘッド。
【請求項8】
請求項1に記載のシャワーヘッドであって、前記一対の円弧状溝が、前記第3のコンポーネントの前記底面に接触する複数の垂直に延びるリッジを含み、前記複数の垂直に延びるリッジの高さが、前記複数の溝の深さと等しい、シャワーヘッド。
【請求項9】
請求項1に記載のシャワーヘッドであって、
前記複数の溝が、互いに平行であり、又は
前記複数の溝が、ジグザグ形状を有する、
シャワーヘッド。
【請求項10】
請求項1に記載のシャワーヘッドであって、前記複数の溝の第1の端部が、前記一対の円弧状溝のうちの第1のものと接続し、前記複数の溝の第2の端部が、前記一対の円弧状溝のうちの第2のものと接続する、シャワーヘッド。
(【請求項11】以降は省略されています)
発明の詳細な説明
【技術分野】
【0001】
関連出願への相互参照
本出願は、2020年9月28日に出願された米国仮出願第63/084,541号の利益を主張する。上記の出願の全開示が、参照により本明細書に組み込まれる。
続きを表示(約 1,700 文字)
【0002】
本開示は、概して基板処理システムに関し、より具体的には、真のラジカル処理のためのリモートプラズマアーキテクチャに関する。
【背景技術】
【0003】
ここで提供される背景技術の説明は、本開示の文脈を大まかに提示することを目的とする。現時点で名前を挙げられている発明者らによる研究は、この背景技術の欄で説明される範囲内において、出願時に先行技術として別途みなされ得ない説明の態様と同様に、明示又は暗示を問わず、本開示に対抗する先行技術として認められない。
【0004】
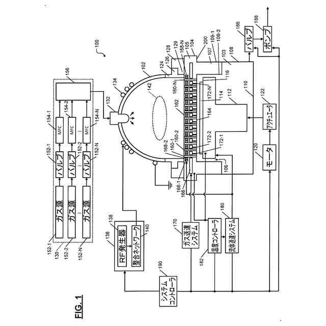
基板処理システムは、通常、処理中に半導体ウェハなどの基板が配置される台座を取り囲む処理チャンバを含む。ガス送達システムは、1つ又は複数の前駆体を含むプロセスガス混合物をプロセスチャンバ内に導入して、基板上に膜を成膜し、又は基板をエッチングしてもよい。プラズマは、処理チャンバ内でストライクされてもよい。或いは、プラズマは、処理チャンバから遠隔(すなわち、外部)で生成され、その後、処理チャンバ内に導入されてもよい。処理チャンバの外で生成されたプラズマは、リモートプラズマと呼ばれ、容量結合プラズマ(CCP)、誘導結合プラズマ(ICP)、トランス結合プラズマ(TCP)、及びマイクロ波を含む任意の方法で生成されてもよい。
【0005】
いくつかの基板処理システムは、原子層堆積(ALD)プロセスを使用して、材料を基板上に堆積する。ALDは、ガス状化学プロセスを順次実行し、基板の表面上に薄膜を成膜する薄膜堆積法である。ALDは、前駆体(反応物)と呼ばれる少なくとも2つの化学物質を使用し、一度に1つの前駆体が順次、自己制御的に基板の表面と反応する。別個の前駆体への繰り返し曝露を通じて、薄膜は、基板表面上に徐々に成膜される。
【発明の概要】
【0006】
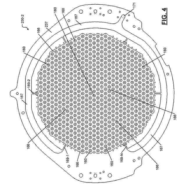
処理チャンバ内で基板を処理するためのシャワーヘッドは、第1のコンポーネントと、第2のコンポーネントと、第3のコンポーネントとを含む。第1のコンポーネントは、円盤状部分と、円盤状部分から垂直に延びる円筒部分とを含む。円盤状部分は、円筒部分の外径よりも大きい直径を有する。円筒部分は、基板の直径よりも大きい内径を有する。円盤状部分は、それぞれ第1及び第2の直径を有する孔の第1及び第2のセットを含む。孔の第1及び第2のセットは、円盤状部分の中心から円筒部分の内径まで広がる。第2のコンポーネントは、円盤状であり、かつ、第1のコンポーネントの孔の第1のセットと整列している第1の貫通孔を含む。第2のコンポーネントは、上面と、側面と、底面であって円筒部分の反対側で第1のコンポーネントの円盤状部分に取り付けられ、かつプレナムを画定する底面と、を有する。プレナムは、第1のコンポーネントの孔の第2のセットと流体連通しており、かつ第1のコンポーネントの孔の第1のセットとは別個のものである。第2のコンポーネントの上面は、周縁に沿って上面の両端にある一対の円弧状溝を含み、かつ一対の円弧状溝の間に延びる複数の溝を含む。第3のコンポーネントは、円盤状であり、かつ、第2のコンポーネントの第1の貫通孔と整列し、且つ、第1のコンポーネントの孔の第1のセットと整列している第2の貫通孔を含む。第3のコンポーネントは、第2のコンポーネントの上面に取り付けられた底面を有する。
【0007】
別の特徴において、孔の第1及び第2のセットは、六角形パターンで配置される。
【0008】
別の特徴において、孔の第1及び第2のセットは、三角形パターンで配置される。
【0009】
別の特徴において、孔の第1及び第2のセットは、六角形パターンと三角形パターンの組み合わせを用いて配置される。
【0010】
他の特徴において、六角形パターンにおける六角形は、正六角形であり、かつ三角形パターンにおける三角形は、正三角形である。
(【0011】以降は省略されています)
この特許をJ-PlatPat(特許庁公式サイト)で参照する
関連特許
個人
電子部品の実装方法
1か月前
日本精機株式会社
回路基板
2か月前
個人
非衝突型ガウス加速器
3か月前
愛知電機株式会社
装柱金具
1か月前
個人
電気式バーナー
1か月前
日星電気株式会社
面状ヒータ
11日前
個人
節電材料
3か月前
イビデン株式会社
配線基板
1か月前
アイホン株式会社
電気機器
2か月前
アイホン株式会社
電気機器
3か月前
日本放送協会
基板固定装置
2か月前
キヤノン株式会社
電子機器
2か月前
メクテック株式会社
配線基板
3か月前
個人
静電気中和除去装置
26日前
東レ株式会社
霧化状活性液体供給装置
2か月前
サクサ株式会社
開き角度規制構造
1か月前
FDK株式会社
基板
1か月前
株式会社デンソー
電子装置
1か月前
イビデン株式会社
プリント配線板
2か月前
サクサ株式会社
筐体の壁掛け構造
2か月前
イビデン株式会社
配線基板
3か月前
イビデン株式会社
配線基板
2か月前
シャープ株式会社
加熱機器
1か月前
株式会社デンソー
電子装置
19日前
株式会社レクザム
剥離装置
1か月前
日産自動車株式会社
電子部品
2か月前
富士フイルム株式会社
積層体
1か月前
日産自動車株式会社
電子機器
5日前
新電元工業株式会社
電子装置
2か月前
株式会社レゾナック
冷却装置
1か月前
オムロン株式会社
端子折り曲げ治具
1か月前
富士電子工業株式会社
誘導加熱コイル
1か月前
富士電子工業株式会社
誘導加熱コイル
1か月前
富士電子工業株式会社
高周波焼入装置
3か月前
株式会社デンソー
電子制御装置
18日前
タイガー魔法瓶株式会社
加熱器
2か月前
続きを見る
他の特許を見る