TOP
|
特許
|
意匠
|
商標
特許ウォッチ
Twitter
他の特許を見る
10個以上の画像は省略されています。
公開番号
2025171990
公報種別
公開特許公報(A)
公開日
2025-11-20
出願番号
2025072601
出願日
2025-04-24
発明の名称
鋼製三方接続部材及び冷房管アセンブリ
出願人
含山瑞可金属有限公司
,
HANSHAN RUIKE METAL CO., LTD.
代理人
個人
主分類
F16L
41/02 20060101AFI20251113BHJP(機械要素または単位;機械または装置の効果的機能を生じ維持するための一般的手段)
要約
【課題】従来の冷房管の三方接続構造は、接続強度や気密性に課題があり、特に高圧流体を扱う系統では信頼性が不十分であった。
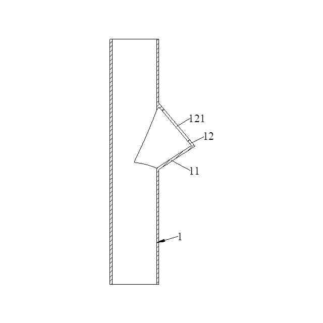
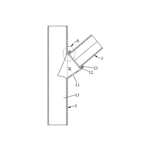
【解決手段】本発明は、鋼製三方接続部材及びそれを用いた冷房管アセンブリに関する。鋼製三方接続部材は、主管、接続部材及び継手管を含み、主管は薄肉円形管であり、その周囲壁に金属塑性により形成された塑性突起部を備える。突起部の末端には、主管軸線にほぼ平行または傾斜した溶接平面が形成され、この平面に流体貫通孔が開けられる。接続部材は溶接平面に密着溶接され、貫通孔と連通する継手管孔を備える。継手管は、継手管孔および/または貫通孔に嵌合溶接される。これにより、接続強度と密封性を確保しつつ、加工性と信頼性を向上させる。
【選択図】図4
特許請求の範囲
【請求項1】
鋼製三方接続部材であって、鋼製の主管、接続部材及び継手管を含み、
主管は、薄肉の円形管部材であり、前記主管の周囲壁には主管の外部へ延在する塑性突起部が金属塑性で成形され、前記塑性突起部の末端には、主管軸線にほぼ平行し又は主管軸線に対して傾斜に分布する溶接平面が形成され、前記溶接平面は、主管の塑性突起部の延在方向における最高母線にほぼ面一となり又は最高母線を超えるように延在し、前記溶接平面には流体貫通孔が開けられ、
接続部材は、溶接平面に密着溶接され且つ接続部材には流体貫通孔に連通する継手管孔が開けられ、
継手管は、薄肉の円形管部材であり、接続部材における継手管孔及び/又は溶接平面上の流体貫通孔に嵌合溶接される、ことを特徴とする鋼製三方接続部材。
続きを表示(約 1,500 文字)
【請求項2】
前記塑性突起部の横断面面積は、その延在方向に沿って徐々に増加し、前記溶接平面外輪廓線が囲む領域の面積は、主管における非塑性突起部領域の内孔断面積以上である、ことを特徴とする請求項1に記載の鋼製三方接続部材。
【請求項3】
前記溶接平面の塑性突起部への延在方向における投影面は、円形、楕円形又は多角形のうちのいずれか1つを呈する、ことを特徴とする請求項1に記載の鋼製三方接続部材。
【請求項4】
前記溶接平面は、塑性突起部の末端外面及び/又は末端内面を含み、前記接続部材は、円形接続管、シート状ライニング板又はフランジ座のうちの1つ以上の組み合わせを含む、ことを特徴とする請求項1に記載の鋼製三方接続部材。
【請求項5】
前記接続部材は、溶接平面に密着溶接される1枚のシート状ライニング板又は順に重なった複数枚のシート状ライニング板を含み、前記シート状ライニング板は、円形継手管孔を有する多角形ライニング板又は環状ライニング板である、ことを特徴とする請求項4に記載の鋼製三方接続部材。
【請求項6】
前記フランジ座は、フランジ台面及びフランジ部を含み、前記フランジ部は、継手管孔の外縁を囲み且つフランジ台面に接続され、前記フランジ台面は、塑性突起部の末端外面に形成される溶接平面に密着溶接され又はシート状ライニング板に密着溶接され、前記継手管は、フランジ部に嵌合溶接される、ことを特徴とする請求項4に記載の鋼製三方接続部材。
【請求項7】
前記接続部材と溶接平面との間には固定接続部材の自己融着式ビード及び/又はろう付けビードが形成され、前記自己融着式ビードは、局所ビード又は一体式環状ビードである、ことを特徴とする請求項1に記載の鋼製三方接続部材。
【請求項8】
前記主管は、両端が開放されたまっすぐな管であり、前記塑性突起部は、主管の周囲壁から主管の一側へ傾斜し又は垂直に突起し、主管の両端及び継手管は、共に鋼製三方接続部材の3つの継手管端を構成する、ことを特徴とする請求項1に記載の鋼製三方接続部材。
【請求項9】
前記主管は、両端が開放され且つ両端の向きが異なる湾曲管であり、前記塑性突起部は、主管の屈曲箇所から外へ突起延在し、塑性突起部の末端に位置する溶接平面は、主管の屈曲箇所の軸線にほぼ平行し又は主管の屈曲箇所の軸線に対して傾斜に分布し、主管の両端及び継手管は、共に鋼製三方接続部材の3つの継手管端を構成し、
又は、前記主管は、両端が開放され且つ両端の向きがほぼ同じである湾曲管であり、塑性突起部は、主管の屈曲箇所から外へ突起延在し、塑性突起部の末端に位置する溶接平面は、主管の屈曲箇所の軸線にほぼ平行し、主管の両端及び継手管は、共に鋼製三方接続部材の3つの継手管端を構成する、ことを特徴とする請求項1に記載の鋼製三方接続部材。
【請求項10】
前記主管は、一端が開放された構造を呈し、主管の周囲壁には主管軸線の両側へそれぞれ突起する少なくとも2つの塑性突起部が形成され、各塑性突起部の末端にはいずれも溶接平面が形成され且つ各溶接平面にはいずれも流体貫通孔が開けられ、2つの接続部材は、それぞれ2つの溶接平面に密着溶接され且つ各接続部材にはいずれも軸線が主管開放端と軸方向に略直角又は鈍角で交差する継手管孔が開けられ、2つの継手管孔に接続される2本の継手管及び主管の開放端は、共に鋼製三方接続部材の3つの継手管端を構成する、ことを特徴とする請求項1に記載の鋼製三方接続部材。
(【請求項11】以降は省略されています)
発明の詳細な説明
【技術分野】
【0001】
本発明は、冷房システム部材分野に関し、特に鋼製三方接続部材及び冷房管アセンブリに関する。
続きを表示(約 2,100 文字)
【背景技術】
【0002】
三方接続部材は、主にシステム管路を接続して冷媒の分配を実現するために使用される冷房システムにおける一般的な部品である。従来の三方接続部材は、銅材料で作られることが多いが、銅は、貴金属材料であり、市場価格が上昇するにつれて、銅製三方接続部材のコストも高くなっている。そのため、銅材料の代わりに低コストの鋼材料を用いた三方接続部材の開発は、当業者の研究開発方向となった。鋼材質の延性は、銅材質の20%程度であるが、その硬度は、銅材質の4~5倍である。このような物理的性質により、鋼材料は、銅材料のように直接内高圧成形やパンチフランジによってろう付け要求を満たす継手管溶接接続長さを形成することが困難になる。従って、従来の鋼製三方接続部材における継手700は、主管600上の相貫線孔601内(図1に示す)に自己融着式曲面線状ビードを用いて溶接することしかできない。このような溶接方式によって形成される鋼製三方接続部材の耐圧性が冷房システムの高い設計作業圧力要求を満たすことが困難であることは、明らかである。
【0003】
自己融着式で溶接成形される従来の鋼製三方接続部材が冷房システムに応用しにくい問題を解決するために、発明者らは、中国特許CN2024205048701(出願日2024年03月15日)に耐圧性能に優れた鋼製三方接続部材を提案する。この構造では、鋼製接続部材の外周囲壁には継手管孔が開けられ、継手管孔における鋼製接続部材の肉厚Tを制御することにより、継手管孔の内周囲壁に大面積のろう付け面を形成し、さらに継手管ろう付け後の接続強度及び耐圧性が冷房システム要求を満たすことを実現する。しかしながら、大面積のろう付け面は、鋼製接続部材の肉厚Tに基づいて実現されるため、鋼製接続部材の肉厚は、厚い必要がある。大きい肉厚は、鋼製接続部材の材料コストを大幅に向上させるだけでなく、その加工難易度及び加工過程におけるエネルギー消費も急増する。さらに、継手管孔の開設を実現するためには、鋼製接続部材の外周囲壁に継手管孔の開設に基準を提供するためにろう付け平面を成形する必要がある。肉厚の制限を受けて、鋼製接続部材は、熱間鍛造又は冷間ランタンと機械加工との組み合わせにより、断面が多角形を呈するか、そのうちの1つの面が溶接平面であり、その他の領域が円弧面である構造に加工するしかできない。この加工方式は、工程が複雑であるだけでなく、加工エネルギー消費が高い。
【0004】
なお、発明者らは、さらに中国特許CN2024205048453(出願日2024年03月15日)に新型鋼製三方管部材を提案する。この構造では、薄肉管体内にインナーブッシュを追加する又は継手管孔の主管体肉厚を制御することによって、継手管孔内に大面積のろう付け面を形成する。同様に、主管体の肉厚の増加であれ、インナースリーブの設置であれ、三方管部材の材料コストに大きな圧力を与え、インナーブッシュの組み立て及び厚肉主管体における継手管孔の加工も複雑である。
【発明の概要】
【発明が解決しようとする課題】
【0005】
本発明は、従来技術の不足を克服するために、鋼製三方接続部材及び冷房管アセンブリを提供する。
【課題を解決するための手段】
【0006】
上記目的を実現するために、本発明は、鋼製三方接続部材であって、主管、接続部材及び継手管を含み、主管は、薄肉の円形管部材であり、主管の周囲壁には主管の外部へ延在する塑性突起部が金属塑性で成形され、塑性突起部の末端には、主管軸線にほぼ平行し又は主管軸線に対して傾斜に分布する溶接平面が形成され、溶接平面は、主管の塑性突起部の延在方向における最高母線にほぼ面一となり又は最高母線を超えるように延在し、溶接平面には流体貫通孔が開けられ、接続部材は、溶接平面に密着溶接され且つ接続部材には流体貫通孔に連通する継手管孔が開けられ、継手管は、薄肉の円形管部材であり、接続部材における継手管孔及び/又は溶接平面上の流体貫通孔に嵌合溶接される、鋼製三方接続部材を提供する。
【0007】
本発明の一実施例によれば、塑性突起部の横断面面積は、その延在方向に沿って徐々に増加し、溶接平面外輪廓線が囲む領域の面積は、主管における非塑性突起部領域の内孔断面積以上である。
【0008】
本発明の一実施例によれば、溶接平面の塑性突起部への延在方向における投影面は、円形、楕円形又は多角形のうちのいずれか1つを呈する。
【0009】
本発明の一実施例によれば、溶接平面は、塑性突起部の末端外面及び/又は末端内面を含み、接続部材は、円形接続管、シート状ライニング板又はフランジ座のうちの1つ以上の組み合わせを含む。
【0010】
本発明の一実施例によれば、接続部材は、溶接平面に密着溶接される1枚のシート状ライニング板又は順に重なった複数枚のシート状ライニング板を含み、シート状ライニング板は、円形継手管孔を有する多角形ライニング板又は環状ライニング板である。
(【0011】以降は省略されています)
この特許をJ-PlatPat(特許庁公式サイト)で参照する
関連特許
含山瑞可金属有限公司
鋼製三方接続部材及び冷房管アセンブリ
4日前
個人
留め具
1か月前
個人
鍋虫ねじ
3か月前
個人
紛体用仕切弁
3か月前
個人
ホース保持具
7か月前
個人
回転伝達機構
3か月前
個人
トーションバー
7か月前
個人
差動歯車用歯形
5か月前
個人
給排気装置
1か月前
個人
ジョイント
2か月前
個人
ナット
19日前
株式会社不二工機
電磁弁
6か月前
個人
ナット
2か月前
個人
地震の揺れ回避装置
4か月前
個人
ボルトナットセット
8か月前
株式会社不二工機
電磁弁
4か月前
個人
吐出量監視装置
2か月前
個人
ゲート弁バルブ
4日前
カヤバ株式会社
ダンパ
5か月前
カヤバ株式会社
緩衝器
8か月前
兼工業株式会社
バルブ
20日前
カヤバ株式会社
緩衝器
1か月前
カヤバ株式会社
緩衝器
4か月前
カヤバ株式会社
緩衝器
4か月前
株式会社三協丸筒
枠体
8か月前
柿沼金属精機株式会社
分岐管
3か月前
カヤバ株式会社
ダンパ
5か月前
日東電工株式会社
断熱材
7か月前
株式会社フジキン
ボールバルブ
5か月前
日東精工株式会社
樹脂被覆ねじ
8か月前
株式会社ノーリツ
分配弁
1か月前
個人
固着具と固着具の固定方法
6か月前
株式会社不二工機
電動弁
1か月前
株式会社ニフコ
クリップ
1か月前
個人
固着具と固着具の固定方法
7か月前
アズビル株式会社
回転弁
2か月前
続きを見る
他の特許を見る