TOP
|
特許
|
意匠
|
商標
特許ウォッチ
Twitter
他の特許を見る
10個以上の画像は省略されています。
公開番号
2025171985
公報種別
公開特許公報(A)
公開日
2025-11-20
出願番号
2025070159
出願日
2025-04-22
発明の名称
コンピュータ実装方法、コンピュータシステム、及び、コンピュータプログラム(異種のプラットフォームにわたりソフトウェアプロジェクトを移植するための作業工数の予測)
出願人
インターナショナル・ビジネス・マシーンズ・コーポレーション
,
INTERNATIONAL BUSINESS MACHINES CORPORATION
代理人
個人
,
個人
,
弁理士法人RYUKA国際特許事務所
主分類
G06F
8/77 20180101AFI20251113BHJP(計算;計数)
要約
【課題】大規模なソフトウェアプロジェクトを異種のプラットフォームにわたり移植するために必要な作業工数を正確に判定することはできない。
【解決手段】移植作業工数を予測することが提供される。第1の移植作業工数、第2の移植作業工数、及び第3の移植作業工数を用いて、ソフトウェアプロジェクトをソースプラットフォームから異種のターゲットプラットフォームに移植するための総移植作業工数を予測する。前記総移植作業工数が定義された最大移植作業工数閾値レベル未満であることに基づき、前記ソフトウェアプロジェクトを前記ソースプラットフォームから前記異種のターゲットプラットフォームに移植する。
【選択図】図1
特許請求の範囲
【請求項1】
移植作業工数を予測するためのコンピュータ実装方法であって:
コンピュータが、第6の機械学習モデルを利用して、第1の移植作業工数、第2の移植作業工数、及び第3の移植作業工数を用いて、ソフトウェアプロジェクトをソースプラットフォームから異種のターゲットプラットフォームに移植するための総移植作業工数を予測する段階;及び
前記コンピュータが、前記総移植作業工数が定義された最大移植作業工数閾値レベル未満であることに基づき、前記ソフトウェアプロジェクトを前記ソースプラットフォームから前記異種のターゲットプラットフォームに移植する段階
を備えるコンピュータ実装方法。
続きを表示(約 2,200 文字)
【請求項2】
前記コンピュータが、第1の機械学習モデルを利用して、構成フェーズ、コンパイルフェーズ、リンクフェーズ、及びコード変更フェーズに対応する特徴データを用いて前記第1の移植作業工数を予測する段階
を更に備える、請求項1に記載のコンピュータ実装方法。
【請求項3】
前記コンピュータが、第2の機械学習モデルを利用して、構成フェーズ、コンパイルフェーズ、リンクフェーズ、コード変更フェーズ、及び、前記ソフトウェアプロジェクトの構築中に使用された元のテストケースの数を含むテストフェーズに対応する特徴データを用いて新規テストケースの数を予測する段階;及び
前記コンピュータが、第3の機械学習モデルを利用して、前記テストフェーズに対応する特徴データに含まれる予測された新規テストケースの数を用いて前記第2の移植作業工数を予測する段階
を更に備える、請求項1又は2に記載のコンピュータ実装方法。
【請求項4】
前記コンピュータが、第4の機械学習モデルを利用して、構成フェーズ、コンパイルフェーズ、リンクフェーズ、コード変更フェーズ、及びテストフェーズに対応する特徴データを用いて、元のテストケースの数及び予測された新規テストケースの数の実行中に検出されるバグの数を予測する段階;及び
前記コンピュータが、第5の機械学習モデルを利用して、バグ修正フェーズに対応する特徴データに含まれる、予測された検出されるバグの数を用いて前記第3の移植作業工数を予測する段階
を更に備える、請求項1又は2に記載のコンピュータ実装方法。
【請求項5】
前記第1の移植作業工数はベース移植作業工数であり、前記第2の移植作業工数はテスト工数であり、前記第3の移植作業工数はバグ修正工数である、請求項1又は2に記載のコンピュータ実装方法。
【請求項6】
前記コンピュータが、前記ソフトウェアプロジェクトを前記ソースプラットフォームから前記異種のターゲットプラットフォームに移植する旨の要求を受信する段階;
前記コンピュータが、前記要求に応答して、類似のターゲットプラットフォームに以前に移植された類似のソフトウェアプロジェクトに対応する過去のデータのセットを取り出す段階;
前記コンピュータが、前記類似のターゲットプラットフォームに以前に移植された前記類似のソフトウェアプロジェクトに対応する前記過去のデータのセットの分析を実行する段階;及び
前記コンピュータが、前記類似のターゲットプラットフォームに以前に移植された前記類似のソフトウェアプロジェクトに対応する前記過去のデータのセットの前記分析に基づき、前記過去のデータのセットから、ソフトウェアプロジェクト移植プロセスに関連付けられた複数のフェーズのうちの各フェーズについての特徴データを抽出する段階、前記複数のフェーズは、構成フェーズ、コンパイルフェーズ、リンクフェーズ、コード変更フェーズ、テストフェーズ、及びバグ修正フェーズを含む、
を更に備える、請求項1又は2に記載のコンピュータ実装方法。
【請求項7】
前記コンピュータが、前記構成フェーズ、前記コンパイルフェーズ、前記リンクフェーズ、及び前記コード変更フェーズに対応する前記特徴データを用いて前記第1の移植作業工数を予測するように第1の機械学習モデルをトレーニングする段階
を更に備える、請求項6に記載のコンピュータ実装方法。
【請求項8】
前記コンピュータが、前記構成フェーズ、前記コンパイルフェーズ、前記リンクフェーズ、前記コード変更フェーズ、及び、前記ソフトウェアプロジェクトの構築中に使用された元のテストケースの数を含む前記テストフェーズに対応する前記特徴データを用いて新規テストケースの数を予測するように第2の機械学習モデルをトレーニングする段階;及び
前記コンピュータが、前記テストフェーズに対応する前記特徴データに含まれる前記新規テストケースの数を用いて前記第2の移植作業工数を予測するように第3の機械学習モデルをトレーニングする段階
を更に備える、請求項6に記載のコンピュータ実装方法。
【請求項9】
前記コンピュータが、前記構成フェーズ、前記コンパイルフェーズ、前記リンクフェーズ、前記コード変更フェーズ、及び前記テストフェーズに対応する前記特徴データを用いて、元のテストケースの数及び予測された新規テストケースの数の実行中に検出されるバグの数を予測するように第4の機械学習モデルをトレーニングする段階;及び
前記コンピュータが、前記バグ修正フェーズに対応する前記特徴データに含まれる、前記検出されるバグの数を用いて前記第3の移植作業工数を予測するように第5の機械学習モデルをトレーニングする段階
を更に備える、請求項6に記載のコンピュータ実装方法。
【請求項10】
前記コンピュータが、前記第1の移植作業工数、前記第2の移植作業工数、及び前記第3の移植作業工数を用いて前記総移植作業工数を予測するように前記第6の機械学習モデルをトレーニングする段階
を更に備える、請求項6に記載のコンピュータ実装方法。
(【請求項11】以降は省略されています)
発明の詳細な説明
【技術分野】
【0001】
本開示は、概してソフトウェアプロジェクトに関し、より具体的には、ソフトウェアプロジェクトを移植することに関する。
続きを表示(約 1,100 文字)
【背景技術】
【0002】
ソフトウェアプロジェクトは、要件収集からテスト及び保守に至るまでのソフトウェア開発の完全な手順である。移植は、ソフトウェアプロジェクトが当初設計されたプラットフォームとは異なるプラットフォーム(例えば、異なるオペレーティングシステム、サードパーティライブラリ、プロセッサ、及び同様のもの)(例えば、コンピューティング環境)における何らかの形態の実行を実現する目的で、ソフトウェアプロジェクトを適合させるプロセスである。ソフトウェアプロジェクトを新たなプラットフォームに移植する作業工数が、ソフトウェアプロジェクトをゼロから構築する作業工数未満である場合に、そのソフトウェアプロジェクトは移植可能である。
【発明の概要】
【発明が解決しようとする課題】
【0003】
大規模なソフトウェアプロジェクトを異種のプラットフォームにわたり移植するために必要な作業工数を正確に判定することはできない。
【課題を解決するための手段】
【0004】
1つの例示的な実施形態によれば、移植作業工数を予測するためのコンピュータ実装方法が提供される。コンピュータは、第6の機械学習モデルを利用して、第1の移植作業工数、第2の移植作業工数、及び第3の移植作業工数を用いて、ソフトウェアプロジェクトをソースプラットフォームから異種のターゲットプラットフォームに移植するための総移植作業工数を予測する。前記コンピュータは、前記総移植作業工数が定義された最大移植作業工数閾値レベル未満であることに基づき、前記ソフトウェアプロジェクトを前記ソースプラットフォームから前記異種のターゲットプラットフォームに移植する。他の例示的な実施形態によれば、移植作業工数を予測するためのコンピュータシステム及びコンピュータプログラム製品が提供される。
【図面の簡単な説明】
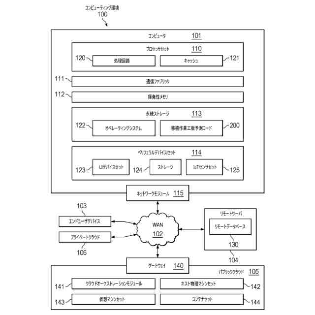
【0005】
例示的な実施形態が実装され得るコンピューティング環境の図的表現である。
【0006】
例示的な実施形態による、移植作業工数予測システムの一例を示す図である。
【0007】
例示的な実施形態による、機械学習トレーニングプロセスの一例を示す図である。
【0008】
例示的な実施形態による、移植作業工数予測プロセスの一例を示す図である。
【0009】
例示的な実施形態による、移植作業工数予測テーブルの一例を示す図である。
【0010】
例示的な実施形態による、ベース移植作業工数予測プロセスの一例を示す図である。
(【0011】以降は省略されています)
この特許をJ-PlatPat(特許庁公式サイト)で参照する
関連特許
個人
詐欺保険
1か月前
個人
縁伊達ポイン
1か月前
個人
RFタグシート
28日前
個人
5掛けポイント
17日前
個人
職業自動販売機
10日前
個人
QRコードの彩色
1か月前
個人
地球保全システム
1か月前
個人
ペルソナ認証方式
25日前
個人
情報処理装置
20日前
個人
自動調理装置
27日前
個人
農作物用途分配システム
1か月前
個人
残土処理システム
1か月前
個人
サービス情報提供システム
12日前
個人
タッチパネル操作指代替具
1か月前
個人
知的財産出願支援システム
1か月前
個人
インターネットの利用構造
24日前
個人
スケジュール調整プログラム
1か月前
個人
携帯端末障害問合せシステム
1か月前
個人
システム及びプログラム
2か月前
株式会社キーエンス
受発注システム
1か月前
個人
食品レシピ生成システム
1か月前
株式会社キーエンス
受発注システム
1か月前
個人
エリアガイドナビAIシステム
25日前
株式会社キーエンス
受発注システム
1か月前
個人
海外支援型農作物活用システム
2か月前
キヤノン株式会社
情報処理装置
4日前
キヤノン株式会社
情報処理装置
4日前
キヤノン株式会社
情報処理装置
18日前
キヤノン株式会社
画像認識装置
4日前
大同特殊鋼株式会社
疵判定方法
2か月前
キヤノン株式会社
表示システム
1か月前
株式会社ワコム
電子ペン
19日前
株式会社ケアコム
項目選択装置
20日前
株式会社ワコム
電子ペン
19日前
株式会社ケアコム
項目選択装置
20日前
エッグス株式会社
情報処理装置
1か月前
続きを見る
他の特許を見る