TOP
|
特許
|
意匠
|
商標
特許ウォッチ
Twitter
他の特許を見る
公開番号
2025171929
公報種別
公開特許公報(A)
公開日
2025-11-20
出願番号
2024200656
出願日
2024-11-18
発明の名称
組織プロセスバックグラウンドインテリジェンス
出願人
エスアーペー エスエー
代理人
個人
,
個人
,
個人
主分類
H04L
67/55 20220101AFI20251113BHJP(電気通信技術)
要約
【課題】組織プロセスバックグラウンドインテリジェンスについて説明する。
【解決手段】データ分析アクティビティ(DAA)定義を使用して、ソフトウェアアプリケーションに関連付けられたDAAがトリガされる。データクエリの入力としてインスタンス値のセットを生成するために、インスタンスセレクタクエリが実行される。インスタンス値のセットのインスタンス値を使用して、データセットを生成するためのデータクエリが実行される。データセットを使用して、人工知能(AI)エンジンのための指示が計算される。AIエンジンのための指示に基づく結果がAIエンジンから受信される。AIエンジンのための指示に基づく結果がAI結果履歴ストアに記憶される。以前のDAA実行からの以前の結果がAI結果履歴ストアから読み取られる。ソフトウェアアプリケーションを使用して、定義されたターゲットオーディエンスへの通知が送信される。
【選択図】図1
特許請求の範囲
【請求項1】
コンピュータにより実施される方法であって、
データ分析アクティビティ(DAA)定義を使用して、ソフトウェアアプリケーションに関連付けられたDAAをトリガするステップと、
前記DAAによって、データクエリの入力としてインスタンス値のセットを生成するためにインスタンスセレクタクエリを実行するステップと、
前記DAAによって、前記インスタンス値のセットのインスタンス値を使用して、データセットを生成するためのデータクエリを実行するステップと、
前記DAAによって、前記データセットを使用して、人工知能(AI)エンジンのための指示を計算するステップと、
前記DAAによって、前記AIエンジンから、前記AIエンジンのための指示に基づく結果を受信するステップと、
前記DAAによって、前記AIエンジンのための指示に基づく前記結果をAI結果履歴ストアに記憶するステップと、
前記DAAによって、前記AI結果履歴ストアから、以前のDAA実行からの以前の結果を読み取るステップと、
前記DAAによって、前記ソフトウェアアプリケーションを使用して、定義されたターゲットオーディエンスに通知を送信するステップと
を含む、コンピュータにより実施される方法。
続きを表示(約 1,300 文字)
【請求項2】
前記DAAが、スケジューラまたはデータベーストリガによってトリガされる、請求項1に記載のコンピュータ実装方法。
【請求項3】
前記DAAが、前記インスタンス値のセットのすべてのインスタンス値にわたってループする、請求項1に記載のコンピュータにより実施される方法。
【請求項4】
前記AIエンジンのための指示が、プロンプト定義と前記データセットとを含む、請求項1に記載のコンピュータにより実施される方法。
【請求項5】
前記DAAによって前記AIエンジンに前記AIエンジンのための指示を送信するステップを含む、請求項4に記載のコンピュータにより実施される方法。
【請求項6】
前記DAAによって前記AIエンジンのための指示に基づく前記結果を解釈するステップを含む、請求項1に記載のコンピュータにより実施される方法。
【請求項7】
前記DAAによって、前記定義されたターゲットオーディエンスに通知するかどうかを決定するステップを含み、前記決定が、i)前記AIエンジンの結果、またはii)前記AIエンジンからの以前に送信された結果に基づく、請求項1に記載のコンピュータにより実施される方法。
【請求項8】
1つまたは複数の動作を実行するためにコンピュータシステムによって実行可能な1つまたは複数の命令を記憶する非一時的コンピュータ可読媒体であって、前記1つまたは複数の動作が、
データ分析アクティビティ(DAA)定義を使用して、ソフトウェアアプリケーションに関連付けられたDAAをトリガすることと、
前記DAAによって、データクエリの入力としてインスタンス値のセットを生成するためにインスタンスセレクタクエリを実行することと、
前記DAAによって、前記インスタンス値のセットのインスタンス値を使用して、データセットを生成するためのデータクエリを実行することと、
前記DAAによって、前記データセットを使用して、人工知能(AI)エンジンのための指示を計算することと、
前記DAAによって、前記AIエンジンから、前記AIエンジンのための指示に基づく結果を受信することと、
前記DAAによって、前記AIエンジンのための指示に基づく前記結果をAI結果履歴ストアに記憶することと、
前記DAAによって、前記AI結果履歴ストアから、以前のDAA実行からの以前の結果を読み取ることと、
前記DAAによって、前記ソフトウェアアプリケーションを使用して、定義されたターゲットオーディエンスに通知を送信することと
を含む、非一時的コンピュータ可読媒体。
【請求項9】
前記DAAが、スケジューラまたはデータベーストリガによってトリガされる、請求項8に記載の非一時的コンピュータ可読媒体。
【請求項10】
前記DAAが、前記インスタンス値のセットのすべてのインスタンス値にわたってループする、請求項8に記載の非一時的コンピュータ可読媒体。
(【請求項11】以降は省略されています)
発明の詳細な説明
【技術分野】
【0001】
組織によって使用されるソフトウェアアプリケーション(例えば、企業資産計画(ERP)または顧客関係管理(CRM))は、多くのテーブルを有するデータベース(DB)を使用し、テーブルは、異なる組織プロセス/ソフトウェアアプリケーションドメインのデータを含む。最新のソフトウェアアプリケーションは、人工知能(AI)技術を実装する「デジタルアシスタント」を含み、デジタルアシスタントは、ユーザのアクションに応じてトリガされる。ユーザは、デジタルアシスタントと会話をし、デジタルアシスタントは、所望のタスクを実行する。利用可能なデータに対して計算が実行され、所望のデータ分析が「アドホックに」実行される(例えば、ユーザがグラフィカルユーザインターフェース(GUI)を直接使用することによってトリガされる)。デジタルアシスタントは、ユーザが進め方を選択するオプションとともに中間結果を提示し得る。従来のバックグラウンドアクティビティ(例えば、計画された日時または時間間隔において「バッチジョブ」として実行される)は、通常は、AIを使用せず、中間のユーザ対話なしに、データを処理し、後に使用するためにDB内に記憶される結果を作成する。
続きを表示(約 2,600 文字)
【背景技術】
【0002】
データ集約型ソフトウェアアプリケーションは、分析機能を有し、この分析機能はユーザが分析を実行し、「シグナルハンティング」を実行し、データの異常、傾向の変化などを探索することを可能にする。そのような分析は、典型的には、現在利用可能なデータに基づいて、データサイエンティストによって実行される。データサイエンティストは、データに対してコードセクションを実行するためにコードスニペットを記述し、中間結果を提供し、次のコードセクションが、ユーザによる介入のオプションとともに中間結果に取り組む。そのような分析が有益であると考えられる場合、ある時点において半手動で繰り返される可能性がある。しかしながら、デジタルアシスタントがサポートするアクティビティは、現在、バックグラウンドにおいて継続的に実行されておらず、シグナルが見つかった場合にのみユーザに通知したり、またはインテリジェントなシグナルハンティングの結果を継続的に実行もしくは評価することはない。
【発明の概要】
【課題を解決するための手段】
【0003】
本開示は、組織プロセスバックグラウンドインテリジェンスについて説明する。
【0004】
実装形態において、コンピュータ実装方法は、データ分析アクティビティ(DAA)定義を使用して、ソフトウェアアプリケーションに関連付けられたDAAをトリガするステップと、DAAによって、データクエリの入力としてインスタンス値のセットを生成するためにインスタンスセレクタクエリを実行するステップと、DAAによって、インスタンス値のセットのインスタンス値を使用して、データセットを生成するためのデータクエリを実行するステップと、DAAによって、データセットを使用して、人工知能(AI)エンジンのための指示を計算するステップと、DAAによって、AIエンジンから、AIエンジンのための指示に基づく結果を受信するステップと、DAAによって、AIエンジンのための指示に基づく結果をAI結果履歴ストアに記憶するステップと、DAAによって、AI結果履歴ストアから、以前のDAA実行からの以前の結果を読み取るステップと、DAAによって、ソフトウェアアプリケーションを使用して、定義されたターゲットオーディエンスに通知を送信するステップとを含む。
【0005】
記載されている主題は、コンピュータ実装方法と、コンピュータ実装方法を実行するためのコンピュータ可読命令を記憶する非一時的コンピュータ可読媒体と、1つまたは複数のコンピュータに相互運用可能に結合され、1つまたは複数のコンピュータによって実行されると、非一時的コンピュータ可読媒体上に記憶されたコンピュータ実装方法/コンピュータ可読命令を実行する指示を記憶する有形の非一時的マシン可読媒体を有する1つまたは複数のコンピュータメモリデバイスを備えるコンピュータ実装システムとを使用して実装することができる。
【0006】
本明細書に記載されている主題は、以下の利点のうちの1つまたは複数を実現するように実装することができる。第1に、説明した手法は、柔軟だが標準化された方法において人工知能(AI)バックグラウンドジョブを容易に作成するメカニズムを提供する。顧客管理者は、単にオプションを見て、定期的に実行するものを決定することができる。第2に、AIバックグラウンドジョブを実行することは、顧客にとっての「洞察を知るまでの時間」と、洞察を見つけるためのコストとを削減することができる(例えば、現在、分析は、時折人間が実行する活動である)。第3に、説明した手法は、顧客がカスタマイズされたニーズに合わせて調整し、使用するカスタマイズされたAIモデルを構成し、そして、ベンダーのジョブのコピーに基づいて、またはカスタマイズされた定義として、カスタマイズされたバックグラウンドAIジョブを定義することさえ可能にする。
【0007】
本明細書の主題の1つまたは複数の実装形態の詳細は、詳細な説明、特許請求の範囲、および添付図面において記載されている。主題の他の特徴、態様、および利点は、詳細な説明、特許請求の範囲、および添付図面から当業者には明らかになるであろう。
【図面の簡単な説明】
【0008】
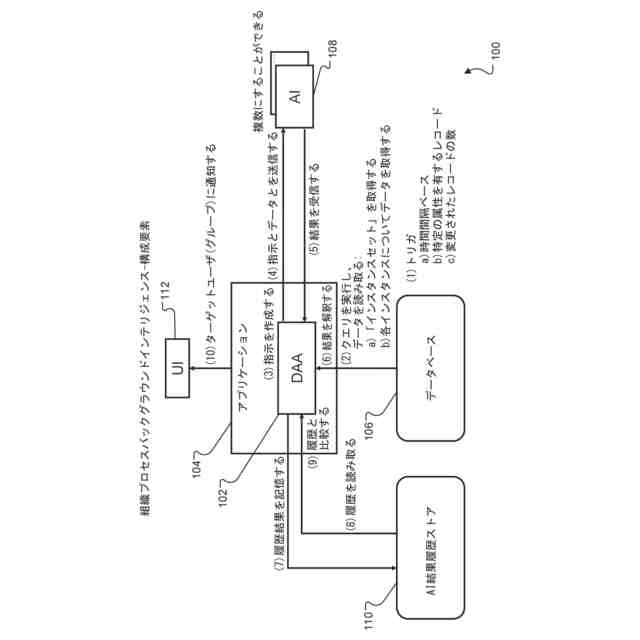
本開示の実装形態による、組織プロセスバックグラウンドインテリジェンス構成要素図を関連するプロセスとともに示すブロック図である。
本開示の実装形態による、例示的なデータ分析アクティビティ(DAA)エディタのモックアップの図である。
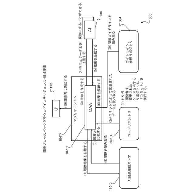
本開示の実装形態による、開発プロセスバックグラウンドインテリジェンス構成要素図を関連するプロセスとともに示すブロック図である。
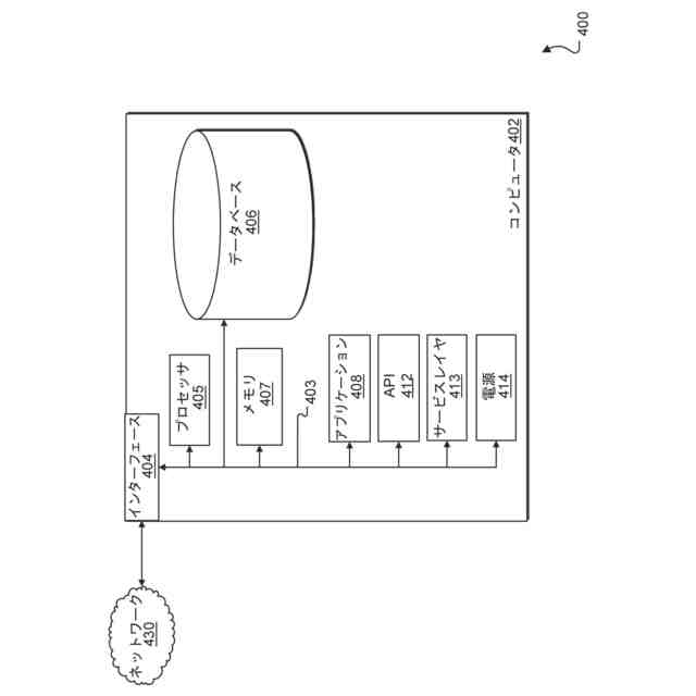
本開示の実装形態による、説明したアルゴリズム、方法、機能、プロセス、フロー、手順に関連する計算機能を提供するために使用されるコンピュータ実装システムの例を示すブロック図である。
【発明を実施するための形態】
【0009】
様々な図面における同様の参照番号および名称は、同様の要素を示す。
【0010】
以下の詳細な説明は、組織プロセスバックグラウンドインテリジェンスについて説明し、当業者が1つまたは複数の特定の実装形態の文脈において開示された主題を作成および使用することを可能にするために提示される。開示された実装形態の様々な修正、変更、および並べ替えが行われることができ、これは、当業者には容易に明らかであり、定義された一般的な原理は、本開示の範囲から逸脱することなく、他の実装形態およびソフトウェアアプリケーション(またはアプリケーション)に適用することができる。いくつかの実装形態において、説明した主題の理解を得るために不必要で、当業者の技能の範囲内にある1つまたは複数の技術的詳細は、1つまたは複数の説明した実装形態を不明瞭にしないように省略される場合がある。本開示は、説明または図示した実装形態に限定されることを意図しておらず、説明した原理および特徴と一致する最も広い範囲が与えられることを意図している。
(【0011】以降は省略されています)
この特許をJ-PlatPat(特許庁公式サイト)で参照する
関連特許
エスアーペー エスエー
テナント固有災害復旧
26日前
エスアーペー エスエー
自動化されたオントロジーの保守
1か月前
エスアーペー エスエー
選択的キャッシュエントリ削除の特徴
2か月前
エスアーペー エスエー
ローカルナレッジグラフおよびその使用
15日前
エスアーペー エスエー
大規模言語モデルを使用したデータの修正
1か月前
エスアーペー エスエー
組織プロセスバックグラウンドインテリジェンス
2日前
エスアーペー エスエー
マルチテナントデータベースのための自動後退管理
2日前
個人
イヤーピース
15日前
個人
イヤーマフ
29日前
個人
監視カメラシステム
1か月前
個人
スイッチシステム
23日前
キーコム株式会社
光伝送線路
1か月前
個人
スキャン式車載用撮像装置
1か月前
サクサ株式会社
中継装置
1か月前
WHISMR合同会社
収音装置
2か月前
サクサ株式会社
中継装置
1か月前
アイホン株式会社
電気機器
2か月前
キヤノン電子株式会社
画像読取装置
2か月前
ヤマハ株式会社
放音制御装置
23日前
個人
映像表示装置、及びARグラス
24日前
サクサ株式会社
無線通信装置
1か月前
サクサ株式会社
無線通信装置
1か月前
個人
ワイヤレスイヤホン対応耳掛け
2か月前
キヤノン電子株式会社
画像読取装置
1か月前
サクサ株式会社
無線システム
1か月前
キヤノン電子株式会社
画像読取装置
23日前
キヤノン電子株式会社
画像読取装置
15日前
株式会社リコー
画像形成装置
1か月前
キヤノン株式会社
撮像システム
2か月前
キヤノン株式会社
画像処理装置
18日前
キヤノン株式会社
情報処理装置
2日前
個人
発信機及び発信方法
1か月前
日本電気株式会社
海底分岐装置
1か月前
キヤノン電子株式会社
シート搬送装置
15日前
有限会社フィデリックス
マイクロフォン
1か月前
株式会社NTTドコモ
端末
1か月前
続きを見る
他の特許を見る