TOP
|
特許
|
意匠
|
商標
特許ウォッチ
Twitter
他の特許を見る
公開番号
2025162502
公報種別
公開特許公報(A)
公開日
2025-10-27
出願番号
2024161080
出願日
2024-09-18
発明の名称
テナント固有災害復旧
出願人
エスアーペー エスエー
代理人
個人
,
個人
,
個人
主分類
G06F
3/06 20060101AFI20251020BHJP(計算;計数)
要約
【課題】テナント固有災害復旧のためのコンピュータ実装方法、システム及び非一時的コンピュータ可読媒体を提供する。
【解決手段】方法は、ルーティング構成に、プライマリ及びセカンダリデータセンターロケーションに対するテナント固有プリファレンスを変換するステップを含む。データセンターロケーションにおいてエンドポイントを有するサービスパーシステンシーが、サービスパーシステンシー間のレプリケーションエージェントを構成するために使用される。データレプリケーションは、テナント固有プリファレンスに従ってデータを冗長ストレージにコピーする。テナント選択プライマリデータセンターにおける各サービスパーシステンスに対する永続ストレージレプリケーションエージェントのエンドポイントを使用して、テナント選択プライマリデータセンターにおける各サービスパーシステンスに対して永続ストレージレプリケーションエージェントを構成する。
【選択図】図1
特許請求の範囲
【請求項1】
テナント固有災害復旧のためのコンピュータ実装方法であって、
ルーティングコンフィギュレータによって、ルーティング構成に、プライマリおよびセカンダリデータセンターロケーションに対するテナント固有ソフトウェアアプリケーションソリューションプリファレンスを変換するステップと、
前記ルーティングコンフィギュレータを使用して、前記プライマリおよびセカンダリデータセンターロケーション内の、および前記プライマリおよびセカンダリデータセンターロケーションにまたがるサービス間の通信のためのサービスメッシュをセットアップするステップと、
ランドスケープディレクトリから決定されるようなデータセンターロケーションにおけるエンドポイントとともにレプリケーションコンフィギュレータおよびサービスパーシステンシーを使用して、前記サービスパーシステンシー間のレプリケーションエージェントを構成するステップと、
前記ランドスケープディレクトリから読み取られた前記ルーティングコンフィギュレータおよびサービスエンドポイントを使用して、テナント選択プライマリデータセンターにおけるサービスデプロイメントにサービス要求をルーティングするために使用される、前記サービスメッシュを実装する仮想サービスを構成するステップと、
前記ルーティングコンフィギュレータを使用して、前記テナント選択プライマリデータセンターにおける第1のサービスインスタンスへの前記サービスメッシュにエンドユーザ要求をルーティングするようにイングレスゲートウェイを構成するステップと、
前記レプリケーションコンフィギュレータを使用して、プライマリおよびセカンダリデータセンターロケーションに対する前記テナント固有ソフトウェアアプリケーションソリューションプリファレンスに従って、データを冗長ストレージにコピーするようにデータレプリケーションを構成するステップと、
前記レプリケーションコンフィギュレータおよび前記テナント選択プライマリデータセンターにおける各サービスパーシステンスのために前記ランドスケープディレクトリからフェッチされた永続ストレージレプリケーションエージェントのエンドポイントを使用して、前記テナント選択プライマリデータセンターにおける各サービスパーシステンスのための永続ストレージレプリケーションエージェントを構成するステップとを含むコンピュータ実装方法。
続きを表示(約 1,600 文字)
【請求項2】
災害復旧制御プレーンによって、プライマリおよびセカンダリデータセンターロケーションに対する前記テナント固有ソフトウェアアプリケーションソリューションプリファレンスを受信するステップと、
フェイルオーバー構成パーシステンシーにプライマリおよびセカンダリデータセンターロケーションに対する前記テナント固有ソフトウェアアプリケーションソリューションプリファレンスを保存するステップとを含む請求項1に記載のコンピュータ実装方法。
【請求項3】
前記永続ストレージレプリケーションエージェントは、各テナントに対するデータを、テナント選択セカンダリデータセンターにおける対応するレプリケーションエージェントにレプリケートする請求項2に記載のコンピュータ実装方法。
【請求項4】
災害復旧事象の検出後、フェイルオーバー動作を実行するように前記災害復旧制御プレーンをトリガーするステップと、
前記災害復旧制御プレーンを使用して、前記フェイルオーバー構成パーシステンシー304から、プライマリおよびセカンダリデータセンターロケーションに対する前記テナント固有ソフトウェアアプリケーションソリューションプリファレンスを読み出すステップと、
ルーティングおよびレプリケーションを再構成するステップとを含む請求項3に記載のコンピュータ実装方法。
【請求項5】
前記ルーティングコンフィギュレータを使用して、ルーティング構成に、プライマリおよびセカンダリデータセンターロケーションに対する前記テナント固有ソフトウェアアプリケーションソリューションプリファレンスを変換するステップと、
前記ランドスケープディレクトリから、前記サービスエンドポイントを読み出すステップとを含む請求項4に記載のコンピュータ実装方法。
【請求項6】
前記ルーティングコンフィギュレータおよび前記サービスエンドポイントを使用して、前記サービスメッシュを、前記テナント選択セカンダリデータセンターにおけるサービスデプロイメントにサービス要求をルーティングするように構成するステップを含む請求項5に記載のコンピュータ実装方法。
【請求項7】
前記ルーティングコンフィギュレータを使用して、前記テナント選択セカンダリデータセンターにおける第1のサービスインスタンスへの前記サービスメッシュにユーザ初期要求をルーティングするようにイングレスゲートウェイを構成するステップを含む請求項6に記載のコンピュータ実装方法。
【請求項8】
前記レプリケーションコンフィギュレータを使用して、プライマリおよびセカンダリデータセンターロケーションに対する前記テナント固有ソフトウェアアプリケーションソリューションプリファレンスに基づきデータを冗長ストレージにコピーするようにデータレプリケーションを構成するステップを含む請求項7に記載のコンピュータ実装方法。
【請求項9】
前記レプリケーションコンフィギュレータによって、前記ランドスケープディレクトリから、前記永続ストレージレプリケーションエージェントのエンドポイントをフェッチするステップを含む請求項8に記載のコンピュータ実装方法。
【請求項10】
前記レプリケーションコンフィギュレータによって、前記永続ストレージレプリケーションエージェントの前記エンドポイントを使用して、前記テナント選択セカンダリデータセンターにおける各サービスパーシステンスを、レプリケーションエージェントが書き込まれたデータをどのプライマリデータセンターにレプリケートすべきかを示す情報を用いて構成するステップを含む請求項9に記載のコンピュータ実装方法。
(【請求項11】以降は省略されています)
発明の詳細な説明
【技術分野】
【0001】
本開示は、テナント固有災害復旧のためのコンピュータ実装方法、非一時的コンピュータ可読媒体およびコンピュータ実装システムに関する。
続きを表示(約 3,100 文字)
【背景技術】
【0002】
災害復旧は、クラウドコンピューティングの顧客にとって最優先事項である。顧客はデータをクラウドコンピューティング環境に預けているので、運用能力は、クラウドコンピューティング環境が破滅的な状況/逆境(たとえば、地震、洪水、火災、および戦争)下でも継続的なアクセスを提供することに依存する。このような事象が発生する確率は小さいが、多くの顧客は、異なるリージョンにまたがる複数のデータセンターにデータをレプリケートして、それらのデータセンターのうちの任意の1つにおける長期的機能停止に備えることに対して、プレミアムを支払うことを厭わない。異機種環境にある顧客にとって、複数のデータセンターにデータをレプリケートすることは、(たとえば、データ量、地理的配置、ハイパースケーラー戦略、または規制制限に起因して)法外なコストがかかることがあり、そこで、異機種環境の顧客は、単に災害復旧を差し控えるか、または保護するデータのサブセットのみを選択し得る。
【発明の概要】
【0003】
本開示では、テナント固有災害復旧(tenant-specific disaster recovery)について説明する。
【課題を解決するための手段】
【0004】
一実装形態において、テナント固有災害復旧のためのコンピュータ実装方法は、ルーティングコンフィギュレータによって、ルーティング構成に、プライマリおよびセカンダリデータセンターロケーション(primary and secondary datacenter location)に対するテナント固有ソフトウェアアプリケーションソリューションプリファレンス(software application solution preference)を変換するステップと、ルーティングコンフィギュレータを使用して、プライマリおよびセカンダリデータセンターロケーション内の、およびプライマリおよびセカンダリデータセンターロケーションにまたがるサービス間の通信のためのサービスメッシュをセットアップするステップと、ランドスケープディレクトリから決定されるようなデータセンターロケーションにおけるエンドポイントとともにレプリケーションコンフィギュレータおよびサービスパーシステンシー(service persistency)を使用して、サービスパーシステンシー間のレプリケーションエージェントを構成するステップと、ランドスケープディレクトリから読み取られたルーティングコンフィギュレータおよびサービスエンドポイントを使用して、テナント選択プライマリデータセンターにおけるサービスデプロイメントにサービス要求をルーティングするために使用される、サービスメッシュを実装する仮想サービスを構成するステップと、ルーティングコンフィギュレータを使用して、テナント選択プライマリデータセンターにおける第1のサービスインスタンスへのサービスメッシュにエンドユーザ要求をルーティングするようにイングレスゲートウェイを構成するステップと、レプリケーションコンフィギュレータを使用して、プライマリおよびセカンダリデータセンターロケーションに対するテナント固有ソフトウェアアプリケーションソリューションプリファレンスに従って、データを冗長ストレージにコピーするようにデータレプリケーションを構成するステップと、レプリケーションコンフィギュレータおよびテナント選択プライマリデータセンターにおける各サービスパーシステンス(service persistence)のためにランドスケープディレクトリからフェッチされた永続ストレージレプリケーションエージェント(persistent storage replication agent)のエンドポイントを使用して、テナント選択プライマリデータセンターにおける各サービスパーシステンスのための永続ストレージレプリケーションエージェントを構成するステップとを含む。
【0005】
説明されている主題は、コンピュータ実装方法と、コンピュータ実装方法を実行するためのコンピュータ可読命令を記憶する非一時的コンピュータ可読媒体と、1つまたは複数のコンピュータと相互動作可能に結合されている1つまたは複数のコンピュータメモリデバイスを備え、1つまたは複数のコンピュータによって実行されたときに、非一時的コンピュータ可読媒体に記憶されているコンピュータ実装方法/コンピュータ可読命令を実行する命令を記憶している有形の非一時的機械可読媒体を有するコンピュータ実装システムとを使用して実装され得る。
【0006】
本明細書において説明されている主題は、次の利点のうちの1つまたは複数を実現するために実装され得る。
【0007】
第1に、災害復旧は、アプリケーションおよび顧客テナント毎に構成され得、この特徴を必要としない顧客に対しては、オーバーヘッドおよび追加コストのないデフォルト構成を提供することを可能にするが、他の顧客に対しては、(たとえば、プレミアム価格での)アクティベーションを可能にする。第2に、各顧客は、データセンターのどの組合せ(およびハイパースケーラー)が他の顧客から独立して固有のワークロードに使用されるべきかを個別に選択することができる。これは、顧客の戦略的プリファレンス(AMAZON WEB SERVICESまたは他のクラウドコンピューティングプロバイダのプラットフォームをホスティングしたくない顧客など)、規制要件(たとえば、欧州連合(EU)アクセスのみ)、そしてもちろんロケーション依存性(たとえば、最低のレイテンシおよび最速の応答時間を達成するため)に適応する自由な選択を可能にする。第3に、説明されているアプローチは、クラウドコンピューティングプロバイダが災害復旧を可能にする顧客の能力に影響を及ぼすことなく純粋に運用とコストの観点から決められた、リージョン内のハブまたは衛星のいずれかへデプロイメントを活用する複雑なマイクロサービスベースのソリューションを構築することを可能にする。
【0008】
本明細書の主題の1つまたは複数の実装形態の詳細は、「発明の概要」、「特許請求の範囲」、および添付図面において述べられる。主題の他の特徴、態様、および利点は、「発明の概要」、「特許請求の範囲」、および添付図面から当業者に明らかになるであろう。
【図面の簡単な説明】
【0009】
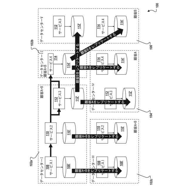
本開示の一実装形態による、通常動作中の例示的なクラウドコンピューティングシステムのボックスダイアグラムである。
本開示の一実装形態による、フェイルオーバー状況における図1の例示的なクラウドコンピューティングシステムのボックスダイアグラムである。
本開示の一実装形態による、テナント固有災害復旧のためのコンピュータ実装システムおよび方法の一例を示すボックスダイアグラムである。
本開示の一実装形態による、説明されているアルゴリズム、方法、機能、プロセス、フロー、およびプロシージャに関連付けられている計算機能を提供するために使用されるコンピュータ実装システムの一例を示すブロック図である。
【発明を実施するための形態】
【0010】
様々な図面中の同様の参照番号および名称は同様の要素を示す。
(【0011】以降は省略されています)
この特許をJ-PlatPat(特許庁公式サイト)で参照する
関連特許
エスアーペー エスエー
テナント固有災害復旧
26日前
エスアーペー エスエー
自動化されたオントロジーの保守
1か月前
エスアーペー エスエー
ローカルナレッジグラフおよびその使用
15日前
エスアーペー エスエー
大規模言語モデルを使用したデータの修正
1か月前
エスアーペー エスエー
組織プロセスバックグラウンドインテリジェンス
2日前
エスアーペー エスエー
マルチテナントデータベースのための自動後退管理
2日前
個人
詐欺保険
1か月前
個人
縁伊達ポイン
1か月前
個人
RFタグシート
26日前
個人
5掛けポイント
15日前
個人
職業自動販売機
8日前
個人
QRコードの彩色
1か月前
個人
ペルソナ認証方式
23日前
個人
地球保全システム
1か月前
個人
自動調理装置
25日前
個人
情報処理装置
18日前
個人
農作物用途分配システム
1か月前
個人
表変換編集支援システム
2か月前
個人
残土処理システム
1か月前
個人
インターネットの利用構造
22日前
個人
サービス情報提供システム
10日前
個人
知的財産出願支援システム
1か月前
個人
タッチパネル操作指代替具
1か月前
個人
スケジュール調整プログラム
1か月前
個人
携帯端末障害問合せシステム
1か月前
個人
パスワード管理支援システム
2か月前
個人
AIキャラクター制御システム
2か月前
個人
食品レシピ生成システム
1か月前
株式会社キーエンス
受発注システム
1か月前
株式会社キーエンス
受発注システム
1か月前
個人
海外支援型農作物活用システム
2か月前
株式会社キーエンス
受発注システム
1か月前
個人
エリアガイドナビAIシステム
23日前
個人
システム及びプログラム
2か月前
個人
音声・通知・再配達UX制御構造
1か月前
個人
人格進化型対話応答制御システム
2か月前
続きを見る
他の特許を見る