TOP
|
特許
|
意匠
|
商標
特許ウォッチ
Twitter
他の特許を見る
公開番号
2025171907
公報種別
公開特許公報(A)
公開日
2025-11-20
出願番号
2024158620
出願日
2024-09-12
発明の名称
プロジェクト管理システム、プロジェクト管理方法及びプログラム
出願人
ロジピース ピーティーイー エルティーディー
,
Logipeace Pte. Ltd.
代理人
個人
主分類
G06Q
10/06 20230101AFI20251113BHJP(計算;計数)
要約
【課題】 本発明は、プロジェクト管理のための負担を低減しつつ、適切に進捗管理を行うことが可能なプロジェクト管理システム等を提供することを目的とする。
【解決手段】 複数の者が関わるプロジェクトを管理するプロジェクト管理システムであって、利用者のアカウント情報を記憶するアカウント記憶部と、プロジェクトを表示するプロジェクトエリア、及び、チャットグループにおけるメッセージを表示するチャットエリアを表示させる表示制御部と、プロジェクトを選択するプロジェクト選択部と、複数の利用者の間でメッセージを送信するメッセージ送信部と、チャットエリアに表示されたメッセージを選択するメッセージ選択部と、選択されたプロジェクトと選択されたメッセージとを関連付けて記憶するメッセージ記憶部とを備える、プロジェクト管理システム。
【選択図】図1
特許請求の範囲
【請求項1】
複数の利用者である第1利用者及び第2利用者が関わるプロジェクトを管理するプロジェクト管理システムであって、
前記第1利用者及び前記第2利用者のアカウント情報を記憶するアカウント記憶部と、
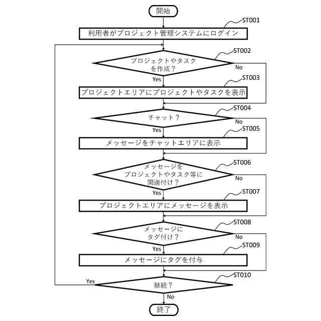
前記利用者に対して、前記利用者が参加しているプロジェクトを表示するプロジェクトエリア、及び、前記利用者が参加しているチャットグループにおけるメッセージを表示するチャットエリアを表示させる表示制御部と、
前記第1利用者及び前記第2利用者が参加しているプロジェクトを選択するプロジェクト選択部と、
前記第1利用者及び前記第2利用者の間でメッセージを送信するメッセージ送信部と、
前記チャットエリアに表示されたメッセージを選択するメッセージ選択部と、
選択されたプロジェクトと選択されたメッセージとを関連付けて記憶するメッセージ記憶部とを備える、プロジェクト管理システム。
続きを表示(約 1,300 文字)
【請求項2】
前記表示制御部は、前記メッセージ記憶部に記憶されたメッセージを、関連付けられたプロジェクトのプロジェクトエリアに表示させる、請求項1記載のプロジェクト管理システム。
【請求項3】
前記メッセージへの対応がどれほど進んでいるかを示す進捗度合を選択する進捗選択部をさらに備え、
前記メッセージ記憶部は、前記選択されたメッセージを前記進捗度合とも関連付けて記憶するものであり、
前記表示制御部は、前記メッセージ記憶部に記憶されたメッセージを、関連付けられた進捗度合とも関連付けて前記プロジェクトエリアに表示させる、請求項2記載のプロジェクト管理システム。
【請求項4】
前記進捗度合をバーチャートでも表示するバーチャート表示部をさらに備える、請求項3記載のプロジェクト管理システム。
【請求項5】
前記メッセージへの対応の難易度を表示する難易度表示部をさらに備える、請求項3記載のプロジェクト管理システム。
【請求項6】
メッセージに付加するタグを記憶するタグ記憶部と、
メッセージに前記タグを付与するタグ付与部とをさらに備え、
前記表示制御部は、選択されたメッセージについて前記タグ記憶部が有する前記タグの選択肢を前記利用者に表示させる、請求項1記載のプロジェクト管理システム。
【請求項7】
メッセージの内容に基づいてタグを自動的に付与するタグ自動付与部をさらに備え、
前記表示制御部は、前記利用者が付与したタグと、前記タグ自動付与部が付与したタグとを区別して表示させる、請求項6記載のプロジェクト管理システム。
【請求項8】
付与された前記タグに基づいてメッセージを検索する検索部をさらに備え、
前記検索部は、複数の前記プロジェクトとは無関係に前記タグを検索し、
前記表示制御部は、検索対象とされた前記タグが付与されたメッセージを前記検索部による検索結果として表示させる、請求項6記載のプロジェクト管理システム。
【請求項9】
前記メッセージ記憶部は、メッセージを付与された前記タグとも関連付けて記憶するものであり、
前記表示制御部は、前記プロジェクトエリアに又は前記チャットエリアとは異なるタグ付メッセージエリアに、同じ前記タグが付与されたメッセージを関連付けて表示させる、請求項6記載のプロジェクト管理システム。
【請求項10】
前記利用者に対してチェックリストを表示するチェックリスト表示部と、
前記チェックリストを用いたチェックが完了して提出された旨を前記利用者が参加している前記チャットグループに表示する提出完了表示部と、
前記利用者の1人である承認者に対して承認ボタンを表示する承認ボタン表示部と、
前記承認者による承認が下りた旨を前記チャットグループに表示する承認表示部とをさらに備える、請求項1記載のプロジェクト管理システム。
(【請求項11】以降は省略されています)
発明の詳細な説明
【技術分野】
【0001】
本発明は、プロジェクト管理システム、プロジェクト管理方法及びプログラムに関し、特に、複数の者が関わるプロジェクトを管理するプロジェクト管理システム等に関するものである。
続きを表示(約 1,400 文字)
【背景技術】
【0002】
従来、複数の利用者がチームとしてプロジェクトを進める際に、プロジェクトの進捗管理を行うシステムが知られている。このようなプロジェクト管理システムにより、プロジェクトマネージャーが現状を的確に把握することが容易となる。
【0003】
例えば、特定の作業が予定とは異なるスピードで進捗があった場合に、その理由を日報等から取得することにより、プロジェクト管理の精度の向上を図るプロジェクト管理システムが知られている(特許文献1)。
【先行技術文献】
【特許文献】
【0004】
特開2022-145407号公報
【発明の概要】
【発明が解決しようとする課題】
【0005】
しかしながら、プロジェクト管理システムが適切に機能するためには、定められたフォーマットに則って必要な情報を入力する必要があった。特許文献1に記載のプロジェクト管理システムにおいても、システムに特有のテーブルを作成するために、必要な数字や情報を日報等から取得して入力する必要があった。このため、プロジェクト管理のために相応の手間暇をかけることが必要であった。
【0006】
他方、プロジェクトマネージャーは、常に様々な課題を抱えており、プロジェクトが滞りなく進むためにも、プロジェクト管理のための事務作業負担を減らすことは必要であった。
【0007】
そこで、本発明は、プロジェクトマネージャーのプロジェクト管理のための負担を従来より低減しつつ、適切に進捗管理を行うことが可能なプロジェクト管理システム等を提供することを目的とする。
【課題を解決するための手段】
【0008】
本発明の第1の観点は、複数の利用者である第1利用者及び第2利用者が関わるプロジェクトを管理するプロジェクト管理システムであって、前記第1利用者及び前記第2利用者のアカウント情報を記憶するアカウント記憶部と、前記利用者に対して、前記利用者が参加しているプロジェクトを表示するプロジェクトエリア、及び、前記利用者が参加しているチャットグループにおけるメッセージを表示するチャットエリアを表示させる表示制御部と、前記第1利用者及び前記第2利用者が参加しているプロジェクトを選択するプロジェクト選択部と、前記第1利用者及び前記第2利用者の間でメッセージを送信するメッセージ送信部と、前記チャットエリアに表示されたメッセージを選択するメッセージ選択部と、選択されたプロジェクトと選択されたメッセージとを関連付けて記憶するメッセージ記憶部とを備える、プロジェクト管理システムである。
【0009】
本発明の第2の観点は、第1の観点のプロジェクト管理システムであって、前記表示制御部は、前記メッセージ記憶部に記憶されたメッセージを、関連付けられたプロジェクトのプロジェクトエリアに表示させる。
【0010】
本発明の第3の観点は、第2の観点のプロジェクト管理システムであって、前記メッセージへの対応がどれほど進んでいるかを示す進捗度合を選択する進捗選択部をさらに備え、前記メッセージ記憶部は、前記選択されたメッセージを前記進捗度合とも関連付けて記憶するものであり、前記表示制御部は、前記メッセージ記憶部に記憶されたメッセージを、関連付けられた進捗度合とも関連付けて前記プロジェクトエリアに表示させる。
(【0011】以降は省略されています)
この特許をJ-PlatPat(特許庁公式サイト)で参照する
関連特許
個人
詐欺保険
1か月前
個人
縁伊達ポイン
1か月前
個人
職業自動販売機
8日前
個人
RFタグシート
26日前
個人
5掛けポイント
15日前
個人
ペルソナ認証方式
23日前
個人
QRコードの彩色
1か月前
個人
地球保全システム
1か月前
個人
自動調理装置
25日前
個人
情報処理装置
18日前
個人
残土処理システム
1か月前
個人
農作物用途分配システム
1か月前
個人
タッチパネル操作指代替具
1か月前
個人
知的財産出願支援システム
1か月前
個人
インターネットの利用構造
22日前
個人
サービス情報提供システム
10日前
個人
携帯端末障害問合せシステム
1か月前
個人
スケジュール調整プログラム
1か月前
株式会社キーエンス
受発注システム
1か月前
株式会社キーエンス
受発注システム
1か月前
個人
海外支援型農作物活用システム
2か月前
個人
食品レシピ生成システム
1か月前
株式会社キーエンス
受発注システム
1か月前
個人
エリアガイドナビAIシステム
23日前
エッグス株式会社
情報処理装置
1か月前
株式会社ワコム
電子ペン
17日前
キヤノン株式会社
情報処理装置
2日前
トヨタ自動車株式会社
通知装置
29日前
個人
帳票自動生成型SaaSシステム
1か月前
キヤノン株式会社
画像認識装置
2日前
キヤノン株式会社
情報処理装置
16日前
キヤノン株式会社
情報処理装置
2日前
個人
音声・通知・再配達UX制御構造
1か月前
株式会社ワコム
電子ペン
17日前
大同特殊鋼株式会社
疵判定方法
1か月前
キヤノン株式会社
表示システム
1か月前
続きを見る
他の特許を見る