TOP
|
特許
|
意匠
|
商標
特許ウォッチ
Twitter
他の特許を見る
10個以上の画像は省略されています。
公開番号
2025171892
公報種別
公開特許公報(A)
公開日
2025-11-20
出願番号
2024106691
出願日
2024-07-02
発明の名称
エネルギー貯蔵システム
出願人
光寶科技股フン有限公司
代理人
弁理士法人 HARAKENZO WORLD PATENT & TRADEMARK
主分類
H01M
10/617 20140101AFI20251113BHJP(基本的電気素子)
要約
【課題】電池パック全体が比較的良好な放熱効果を有してエネルギー消費を低減させるエネルギー貯蔵システムを提供する。
【解決手段】ハウジング110及びハウジングの内部に位置する複数の電池ユニットを含む電池モジュールと、温度差調整構造130と、を有するエネルギー貯蔵システムであって、温度差調整構造は、電池モジュール上に設けられ、第1プレート131と、第2プレート132と、を含む。第1プレートは、複数の放熱孔を含む。第2プレートは、第1側面132aと、第1側面と対向する第2側面132bと、を含み、第1側面は、第1プレートに接続されており、第2側面は、第1側面に対して電池モジュールにより近い。
【選択図】図2B
特許請求の範囲
【請求項1】
電池モジュールと、
前記電池モジュール上に設けられる温度差調整構造であって、
第1プレートと、
第2プレートであって、
第1側面と、前記第1側面と対向する第2側面と、を含み、
前記第1側面は、前記第1プレートに接続されており、
前記第2側面は、前記第1側面に対して前記電池モジュールにより近い、第2プレートと、
を備える、温度差調整構造と、
を備える、エネルギー貯蔵システム。
続きを表示(約 1,200 文字)
【請求項2】
前記温度差調整構造は、放熱孔を備える、請求項1に記載のエネルギー貯蔵システム。
【請求項3】
請求項1に記載のエネルギー貯蔵システムであって、
前記第1プレートと前記電池モジュールとの間に間隔が形成されている、エネルギー貯蔵システム。
【請求項4】
請求項1に記載のエネルギー貯蔵システムであって、
前記温度差調整構造は、
前記第1プレートに接続されており、かつ、前記第1プレートと前記電池モジュールとの間に配置されている支持部材をさらに備える、エネルギー貯蔵システム。
【請求項5】
請求項4に記載のエネルギー貯蔵システムであって、
前記支持部材の高さは、前記第2プレートの前記第1側面の、前記第2側面に対する高さ以上である、エネルギー貯蔵システム。
【請求項6】
請求項1に記載のエネルギー貯蔵システムであって、
前記第1プレートと前記第2プレートとの間に夾角が形成されており、
前記夾角は、90度以上、かつ、180度未満である、エネルギー貯蔵システム。
【請求項7】
請求項1に記載のエネルギー貯蔵システムであって、
前記温度差調整構造は、第3プレートをさらに含み、
前記第3プレートは、前記第2側面に接続されており、
前記第3プレートは、前記電池モジュールに取り付けられている、エネルギー貯蔵システム。
【請求項8】
請求項1に記載のエネルギー貯蔵システムであって、
前記エネルギー貯蔵システムは、第1ファンと、第2ファンと、をさらに含み、
前記電池モジュールは、前記第1ファンと前記第2ファンとの間に位置するハウジングを備え、
前記第1プレートおよび前記第2プレートは、前記ハウジングの上面に配置されており、
前記第2プレートは、前記第1側面から前記上面に向かって延びる、エネルギー貯蔵システム。
【請求項9】
請求項1に記載のエネルギー貯蔵システムであって、
前記第2プレートは、平坦面、曲面、またはフローガイド構造を有する、エネルギー貯蔵システム。
【請求項10】
請求項1に記載のエネルギー貯蔵システムであって、
前記エネルギー貯蔵システムは、ヒートシンクをさらに備え、
前記電池モジュールは、第1電池ユニットと、第2電池ユニットと、を有し、
前記電池モジュール上への、前記第1プレートの垂直方向の投影は、前記第1電池ユニットと重なり、
前記電池モジュール上への、前記ヒートシンクの垂直方向の投影は、前記第2電池ユニットと重なる、エネルギー貯蔵システム。
(【請求項11】以降は省略されています)
発明の詳細な説明
【発明の詳細な説明】
【0001】
〔発明の背景〕
<発明の分野>
本発明は、一般にエネルギー貯蔵システムに関する。
続きを表示(約 1,300 文字)
【0002】
<関連技術の説明>
エネルギー貯蔵システムおよび自動車に現在使用される電池モジュールは、充電および放電用の単一のリチウム電池を具備するのではなく、複数のリチウム電池を直列に有する。しかしながら、直列構造を使用する場合、電池モジュールの温度は、不均一であることがある。長時間、リチウム電池間の温度差が大きすぎる場合、電池の寿命に影響する。
【0003】
関連技術:日本国特許6753854号公報、日本国特表2019-530191号公報、中国115528346A。
【0004】
「電池パック、電池キャビネット、およびエネルギー貯蔵システム」と題された中国特許第115528346Aは、電池モジュールとシェルとを備える電池パックを開示している。電池モジュールは、並べて配置される複数の電池を備える。収容キャビティは、シェルに形成され、電池モジュールは、収容キャビティ内に配置され、複数の空気入口領域は、シェルに形成され、各空気入口領域は、少なくとも1つの空気入口を備え、複数の空気入口領域は、第1方向に間隔をおいて配分される。空気入口領域の少なくとも一部の空気口面積は、電池モジュールの長さ方向の一端から他端に向かって徐々に減少され、少なくとも1つの空気出口は、シェルにさらに形成され、空気出口は、電池モジュールの長さ方向の前記他端に近い。電池キャビネットは、キャビネット本体と、複数の電池パックと、を備え、複数の電池パックは、キャビネット本体内に配置される。エネルギー貯蔵システムは、少なくとも1つの電池キャビネットを備える。この開示によれば、電池パック全体が比較的良好な放熱効果を有し、エネルギー消費が低減される。
【0005】
〔発明の概要〕
本発明は、エネルギー貯蔵システムに関する。エネルギー貯蔵システムは、電池モジュールの異なる区域の温度差を調整する温度差調整構造を含む。
【0006】
本発明の一態様によれば、電池モジュールと、温度差調整構造と、を含むエネルギー貯蔵システムが提供される。前記温度差調整構造は、前記電池モジュール上に設けられ、前記温度差調整構造は、第1プレートと、第2プレートと、を含む。前記第2プレートは、第1側面と、前記第1側面と対向する第2側面と、を含む。前記第1側面は、前記第1プレートに接続され、前記第2側面は、前記第1側面に対して前記電池モジュールにより近い。
【0007】
本発明の上記態様および他の態様は、好ましいが限定するものではない(1つまたは複数の)実施形態の次の詳細な説明に関して、より良く理解されるであろう。次の説明は、添付の図面を参照して行われる。
【0008】
〔図面の簡単な説明〕
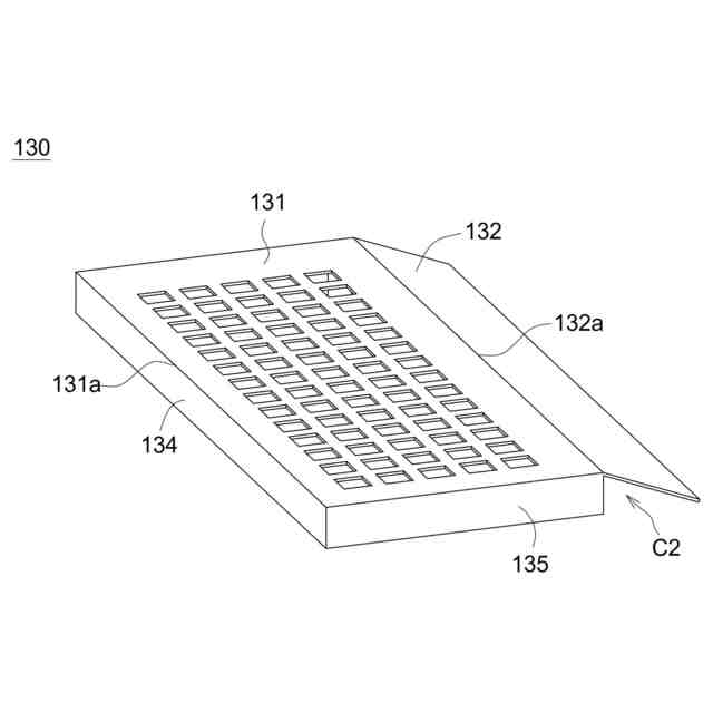
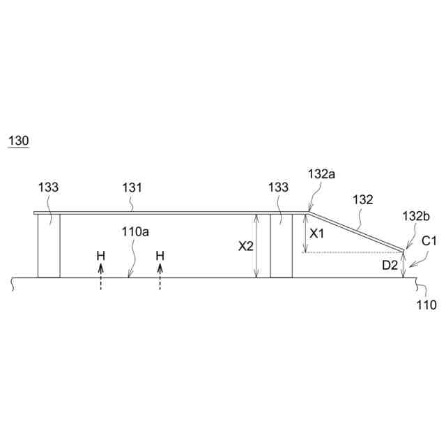
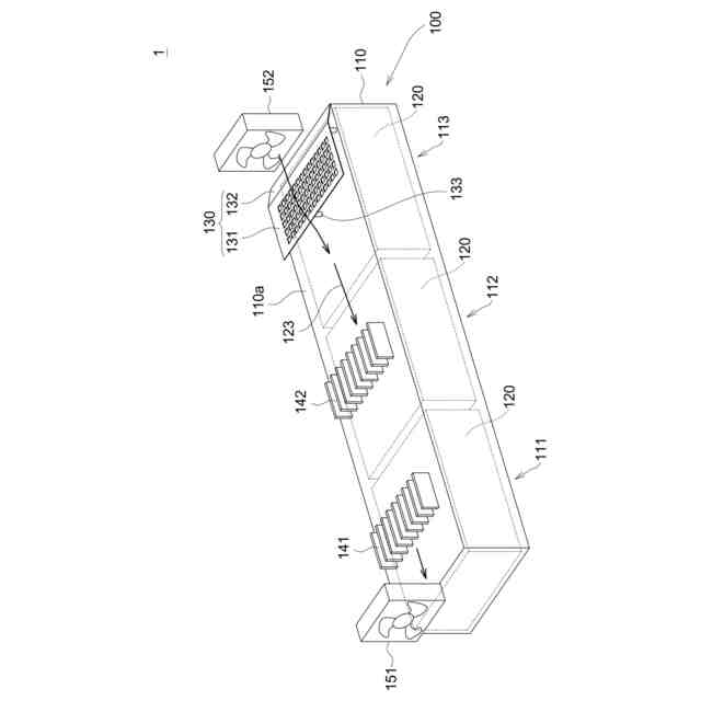
図1は、本発明の一実施形態に係るエネルギー貯蔵システムの概略図である。
【0009】
図2A~2Eは、本発明の一実施形態に係る温度差調整構造の概略図である。
【0010】
図3A~3Dは、本発明の異なる実施形態に係る温度差調整構造の概略図をそれぞれ示す。
(【0011】以降は省略されています)
この特許をJ-PlatPat(特許庁公式サイト)で参照する
関連特許
東ソー株式会社
絶縁電線
1か月前
APB株式会社
蓄電セル
29日前
個人
フレキシブル電気化学素子
1か月前
株式会社東芝
端子台
23日前
株式会社ユーシン
操作装置
1か月前
ローム株式会社
半導体装置
1か月前
マクセル株式会社
電源装置
23日前
日新イオン機器株式会社
イオン源
1か月前
株式会社GSユアサ
蓄電装置
24日前
株式会社GSユアサ
蓄電装置
16日前
株式会社GSユアサ
蓄電装置
2日前
太陽誘電株式会社
コイル部品
1か月前
株式会社ホロン
冷陰極電子源
1か月前
三菱電機株式会社
回路遮断器
10日前
富士電機株式会社
電磁接触器
2日前
株式会社GSユアサ
蓄電装置
24日前
株式会社GSユアサ
蓄電設備
1か月前
株式会社GSユアサ
蓄電設備
1か月前
北道電設株式会社
配電具カバー
29日前
トヨタ自動車株式会社
蓄電装置
1か月前
トヨタ自動車株式会社
蓄電装置
24日前
日新イオン機器株式会社
基板処理装置
26日前
トヨタ自動車株式会社
冷却構造
1か月前
トヨタ自動車株式会社
バッテリ
29日前
サクサ株式会社
電池の固定構造
1か月前
日本特殊陶業株式会社
保持装置
15日前
日本特殊陶業株式会社
保持装置
1か月前
ノリタケ株式会社
熱伝導シート
1か月前
ベストテック株式会社
装置支持具
1か月前
矢崎総業株式会社
コネクタ
2日前
甲神電機株式会社
変流器及び零相変流器
17日前
トヨタ自動車株式会社
密閉型電池
25日前
日本無線株式会社
レーダアンテナ
17日前
株式会社トクヤマ
シリコンエッチング液
1か月前
ローム株式会社
半導体モジュール
3日前
株式会社トクヤマ
シリコンエッチング液
1か月前
続きを見る
他の特許を見る