TOP
|
特許
|
意匠
|
商標
特許ウォッチ
Twitter
他の特許を見る
公開番号
2025171824
公報種別
公開特許公報(A)
公開日
2025-11-20
出願番号
2024077526
出願日
2024-05-10
発明の名称
検知装置及び照明システム
出願人
パナソニックIPマネジメント株式会社
代理人
個人
,
個人
,
個人
主分類
H05B
47/13 20200101AFI20251113BHJP(他に分類されない電気技術)
要約
【課題】検知信号をより確実に機器に伝送することができる検知装置等を提供する。
【解決手段】検知装置20は、人の移動を検知する人検知部24と、人検知部24が人の移動を検知したことを示す検知信号を送信する通信部21と、人検知部24が検知した人の移動の大きさが所定の大きさよりも小さいものであると判定した場合に、通信部21による検知信号の送信の遅延又は間引きをする制御部22とを備える。
【選択図】図1
特許請求の範囲
【請求項1】
人の移動を検知する人検知部と、
前記人検知部が人の移動を検知したことを示す検知信号を送信する通信部と、
前記人検知部が検知した人の移動の大きさが所定の大きさよりも小さいものであると判定した場合に、前記通信部による前記検知信号の送信の遅延又は間引きをする制御部とを備える、
検知装置。
続きを表示(約 790 文字)
【請求項2】
前記人検知部は、前記人の身体から発せられる赤外線を検知し、
前記制御部は、前記人検知部が検知した赤外線の強度の変動幅が閾値より大きい場合に、検知した人の移動の大きさが前記所定の大きさよりも小さいものであると判定する、
請求項1に記載の検知装置。
【請求項3】
さらに、周囲の明るさを検知する明るさ検知部を備え、
前記制御部は、前記明るさ検知部が検知した明るさに基づいて、前記通信部による前記検知信号の送信の遅延又は間引きをする、
請求項1に記載の検知装置。
【請求項4】
前記制御部は、前記人検知部が検知した人の移動の大きさが前記所定の大きさ以上であり、前記明るさ検知部が検知した明るさが明るさ閾値以上であると判定した場合に、前記通信部による前記検知信号の送信の遅延または間引きをする、
請求項3に記載の検知装置。
【請求項5】
前記制御部は、前記検知装置が検知対象とする空間の属性に基づいて、前記通信部による前記検知信号の送信の遅延又は間引きの程度を調整する、
請求項1に記載の検知装置。
【請求項6】
前記通信部が送信した前記検知信号に基づいて照明器具の調光状態が制御される、
請求項1に記載の検知装置。
【請求項7】
前記検知装置が検知対象とする空間が室内空間の出入り口の近傍の空間である場合に、
前記通信部は、前記室内空間に設置される複数の照明器具に対して、前記検知信号を送信する、
請求項6に記載の検知装置。
【請求項8】
請求項1~7のいずれか1項に記載の検知装置と、
前記検知装置によって送信される前記検知信号に基づいて制御される照明器具とを備える、
照明システム。
発明の詳細な説明
【技術分野】
【0001】
本開示は、検知装置及び照明システムに関する。
続きを表示(約 1,300 文字)
【背景技術】
【0002】
センサが人を検知した際に照明器具と無線通信を行うことによって、人が存在するときにだけ発光制御される照明器具が開示されている(例えば、特許文献1を参照)。
【先行技術文献】
【特許文献】
【0003】
特開2023-067956号公報
【発明の概要】
【発明が解決しようとする課題】
【0004】
しかし、特許文献1が開示する技術では、例えば、室内空間に複数のセンサが設けられている場合、人の移動を検知するたびに検知信号が送信されるため、検知信号の送信回数が増大する。このような状況では、検知信号を送信する通信が輻輳することによって、センサが人を検知したにも関わらず、検知信号が目的の機器に伝送されない場合があるという問題がある。
【0005】
そこで、本発明は、検知信号をより確実に機器に伝送する検知装置及び照明システムを提供することを目的とする。
【課題を解決するための手段】
【0006】
本開示に係る検知装置の一態様は、人の移動を検知する人検知部と、前記人検知部が人の移動を検知したことを示す検知信号を送信する通信部と、前記人検知部が検知した人の移動の大きさが所定の大きさよりも小さいものであると判定した場合に、前記通信部による前記検知信号の送信の遅延又は間引きをする制御部とを備える。
【0007】
また、本開示に係る照明システムの一態様は、上記検知装置と、前記検知装置によって送信される前記検知信号に基づいて制御される照明器具とを備える。
【発明の効果】
【0008】
本開示に係る検知装置及び照明システムは、検知信号をより確実に機器に伝送することができる。
【図面の簡単な説明】
【0009】
図1は、実施の形態に係る照明システムの機能構成を示すブロック図である。
図2は、実施の形態に係る照明システムにおける検知装置及び照明器具の配置の一例を示す図である。
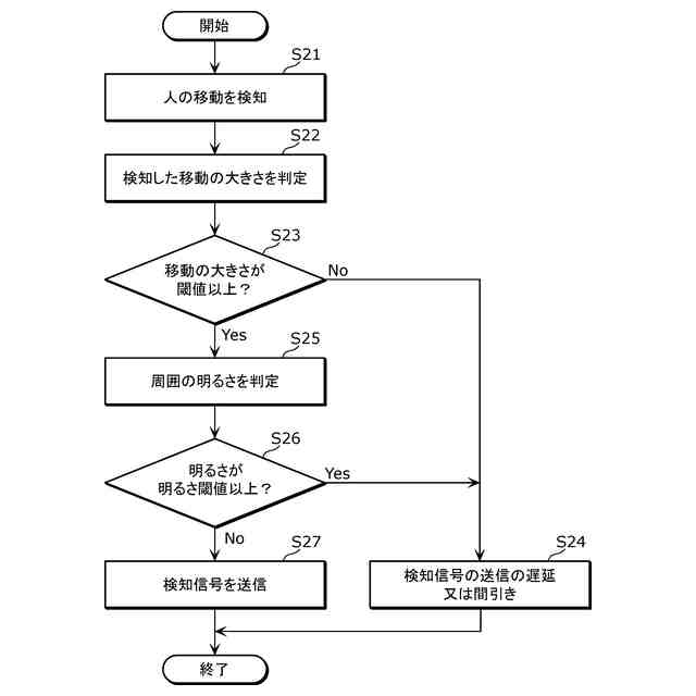
図3は、実施の形態に係る検知装置の動作を示すフローチャートである。
図4は、実施の形態に係る検知装置の動作の様子を説明する図である。
図5は、実施の形態に係る検知装置の変形例1の動作を示すフローチャートである。
図6は、実施の形態に係る検知装置の変形例1の動作の様子を説明する図である。
【発明を実施するための形態】
【0010】
以下、本発明に係る検知装置及び照明システムの実施の形態について、図面を用いて詳細に説明する。なお、以下で説明する実施の形態は、いずれも本発明の好ましい一具体例を示すものである。以下の実施の形態で示される数値、構成要素、構成要素の配置位置及び接続形態、ステップ、ステップの順序等は、一例であり、本発明を限定する主旨ではない。また、以下の実施の形態における構成要素のうち、独立請求項に記載されていない構成要素については、好ましい形態を構成する任意の構成要素として説明される。
(【0011】以降は省略されています)
この特許をJ-PlatPat(特許庁公式サイト)で参照する
関連特許
個人
電子部品の実装方法
1か月前
愛知電機株式会社
装柱金具
1か月前
日本精機株式会社
回路基板
2か月前
個人
非衝突型ガウス加速器
3か月前
個人
電気式バーナー
1か月前
日星電気株式会社
面状ヒータ
10日前
個人
節電材料
3か月前
日本放送協会
基板固定装置
2か月前
アイホン株式会社
電気機器
2か月前
キヤノン株式会社
電子機器
2か月前
イビデン株式会社
配線基板
1か月前
アイホン株式会社
電気機器
3か月前
メクテック株式会社
配線基板
3か月前
マクセル株式会社
配列用マスク
4か月前
東レ株式会社
霧化状活性液体供給装置
2か月前
個人
静電気中和除去装置
25日前
株式会社デンソー
電子装置
1か月前
株式会社デンソー
電子装置
18日前
FDK株式会社
基板
1か月前
イビデン株式会社
配線基板
3か月前
サクサ株式会社
開き角度規制構造
1か月前
イビデン株式会社
プリント配線板
3か月前
サクサ株式会社
筐体の壁掛け構造
2か月前
イビデン株式会社
プリント配線板
2か月前
株式会社レクザム
剥離装置
1か月前
イビデン株式会社
配線基板
2か月前
シャープ株式会社
加熱機器
1か月前
日産自動車株式会社
電子部品
2か月前
富士フイルム株式会社
積層体
1か月前
オムロン株式会社
端子折り曲げ治具
1か月前
カシン工業株式会社
PTC発熱装置
3か月前
新電元工業株式会社
電子装置
2か月前
株式会社レゾナック
冷却装置
1か月前
日産自動車株式会社
電子機器
4日前
日産自動車株式会社
電子機器
4か月前
富士電子工業株式会社
誘導加熱コイル
1か月前
続きを見る
他の特許を見る