TOP
|
特許
|
意匠
|
商標
特許ウォッチ
Twitter
他の特許を見る
公開番号
2025171705
公報種別
公開特許公報(A)
公開日
2025-11-20
出願番号
2024077321
出願日
2024-05-10
発明の名称
破砕機構付汚泥ポンプ
出願人
古河産機システムズ株式会社
代理人
個人
,
個人
,
個人
主分類
F04D
7/04 20060101AFI20251113BHJP(液体用容積形機械;液体または圧縮性流体用ポンプ)
要約
【課題】し渣等の物理的通過性をより向上させ得る破砕機構付汚泥ポンプを提供する。
【解決手段】破砕機構付汚泥ポンプ10は、シャフト3の先端側に設けられた無閉塞型螺旋状の主羽根34を有する吸込スクリュ4と、吸込スクリュ4よりもシャフト3の前方側に設けられて破砕インペラ6を有する破砕機構2と、を備える。破砕機構2は、シャフト3の前方側に付設された破砕ケーシング5を含むサクションカバー組5に内蔵されてシャフト3先端に同軸に設けられている。
【選択図】図1
特許請求の範囲
【請求項1】
シャフト先端側に設けられた吸込スクリュを有するポンプ本体と、前記吸込スクリュよりもシャフト先端側に吸込口に続いて設けられて破砕インペラを有する破砕機構と、を備えることを特徴とする破砕機構付汚泥ポンプ。
続きを表示(約 580 文字)
【請求項2】
前記ポンプ本体の流路寸法は、φB<(φC-φD)/2、且つ、φC×40%>φDの関係を満足する請求項1に記載の破砕機構付汚泥ポンプ。
但し、ΦBは、前記破砕機構の吐出部に設けられたカッタ格子の実質最大通過内径寸法、ΦCは、前記ポンプ本体の実質吸込口径、ΦDは、前記吸込スクリュ先端のボス外径寸法である。
【請求項3】
前記破砕機構は、前記シャフトの先端側に付設された破砕ケーシングを含むサクションカバー組に内蔵されて着脱可能な別体として前記シャフトの先端に同軸に設けられている請求項1に記載の破砕機構付汚泥ポンプ。
【請求項4】
前記破砕ケーシングの下部に、前記サクションカバー組を支持する支持脚を有する請求項3に記載の破砕機構付汚泥ポンプ。
【請求項5】
前記支持脚は、前記破砕ケーシングの下部に、前記サクションカバー組を単体で地上に自立可能に設けられている請求項4に記載の破砕機構付汚泥ポンプ。
【請求項6】
前記支持脚の下部を固定する固定ベースを有し、該固定ベースの上部と前記支持脚との間に、前記支持脚の下部を支持しつつ前記シャフトの軸方向に前記サクションカバー組をスライド移動可能に案内するスライド機構を有する請求項4に記載の破砕機構付汚泥ポンプ。
発明の詳細な説明
【技術分野】
【0001】
本発明は、移送流体中に含まれる夾雑物を破砕しつつ移送する破砕機構付汚泥ポンプに関する。
続きを表示(約 1,800 文字)
【背景技術】
【0002】
下水処理工程において、特に、初沈(最初沈殿池)には、大小様々なし渣が夾雑物として混入してくる。夾雑物による汚泥ポンプの羽根車への影響により、閉塞による揚水不能や軸封部(メカニカルシール)の焼き付きなどが発生するため、汚泥ポンプでの最大通過粒径は重要な要素である。
そのため、下水汚泥等を送液として移送するポンプの場合、送液中の夾雑物が閉塞しないように、最大通過粒径の大きな吸込スクリュ(羽根車)を有する吸込スクリュ式の汚泥ポンプが使用される(例えば特許文献1参照)。
【0003】
ここで、吸込スクリュ式の汚泥ポンプを採用することで、最大通過粒径を満足していても、し渣等の夾雑物は、球体ではなく紐状に長いものや通過粒径以上の固体(紙おむつや生理用品その他、雨水と混ざった異物等々)が混入してくる。そのため、現実には、し渣等の夾雑物の通過性に問題を抱えている。よって、吸込スクリュ式の汚泥ポンプにおいて、し渣等の夾雑物の物理的通過性をより向上させる技術が求められる。
【0004】
これに対し、特許文献1記載の技術では、捩り羽根の外縁が描く仮想円錐面に沿わせてケーシングを設けるとともに、このケーシングの内面に捩り羽根の外縁に近接させて異物切断用のカッタを設け、捩り羽根の回転に伴って、捩り羽根とケーシング内面との隙間で夾雑物を切断して吸引する。
【先行技術文献】
【特許文献】
【0005】
実開平5-061489号公報(0005-0006)
【発明の概要】
【発明が解決しようとする課題】
【0006】
しかしながら、都市部の人口は多くその下水処理量も多くなるため、より大きな吐出量のポンプが望まれ、吸込スクリュ式の汚泥ポンプの吸込・吐出口径をより大きくする必要がある。
その際、特許文献1記載の技術では、異物切断用のカッタを継続使用することにより切断能力が次第に低下するところ、都市部では下水処理量も多いため、大量のし渣が吸込口から流入し、ケーシング内面に設けられる異物切断用のカッタの摩耗も顕著となり、捩り羽根外縁とのクリアランスが短期間で所期隙間を維持できなくなる。
【0007】
そのため、捩り羽根とケーシング内面との隙間で夾雑物を切断して吸引する破砕機構では、頻繁なメンテナンスを要することになり、し渣等の夾雑物の物理的通過性をより向上させる上で未だ検討の余地がある。
そこで、本発明は、このような問題点に着目してなされたものであって、し渣等の夾雑物の物理的通過性をより向上させ得る破砕機構付汚泥ポンプを提供することを課題とする。
【課題を解決するための手段】
【0008】
上記課題を解決するために、本発明の一態様に係る汚泥ポンプは、シャフト先端側に設けられた吸込スクリュを有するポンプ本体と、前記吸込スクリュよりもシャフト先端側に吸込口に続いて設けられて破砕インペラを有する破砕機構と、を備えることを特徴とする。
【発明の効果】
【0009】
本発明の一態様に係る破砕機構付汚泥ポンプによれば、破砕インペラを有する破砕機構を吸込スクリュの前方に備えるため、し渣等の夾雑物の物理的通過性をより向上させることができる。
【図面の簡単な説明】
【0010】
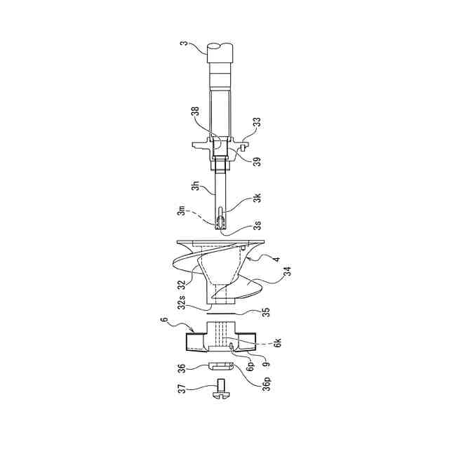
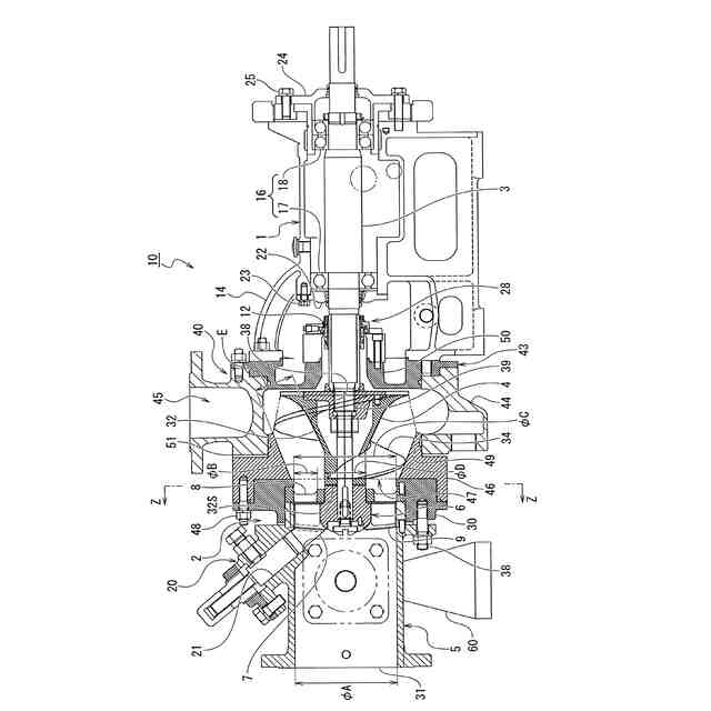
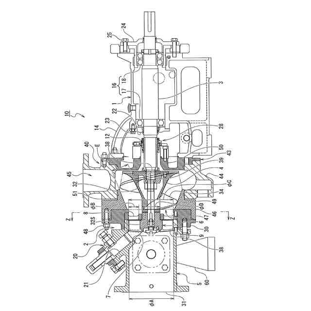
本発明の一態様に係る破砕機構付汚泥ポンプの一実施形態の説明図であり、同図は軸線に沿った断面を示している。
図1に示す破砕機構付汚泥ポンプにおける、サクションカバー組を支持する支持脚の部分の支持構造(スライド機構)を説明する図であり、同図(a)はサクションカバー組が固定位置にて装着されている状態を示し、(b)はメンテナンス位置に離隔されている状態を示している。また、(c)はサクションカバー組およびそれを支持する支持脚部分の正面図である。
図1に示すシャフト先端部の接続構造を説明する要部分解図である。
図1に示すバックケーシングおよびそのホルダ部の接続構造を説明する要部分解図である。
図1のZ-Z断面でのカッタ格子の開口格子形状を説明する端面図である。
【発明を実施するための形態】
(【0011】以降は省略されています)
この特許をJ-PlatPat(特許庁公式サイト)で参照する
関連特許
個人
海流製造装置。
2か月前
株式会社スギノマシン
圧縮機
1か月前
ダイニチ工業株式会社
空調装置
5か月前
株式会社ツインバード
送風装置
2か月前
株式会社ツインバード
送風装置
2か月前
カヤバ株式会社
電動ポンプ
20日前
日機装株式会社
遠心ポンプ
1か月前
カヤバ株式会社
電動ポンプ
3か月前
ビッグボーン株式会社
送風装置
3か月前
株式会社不二越
蓄圧装置
3か月前
株式会社ノーリツ
ロータリ圧縮機
2か月前
株式会社酉島製作所
ポンプ
4か月前
株式会社ノーリツ
ロータリー圧縮機
4か月前
株式会社坂製作所
スクロール圧縮機
4か月前
サンデン株式会社
スクロール圧縮機
1か月前
サンデン株式会社
可変容量型圧縮機
28日前
樫山工業株式会社
真空ポンプ
1か月前
サンデン株式会社
スクロール圧縮機
1か月前
サンデン株式会社
スクロール圧縮機
1か月前
株式会社不二越
ベーンポンプ
4か月前
小倉クラッチ株式会社
ルーツブロア
4か月前
株式会社チロル
送風機、送風機付衣服
3か月前
株式会社島津製作所
真空ポンプ
2か月前
エドワーズ株式会社
真空ポンプ
2か月前
株式会社豊田自動織機
流体機械
2か月前
株式会社島津製作所
真空ポンプ
3か月前
株式会社アイシン
ポンプケース
2か月前
株式会社クボタ
作業機
21日前
株式会社豊田自動織機
電動圧縮機
3か月前
株式会社ナノバブル研究所
気液駆動装置
2か月前
株式会社豊田自動織機
電動圧縮機
3か月前
NTN株式会社
電動オイルポンプ
1か月前
株式会社豊田自動織機
電動圧縮機
4か月前
已久工業股ふん有限公司
空気圧縮機構造
3か月前
株式会社豊田自動織機
電動圧縮機
3か月前
株式会社豊田自動織機
遠心圧縮機
5か月前
続きを見る
他の特許を見る