TOP
|
特許
|
意匠
|
商標
特許ウォッチ
Twitter
他の特許を見る
公開番号
2025171201
公報種別
公開特許公報(A)
公開日
2025-11-20
出願番号
2024076288
出願日
2024-05-09
発明の名称
漁業用フロート及び漁業用フロートの表面付着物の除去方法
出願人
個人
代理人
個人
主分類
A01K
93/00 20060101AFI20251113BHJP(農業;林業;畜産;狩猟;捕獲;漁業)
要約
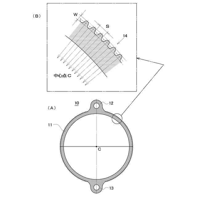
【課題】漁業用フロートに付着したフジツボ等を剥離除去するための作業効率が悪く、漁業用フロートの適正な運用が妨げられる。
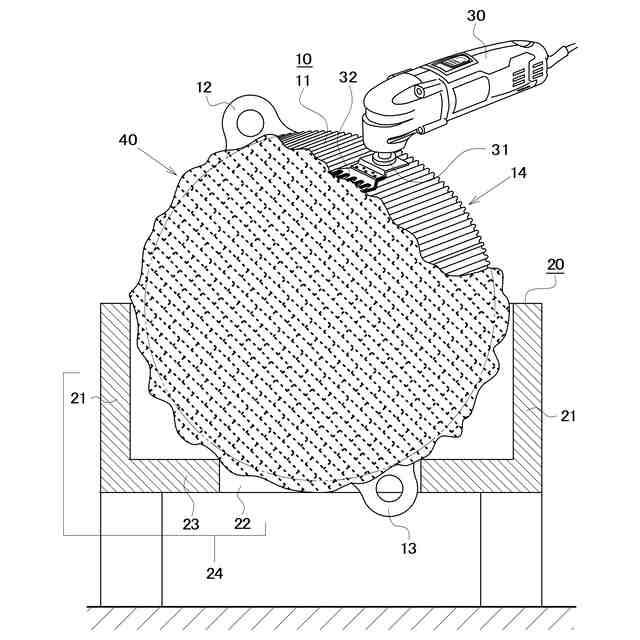
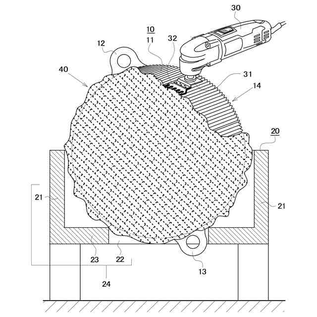
【解決手段】中空球体部と環状耳部からなる漁業用フロート10において、中空球体部11の対蹠点間の表面(耳部の形成領域を除く)を、経線方向に沿って所定の振幅及び周期長で蛇行した形状を緯線方向へ連続周回させた凹凸面14で構成すると、その凹凸面14がフジツボの成長阻害要因となって固着力を脆弱化する。振動駆動ツール30に櫛状刃先を有するブレード32を取り付け、その櫛状刃先を漁業用フロート10の凹凸面14の凹部に嵌合させた状態で周方向へ押圧振動させることにより、漁業用フロート10に付着したフジツボ等の表面付着物40を効率的に剥離除去する。
【選択図】図4
特許請求の範囲
【請求項1】
中空の球体部(中空部分に発泡体を充填したものも含む)とその表面の一部に一体的に形成された環状耳部とからなる漁業用フロートにおいて、
前記球体部における対蹠点間の表面が、前記環状耳部の形成領域を除いて、経線方向に沿って所定の振幅及び周期長で蛇行した形状を緯線方向へ連続周回させて構成される凹凸面として形成されていることを特徴とする漁業用フロート。
続きを表示(約 1,200 文字)
【請求項2】
前記凹凸面に係る蛇行した形状が、振幅を5mmから10mmまでの範囲、周期長を10mmから20mmまでの範囲で選択したものである請求項1に記載の漁業用フロート。
【請求項3】
略長球状の回転体であって、その長軸に沿って貫通孔が形成された基本形態をなし、その肉厚部が中空(発泡体を充填した場合も含む)に構成されている漁業用フロートにおいて、
前記回転体における外周の回転面領域が、経線方向に沿って所定の振幅及び周期長で蛇行した形状を緯線方向へ連続周回させて構成される凹凸面として形成されていることを特徴とする漁業用フロート。
【請求項4】
前記凹凸面に係る蛇行した形状が、振幅を5mmから10mmまでの範囲、周期長を10mmから20mmまでの範囲で選択したものである請求項3に記載の漁業用フロート。
【請求項5】
前記請求項1、2、3又は4の漁業用フロートにおける経線方向に沿った複数周期長分の凹凸面に嵌合する櫛状刃先が形成されたブレードを振動駆動ツールのスイング部に装着し、前記漁業用フロートの表面付着物の下側に位置する凹凸面に前記振動駆動ツールの櫛状刃先を嵌合させた状態で、前記ブレードを前記緯線方向へ押圧振動させることを特徴とする漁業用フロートの表面付着物の除去方法。
【請求項6】
前記ブレードの下側面を鑢面として構成した請求項5に記載の漁業用フロートの表面付着物の除去方法。
【請求項7】
略中空円柱状の形態をなし、その肉厚部が中空(発泡体を充填した場合も含む)に構成されている漁業用フロートにおいて、
外周面領域が、母線方向に沿って所定の振幅及び周期長で蛇行した形状を周方向に沿って連続させて構成される凹凸面として形成されており、
両端面の環状領域が、半径方向に沿って所定の振幅及び周期長で蛇行した形状を周方向へ連続させて構成される凹凸面として形成されている
ことを特徴とする漁業用フロート。
【請求項8】
前記凹凸面に係る蛇行した形状が、振幅を5mmから10mmまでの範囲、周期長を10mmから20mmまでの範囲で選択したものである請求項7に記載の漁業用フロート。
【請求項9】
前記請求項7又は8の漁業用フロートの前記母線方向又は前記半径方向に沿った複数周期長分の凹凸面に嵌合する櫛状刃先が形成されたブレードを振動駆動ツールのスイング部に装着し、前記漁業用フロートの外周面領域又は両端面の環状領域の表面付着物の下側に位置する凹凸面に前記振動駆動ツールの櫛状刃先を嵌合させた状態で、前記ブレードを前記各領域における周方向へ押圧振動させることを特徴とする請求項7又は8に記載の漁業用フロートの表面付着物の除去方法。
【請求項10】
前記ブレードの下側面を鑢面として構成した請求項9に記載の漁業用フロートの表面付着物の除去方法。
発明の詳細な説明
【技術分野】
【0001】
本発明は、フジツボに代表される貝類や海藻等が漁業用フロートに付着した場合に、それらの表面付着物をより効率的に除去できるようにする漁業用フロートの構成と表面付着物の除去方法に係る。
続きを表示(約 2,400 文字)
【背景技術】
【0002】
従来から、魚介類の養殖施設(例えば、牡蠣のはえ縄式養殖施設)や定置網等の敷設においては浮力材として多数のフロートが利用されている。
漁業用フロートは球状、ラグビーボール又は円筒状等の形態をなす中空体(発泡体が充填されたものもある)の樹脂製成型品であり、外周面に1個又は複数個の環状耳部が一体的に形成されているものや、中心軸に沿ってロープを挿通するための貫通孔が形成されているものがある。
【0003】
そして、多数のフロートがロープで繋がれた状態で、各フロートの浮力によって漁具や漁網を海中に懸吊させるが、長期に亘る養殖期間や漁網の敷設期間にはフジツボや貝類(牡蠣、ムール貝等)や海藻がフロートの表面に付着して浮力の低下を招き、新たにフロートを追加して対応しなければならないことが少なくない。また、フジツボや貝類はそのエッジ部分が鋭利であり、ロープを傷付けて劣化を早める原因にもなっている。
【0004】
これに対して、下記特許文献1においては、フロートを含む海中設置物の外周面に自然揮発性の有機溶剤で溶解した塩化ビニルペ-ストレジンを塗布して被覆膜を形成し、これを海中に設置して使用し、海中から引き上げて前記被覆膜を剥離することにより海中設置物の外周面に付着したフジツボを除去する方法が提案されている。
また、下記特許文献2には、柔軟性を有する合成樹脂からなる籠状構造体の内部にフロートを相対的回転が可能な態様で収納し、フロートの表面にフジツボ等の貝類や海藻類が付着し難くする提案がなされている。
【0005】
しかしながら、下記特許文献1の発明においては、たとえその方法が実際に有効であるとしても、化学物質による海水汚染に繋がる可能性があり、その用法も考慮すると、昨今では環境上の問題から採用し難いものと言える。
また、下記特許文献2の発明においては、フロートを籠状のカバーで覆うために構成が複雑で重くなり、実用上使い勝手が悪くなることは想像に難くなく、フロートとカバーとの間に果たしてフジツボ等の付着を防止するだけの相対的回転が頻繁に発生し得るのかという問題もある。
【0006】
そのような事情から、実際には、フロートに付着したフジツボ等は直接機械的に剥がす方法に依らざるを得ず、(A)スクレイパーの刃先をフジツボの殻底部分へ差し込む態様で手作業により剥がしてゆく方法や、(B)下記特許文献3-5に示されているように、フロートを軸支回転させる機構とフロートの表面に沿ってブレードを動かすための案内機構を組み合わせることにより、手作業の軽減化又は自動化を図って効率的にフジツボを剥離させる方法が採用されている。なお、前記(B)の方法については、例えば、漁業用フロートが球体状の形態をなしている場合に、その外周面の対蹠点に相当する2箇所に形成されている耳部でフロートを軸支し、フロートを回転させながらフロートの外周面に刃を押し当ててフジツボ等の付着物を除去する機構を備えた装置がある。
【0007】
一方、下記特許文献6には、海苔養殖用浮動リングに関して、浮動リングの表面に、直径3mm以下で、長さ2~10mm円柱状突起物を1~3mmの間隔で配置させると、浮動リングへのフジツボ等の海棲生物の付着を防止することができることが記載されており、また、突起物の間隔が1mmより小さくなると突起物上にフジツボが付着し、逆に3mm以上になると突起物の間に付着してくるという所見が示されている。
【先行技術文献】
【特許文献】
【0008】
特開平5-244854号公報
特開2004-113105号公報
特開2003-018934号公報
特開2004-275160号公報
特開2023-107700号公報
特開2002-045065号公報
【発明の概要】
【発明が解決しようとする課題】
【0009】
ところで、漁業用フロートにおいて、フジツボはその外周面に付着して成長する代表的な生物であるが、カニやエビと同じ甲殻類に属し、次の各参考文献(1)-(4)によると下記のような成長過程を辿るとされている。
[参考文献(1):加戸隆介,“「フジツボ」(前編)”,海生研ニュース,公益財団法人海洋生物研究所,2018年4月,138号,p.7-9]、[参考文献(2):加戸隆介,“「フジツボ」(後編)”,海生研ニュース,公益財団法人海洋生物研究所,2018年7月,139号,p.7-9]、[参考文献(3):室▲崎▼喬之,“ハイドロゲル上におけるフジツボの付着と成長”,日本接着学会誌,一般社団法人日本接着学会,2016年,Vol.52,No.2]、[参考文献(4):加戸隆介,外4名, “陸奥湾におけるミネフジツボの繁殖・幼生分布・付着・初期成長”,日本水産学会誌,公益財団法人日本水産学会,2009年,第75巻,第3号,p.432-442]。
【0010】
付着生活を送る成体期に対して幼生期には遊泳生活を送り、生体から孵出された後、プランクトン等を捕食しながら成長と脱皮を繰り返すノウプリウス幼生(体長は0.2~0.5mm程度)と称される期間(5日程度)を経て、全く姿の異なるキプリス幼生(体長は0.5mm程度)へ変態し、同幼生は遊泳しながら触角を用いて付着基質表面の適否を探索する行動を繰り返し、最終的に着生を決めた付着基質表面に接着タンパク質を分泌して付着し、その後数時間で幼稚体(体長は0.5mm程度)へと変態する。
(【0011】以降は省略されています)
この特許をJ-PlatPat(特許庁公式サイト)で参照する
関連特許
個人
釣り用錘
16日前
個人
噴霧器ノズル
14日前
個人
蜜蜂保護装置
27日前
個人
種子の製造方法
1か月前
個人
可動リップ付きルアー
19日前
株式会社剛樹
釣り竿
12日前
井関農機株式会社
圃場作業機
19日前
個人
ブルーカーボンシステム
19日前
個人
餌付き針の餌取り防止具
22日前
株式会社ナベル
表示システム
22日前
有限会社信英精密
括り罠
6日前
松山株式会社
収穫機
19日前
みのる産業株式会社
除草機
22日前
みのる産業株式会社
除草機
22日前
井関農機株式会社
苗移植機
6日前
松山株式会社
収穫機
19日前
株式会社アテックス
芝草の刈取装置
5日前
松山株式会社
草刈作業機
27日前
個人
自閉式「洗濯バサミ型」虫捕獲器
6日前
株式会社シマノ
釣糸ガイド
19日前
株式会社シマノ
釣糸ガイド
19日前
株式会社クボタ
作業車
14日前
株式会社三生
足括り罠
29日前
株式会社エヌエスシー
鳥害防止装置
6日前
アイミット株式会社
爪とぎ器具
1か月前
株式会社クボタ
作業車両
12日前
アロン化成株式会社
作業台
22日前
アロン化成株式会社
作業台
22日前
アロン化成株式会社
作業台
22日前
株式会社シマノ
釣糸ガイドカバー
19日前
株式会社シマノ
ルアー
1か月前
個人
太陽光熱制御による果樹の高品位安定生産法
27日前
松山株式会社
表示装置及び農作業機
20日前
トーホー工業株式会社
果樹用反射板
19日前
トーホー工業株式会社
果樹用反射板
19日前
学校法人日本大学
栽培システム
21日前
続きを見る
他の特許を見る