TOP
|
特許
|
意匠
|
商標
特許ウォッチ
Twitter
他の特許を見る
公開番号
2025171002
公報種別
公開特許公報(A)
公開日
2025-11-20
出願番号
2024075935
出願日
2024-05-08
発明の名称
制御方法、及び換気システム
出願人
パナソニックIPマネジメント株式会社
代理人
弁理士法人クシブチ国際特許事務所
主分類
F24F
7/007 20060101AFI20251113BHJP(加熱;レンジ;換気)
要約
【課題】本開示は、被換気空間の換気におけるエネルギー消費を低減できる制御方法を提供する。
【解決手段】本開示における制御方法は、被換気空間を換気する複数の換気装置を制御する制御方法であって、被換気空間内の必要換気量を取得する取得ステップと、複数の換気装置各々の最も小さい換気風量である第1風量の総和が必要換気量以上か否かを判定する判定ステップと、判定ステップにより、第1風量の総和が必要換気量以上であると判定された場合、複数の換気装置の少なくとも1つを所定期間中に前記第1風量で運転することで被換気空間内の換気量を必要換気量にする第1換気実行ステップと、を含み、第1換気実行ステップにおいては、複数の換気装置各々の換気風量を第1風量に優先しつつ、第1風量の総和が必要換気量よりも大きい場合、複数の換気装置のうち少なくとも1つの換気装置の運転をオフにする。
【選択図】図3
特許請求の範囲
【請求項1】
被換気空間を換気する複数の換気装置を制御する制御方法であって、
前記被換気空間の空気質を検出する空気質センサの検出値に基づき、前記被換気空間内の必要換気量を取得する取得ステップと、
前記複数の換気装置各々の最も小さい換気風量である第1風量の総和が、前記必要換気量以上か否かを判定する判定ステップと、
前記判定ステップにより、前記第1風量の総和が前記必要換気量以上であると判定された場合、前記複数の換気装置の少なくとも1つを所定期間中に前記第1風量で運転することで前記被換気空間内の換気量を前記必要換気量にする第1換気実行ステップと、を含み、
前記取得ステップ、前記判定ステップ、及び前記第1換気実行ステップを、前記所定期間ごとに繰り返し実行し、
前記第1換気実行ステップにおいては、前記複数の換気装置各々の換気風量を前記第1風量に優先しつつ、前記第1風量の総和が前記必要換気量よりも大きい場合、前記複数の換気装置のうち少なくとも1つの換気装置の運転をオフにする、制御方法。
続きを表示(約 1,700 文字)
【請求項2】
前記判定ステップにより、前記第1風量の総和が前記必要換気量以上ではないと判定された場合、前記複数の換気装置の少なくとも1つを選定し、選定した換気装置を前記第1風量よりも換気風量が大きい第2風量で運転し、それ以外の換気装置の少なくとも1つを前記第1風量で換気させることで前記被換気空間内の換気量を前記必要換気量にする第2換気実行ステップを、含み、
前記取得ステップ、前記判定ステップ、前記第1換気実行ステップ、及び前記第2換気実行ステップを、前記所定期間ごとに繰り返し実行し、
前記第2換気実行ステップにおいては、前記複数の換気装置の中で、前記第2風量が小さい換気装置から順に、前記第2風量で運転する換気装置を選定する、請求項1に記載の制御方法。
【請求項3】
前記第1風量の総和と、前記必要換気量との差分である差分風量を算出する算出ステップを含み、
前記第2換気実行ステップにおいては、
前記第2風量で運転すると選定された換気装置に対して、
前記第2風量によって前記差分風量を確保できるように、前記所定期間における前記第1風量で運転する第1設定期間、及び、前記第2風量で運転する第2設定期間の比率である設定期間比率を決定し、決定した前記設定期間比率に基づいて換気を実行させる、
請求項2に記載の制御方法。
【請求項4】
前記第2換気実行ステップにおいては、
前記第2風量で運転すると選定された換気装置に対して、
前記第1風量から前記第2風量への風量変化量と、前記差分風量と、に基づき、前記設定期間比率を決定する、
請求項3に記載の制御方法。
【請求項5】
前記第2換気実行ステップにおいては、
前記第2風量が最も小さい換気装置では、前記第2風量で前記差分風量を確保できない場合、
前記第2風量が最も小さい換気装置を前記所定期間中に前記第2風量で運転させ、
その次に前記第2風量が小さい換気装置について、前記設定期間比率を決定する、請求項3に記載の制御方法。
【請求項6】
空気質センサの検出値が所定閾値以上である場合、前記複数の換気装置すべてを前記所定期間中に前記第1風量よりも大きい第2風量で運転させる第3換気実行ステップを含む、
請求項1に記載の制御方法。
【請求項7】
前記第1換気実行ステップにおいて、
前記第1風量で運転すると選定された換気装置の中で最も前記第1風量が大きい換気装置を選定し、
選定された換気装置について、前記第1風量で運転する第1設定期間、及び、運転をオフにする第3設定期間の比率である設定期間比率を決定し、決定した前記設定期間比率に基づいて換気を実行させ、
前記第1風量で運転すると選定されていない換気装置は、前記所定期間中の運転をオフにする、請求項1に記載の制御方法。
【請求項8】
被換気空間を換気する複数の換気装置と、前記被換気空間の空気質を検出する空気質センサと、管理装置と、を備え、
前記管理装置は、
前記空気質センサの検出値に基づき、前記被換気空間内の必要換気量を取得する取得ステップと、
前記複数の換気装置各々の最も小さい風量である第1風量の総和が、前記必要換気量以上か否かを判定する判定ステップと、
前記第1風量の総和が前記必要換気量以上であると判定された場合、前記複数の換気装置の少なくとも1つを所定期間中に前記第1風量のみで運転させることで前記被換気空間内の換気量を前記必要換気量にする第1換気実行ステップと、を前記所定期間ごとに繰り返し実行し、
前記第1換気実行ステップにおいて、前記複数の換気装置各々の換気風量を前記第1風量に優先させつつ、前記第1風量の総和が前記必要換気量以上であると判定された場合、前記複数の換気装置のうち少なくとも1つの換気装置の運転をオフにする、
換気システム。
発明の詳細な説明
【技術分野】
【0001】
本開示は、制御方法、及び換気システムに関する。
続きを表示(約 2,000 文字)
【背景技術】
【0002】
特許文献1は、在室人数と1人当たりの必要換気量と、複数の換気装置の風量弱の合計を比較して、該複数の換気装置の風量を設定する技術を開示する。
【先行技術文献】
【特許文献】
【0003】
特開2011-137595号公報
【発明の概要】
【発明が解決しようとする課題】
【0004】
本開示は、被換気空間の換気におけるエネルギー消費を低減できる制御方法、及び換気システムを提供する。
【課題を解決するための手段】
【0005】
本開示における制御方法は、被換気空間を換気する複数の換気装置を制御する制御方法であって、前記被換気空間の空気質を検出する空気質センサの検出値に基づき、前記被換気空間内の必要換気量を取得する取得ステップと、前記複数の換気装置各々の最も小さい換気風量である第1風量の総和が、前記必要換気量以上か否かを判定する判定ステップと、前記判定ステップにより、前記第1風量の総和が前記必要換気量以上であると判定された場合、前記複数の換気装置の少なくとも1つを所定期間中に前記第1風量で運転することで前記被換気空間内の換気量を前記必要換気量にする第1換気実行ステップと、を含み、前記取得ステップ、前記判定ステップ、及び前記第1換気実行ステップを、前記所定期間ごとに繰り返し実行し、前記第1換気実行ステップにおいては、前記複数の換気装置各々の換気風量を前記第1風量に優先しつつ、前記第1風量の総和が前記必要換気量よりも大きい場合、前記複数の換気装置のうち少なくとも1つの換気装置の運転をオフにする。
【0006】
また、本開示における換気システムは、被換気空間を換気する複数の換気装置と、前記被換気空間の空気質を検出する空気質センサと、管理装置と、を備え、前記管理装置は、前記空気質センサの検出値に基づき、前記被換気空間内の必要換気量を取得する取得ステップと、前記複数の換気装置各々の最も小さい風量である第1風量の総和が、前記必要換気量以上か否かを判定する判定ステップと、前記第1風量の総和が前記必要換気量以上であると判定された場合、前記複数の換気装置の少なくとも1つを所定期間中に前記第1風量のみで運転させることで前記被換気空間内の換気量を前記必要換気量にする第1換気実行ステップと、を前記所定期間ごとに繰り返し実行し、前記第1換気実行ステップにおいて、前記複数の換気装置各々の換気風量を前記第1風量に優先させつつ、前記第1風量の総和が前記必要換気量よりも大きいと判定された場合、前記複数の換気装置のうち少なくとも1つの換気装置の運転をオフにする。
【発明の効果】
【0007】
本開示における制御方法、換気システム、及びプログラムは、第1風量の総和が被換気空間の必要換気量より大きい場合、全ての換気装置が運転することがなく、且つ、運転する換気装置については多くの換気装置を第1風量で運転させることができる。よって、被換気空間の換気におけるエネルギー消費を低減できる。
【図面の簡単な説明】
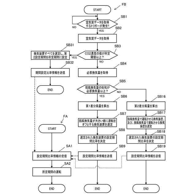
【0008】
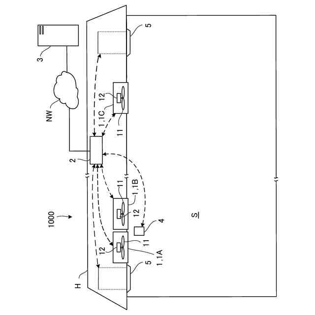
実施の形態1における換気システムの構成を示す図
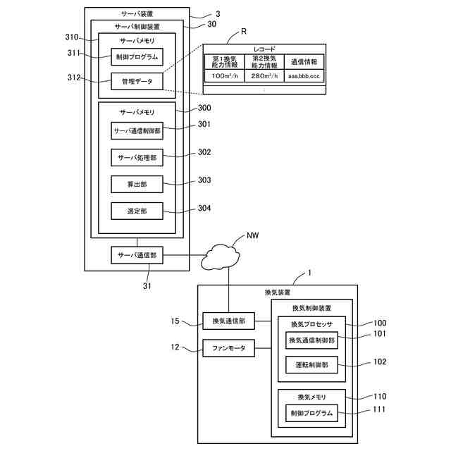
実施の形態1における換気装置、及びサーバ装置の構成を示す図
実施の形態1における換気システムの動作を示すフローチャート
【発明を実施するための形態】
【0009】
(本開示の基礎となった知見等)
発明者らが本開示に想到するに至った当時、例えば特許文献1のように、必要換気量と、複数の換気装置の最も小さい換気風量の総和と、を比較して、該複数の換気装置の換気風量を設定するという技術があった。ところで、該総和が必要換気量以上の場合、被換気空間を換気する複数の換気装置の全てを最も小さい換気風量で運転させる必要がない場合があり、被換気空間の換気におけるエネルギー消費の低減に改善の余地があると言う課題を発明者らは発見し、その課題を解決するために、本開示の主題を構成するに至った。
そこで、本開示は、被換気空間の換気におけるエネルギー消費を低減できる制御方法、及び換気システムを提供する。
【0010】
以下、図面を参照しながら実施の形態を詳細に説明する。但し、必要以上に詳細な説明を省略する場合がある。例えば、既によく知られた事項の詳細説明、または、実質的に同一の構成に対する重複説明を省略する場合がある。
なお、添付図面および以下の説明は、当業者が本開示を十分に理解するために提供されるのであって、これらにより特許請求の範囲に記載の主題を限定することを意図していない。
(【0011】以降は省略されています)
この特許をJ-PlatPat(特許庁公式サイト)で参照する
関連特許
個人
空気調和機
5か月前
個人
集熱器具
19日前
個人
エアコン室内機
5か月前
株式会社トヨトミ
五徳
1か月前
株式会社コロナ
給湯装置
3か月前
株式会社コロナ
空調装置
2か月前
株式会社コロナ
加湿装置
6か月前
個人
UFO型空気清浄機
7日前
個人
油ハネ防止カーテン
22日前
株式会社コロナ
空調装置
1か月前
株式会社コロナ
空調装置
1か月前
株式会社コロナ
空調装置
4か月前
株式会社コロナ
空調装置
3か月前
株式会社コロナ
空調装置
1か月前
株式会社コロナ
空調装置
1か月前
株式会社コロナ
加湿装置
2か月前
個人
太陽光パネル傾斜装置
1か月前
個人
住宅換気空調システム
3か月前
株式会社コロナ
空気調和機
3か月前
株式会社コロナ
空気調和機
3か月前
株式会社コロナ
風呂給湯機
2か月前
株式会社コロナ
貯湯式給湯機
5か月前
株式会社コロナ
温水暖房装置
1か月前
株式会社コロナ
直圧式給湯機
3か月前
個人
シンプルクーラー
1か月前
株式会社コロナ
暖房システム
1か月前
株式会社コロナ
貯湯式給湯機
1か月前
株式会社コロナ
貯湯式給湯機
2か月前
株式会社パロマ
給湯器
4か月前
ホーコス株式会社
排気フード
3か月前
株式会社コロナ
直圧式給湯機
4か月前
株式会社コロナ
貯湯式給湯装置
5か月前
株式会社コロナ
輻射式冷房装置
3か月前
三菱電機株式会社
換気扇
1か月前
三菱電機株式会社
換気扇
1か月前
三菱電機株式会社
換気扇
1か月前
続きを見る
他の特許を見る