TOP
|
特許
|
意匠
|
商標
特許ウォッチ
Twitter
他の特許を見る
公開番号
2025170723
公報種別
公開特許公報(A)
公開日
2025-11-19
出願番号
2024083670
出願日
2024-05-07
発明の名称
外部プロペラの無いドローン及び飛行体
出願人
個人
代理人
主分類
B64C
39/00 20060101AFI20251112BHJP(航空機;飛行;宇宙工学)
要約
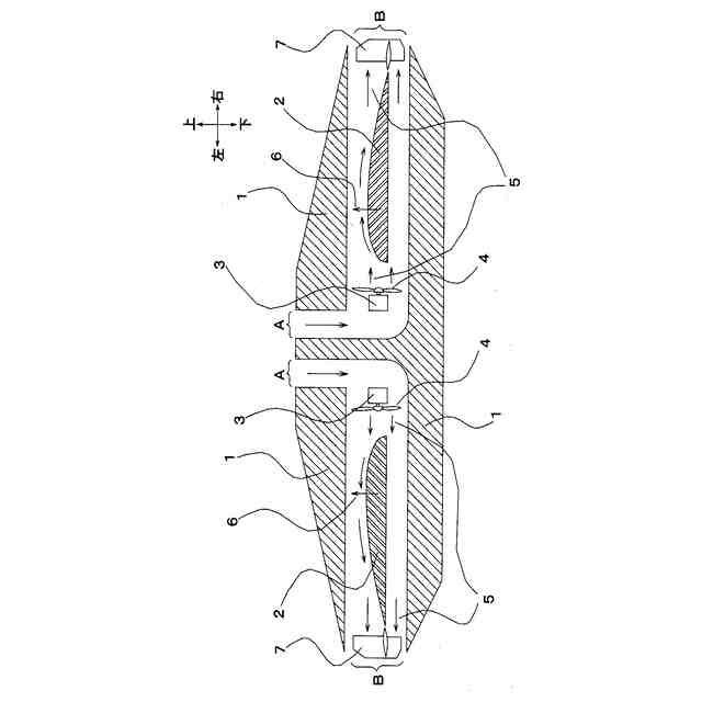
【課題】従来のドローンや回転翼機等の飛行体における、プロペラ及びローターを外部に露出設置すること無しに揚力及び推力を得られ飛行する手段を提供する。
【解決手段】ドローン及び飛行体の本体1内に固定翼2を固定設置する。この固定翼2の前方に、モーター3で駆動するプロペラ4を配置し吸気口Aから取り入れた空気により気流5を発生させる。固定翼2に対し水平に高速で気流5を流すことで、固定翼2に揚力6を発生させる。固定翼2に発生した揚力6により、ドローン及び飛行体の本体1は上昇する。気流5は固定翼2を通過した後、排気口Bから排出されドローン及び飛行体の本体1を飛行させる推力となり、方向舵7によって方向を制御されることで航行する。
【選択図】図2
特許請求の範囲
【請求項1】
外部にプロペラやローターが露出していないことを特徴としたドローン及び飛行体。
続きを表示(約 200 文字)
【請求項2】
前記ドローン及び飛行体本体内部に固定翼を設置し、その固定翼前面に設置したプロペラで気流を発生し固定翼に揚力を生じさせる事を特徴とする、請求項1に記載のドローン及び飛行体。
【請求項3】
前記ドローン及び飛行体本体内部の固定翼を垂直に複数段に配置構成させることで、発生する揚力は固定翼の数に比例して倍増される事を特徴とする、請求項1に記載のドローン及び飛行体。
発明の詳細な説明
【技術分野】
【0001】
本発明は、外部に露出するプロペラやローターの無いドローン及び飛行体に関するものである。
続きを表示(約 1,000 文字)
【背景技術】
【0002】
従来のドローン及び飛行体は、下記特許文献1に開示されるように、機体外部に取り付けられたプロペラやローターの推力により飛行するものである。
【先行技術文献】
【特許文献】
【0003】
特許第6913979号
特許第6888219号
特許第6744615号
【発明の概要】
【発明が解決しようとする課題】
【0004】
本発明が解決しようとする課題は、従来のドローンや飛行体が外部プロペラやローターで下降気流を発生し推力を得て飛行することから、外部にプロペラやローターが露出していることで、飛行中に障害物等に接触しプロペラやローターが破損し飛行不能に陥ったり、離着陸時に発生する下降気流により砂塵等が舞い上がるなどの課題があった。
【課題を解決するための手段】
【0005】
上述した課題を解決するために、本発明の外部プロペラの無いドローン及び飛行体は外部にプロペラやローターを設置せず、本体内に揚力及び推力を発生する固定翼とプロペラを設置し飛行するものとする。
【発明の効果】
【0006】
外部プロペラの無いドローン及び飛行体本体内に揚力及び推力を発生する固定翼とプロペラを設置することで、下降気流を外部に発生すること無しに飛行することが出来る。
【0007】
外部プロペラの無いドローン及び飛行体が飛行中に障害物等に接触しても、揚力や推力を発生する機構が本体内に設置されているため、飛行に係わる機能を損なうこと無く飛行を継続出来る利点がある。
【0008】
動力となるモーター及びプロペラが本体に内蔵されていることから、周囲への騒音が軽減される利点がある。
【0009】
外部プロペラの無いドローン及び飛行体が飛行中に何らかの不具合が生じた場合には、外部にプロペラやローターが無いことから、本体上部にパラシュート等の墜落防止装置を取り付けることが出来る利点がある。
【図面の簡単な説明】
【0010】
本発明に係わる飛行原理を説明する概要図である。
外部プロペラの無いドローン及び飛行体の概略断面図である。
外部プロペラの無いドローン及び飛行体の外観図である。
【発明を実施するための形態】
(【0011】以降は省略されています)
特許ウォッチbot のツイートを見る
この特許をJ-PlatPat(特許庁公式サイト)で参照する
関連特許
個人
飛行体
11日前
個人
ドローン
8か月前
個人
人工台風
4か月前
個人
着火ドローン
5か月前
個人
救難消防飛行艇
6か月前
個人
AERO JET
1か月前
個人
ドローンシステム
10か月前
東レ株式会社
中空回転翼
5か月前
個人
無人空中移動体
1か月前
個人
動力原付きグライダー
2か月前
個人
飛行自動車vol.2
18日前
個人
導風板付き垂直離着陸機
3か月前
個人
連続回転可能な飛行機翼
6か月前
個人
陸海空用の乗り物
7か月前
個人
垂直離着陸機用エンジン改
9か月前
東レ株式会社
プロペラブレード
5か月前
東レ株式会社
プロペラブレード
5か月前
東レ株式会社
飛翔体用ブレード
1か月前
東レ株式会社
プロペラブレード
5か月前
個人
空飛ぶクルマ
5か月前
個人
空中移動システム
11か月前
個人
ドローンを自動離着陸する方法
10か月前
トヨタ自動車株式会社
ドローン
8か月前
個人
エアライナー全自動パラシュート
8か月前
合同会社アドエア
パラシュート射出装置
8か月前
個人
ヘリコプター駆動装置
5か月前
株式会社ACSL
システム
8か月前
株式会社ACSL
システム
8か月前
個人
搬送方法および搬送システム
5か月前
合同会社アドエア
飛行体の落下補助装置
11か月前
株式会社小糸製作所
飛行体ポート
6か月前
株式会社SUBARU
移動体
11か月前
個人
飛行体
5か月前
個人
飛行体
1か月前
個人
飛行体
4か月前
個人
パラボラ型スペースデブリカタパルト
5か月前
続きを見る
他の特許を見る