TOP
|
特許
|
意匠
|
商標
特許ウォッチ
Twitter
他の特許を見る
公開番号
2025170673
公報種別
公開特許公報(A)
公開日
2025-11-19
出願番号
2024075449
出願日
2024-05-07
発明の名称
料理工程提示方法、料理工程提示システム、料理工程提示装置、料理工程提示プログラム、及びそのプログラムを記録した記憶媒体
出願人
キッコーマン株式会社
代理人
デロイトトーマツ弁理士法人
主分類
G06Q
50/10 20120101AFI20251112BHJP(計算;計数)
要約
【課題】料理を完成させるために必要な複数の工程を異なるタイミングで実施する場合でも、次に実施すべき工程をユーザが容易に把握することができる料理工程提示方法を提供する。
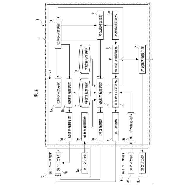
【解決手段】提示システムSは、必要工程認識部1fが、対象料理を完成させるために必要であり、且つ、独立して実施可能な工程である必要工程を認識し、ユーザ作業認識部1hが、必要工程に関してユーザが行った作業を認識し、実施済工程認識部1iが、必要工程のうち既に実施された工程である実施済工程を認識し、未実施工程認識部1jが、必要工程のうち実施されていない工程である未実施工程を認識し、未実施工程提示部1kが、未実施工程を、ユーザに提示する処理を実行する。
【選択図】図2
特許請求の範囲
【請求項1】
対象料理を完成させるための工程を提示する料理工程提示方法であって、
必要工程認識部が、前記対象料理に基づいて、前記対象料理を完成させるために必要であり、且つ、独立して実施可能な複数の工程である複数の必要工程を認識するステップと、
ユーザ作業認識部が、前記複数の必要工程に関してユーザが行った作業を認識するステップと、
実施済工程認識部が、前記ユーザが行った作業に基づいて、前記複数の必要工程のうち既に実施された工程である実施済工程を認識するステップと、
未実施工程認識部が、前記実施済工程に基づいて、前記複数の必要工程のうち実施されていない工程である未実施工程を認識するステップと、
未実施工程提示部が、前記未実施工程を、前記ユーザに提示するステップとを備えていることを特徴とする料理工程提示方法。
続きを表示(約 1,600 文字)
【請求項2】
請求項1に記載の料理工程提示方法において、
前記ユーザは、少なくとも第1ユーザ及び第2ユーザを含み、
前記実施済工程認識部は、前記第2ユーザが行った作業に基づいて、前記実施済工程を認識し、
前記未実施工程提示部は、前記未実施工程を、前記第2ユーザに提示することを特徴とする料理工程提示方法。
【請求項3】
請求項2に記載の料理工程提示方法において、
第1報知部が、前記第2ユーザが行った作業に基づいて新たに前記実施済工程が認識されたときに、該実施済工程を、前記第1ユーザに報知することを特徴とする料理工程提示方法。
【請求項4】
請求項1に記載の料理工程提示方法において、
在庫状況認識部が、前記ユーザの使用可能な食材についての在庫状況を認識するステップと、
在庫状況提示部が、前記ユーザの要求に応じて、前記在庫状況を、前記ユーザに提示するステップとを備え、
前記在庫状況認識部は、新たに前記実施済工程が認識されたときに、前記在庫状況を改めて認識することを特徴とする料理工程提示方法。
【請求項5】
請求項1に記載の料理工程提示方法において、
在庫状況認識部が、前記ユーザの使用可能な食材についての在庫状況を認識するステップと、
必要食材認識部が、前記未実施工程において使用される食材である必要食材を認識するステップと、
不足食材認識部が、前記在庫状況と前記必要食材とを対比して、不足している食材である不足食材の有無を認識するステップとを備え、
前記在庫状況認識部は、新たに前記実施済工程が認識されたときに、前記在庫状況を改めて認識し、
前記不足食材認識部は、前記在庫状況が改めて認識されたときに、前記不足食材の有無を改めて認識し、
前記必要工程認識部は、前記不足食材があると認識された場合に、該不足食材を取得するための工程を新たな必要工程として認識することを特徴とする料理工程提示方法。
【請求項6】
請求項5に記載の料理工程提示方法において、
第2報知部が、前記新たな必要工程が認識されたときに、該新たな必要工程を、前記ユーザに報知するステップを備えていることを特徴とする料理工程提示方法。
【請求項7】
請求項1に記載の料理工程提示方法において、
在庫状況認識部が、前記ユーザの使用可能な食材についての在庫状況を認識するステップと、
候補料理認識部が、その時点における前記在庫状況に基づいて、前記食材を使って料理可能な、又は前記食材を利用して容易に料理可能な料理である候補料理を認識するステップと、
候補料理提示部が、前記候補料理を、前記ユーザに、選択可能に提示するステップと、
対象料理認識部が、前記ユーザの入力に基づいて、選択された前記候補料理を、前記対象料理として認識するステップとを備えていることを特徴とする料理工程提示方法。
【請求項8】
対象料理を完成させるための工程を提示する料理工程提示システムであって、
請求項1~請求項7のいずれか1項に記載の料理工程提示方法を実行するように構成されていることを特徴とする料理工程提示システム。
【請求項9】
対象料理を完成させるための工程を提示する料理工程提示装置であって、
請求項1~請求項7のいずれか1項に記載の料理工程提示方法を実行するように構成されていることを特徴とする料理工程提示装置。
【請求項10】
対象料理を完成させるための工程を提示する料理工程提示方法をコンピュータに実行させる料理工程提示プログラムであって、
前記コンピュータに、請求項1~請求項7のいずれか1項に記載の料理工程提示方法を実行させることを特徴とする料理工程提示プログラム。
(【請求項11】以降は省略されています)
発明の詳細な説明
【技術分野】
【0001】
本発明は、対象料理を完成させるための工程を提示する料理工程提示方法、料理工程提示システム、料理工程提示装置、料理工程提示プログラム、及びそのプログラムを記録した記憶媒体に関する。
続きを表示(約 1,600 文字)
【背景技術】
【0002】
従来、料理のレシピ及びその進行状況に基づいて、作業項目(すなわち、行うべき工程)を、ユーザに提示するシステムが提案されている(例えば、特許文献1参照)。
【先行技術文献】
【特許文献】
【0003】
特開2019-164585号公報
【発明の概要】
【発明が解決しようとする課題】
【0004】
ところで、近年、生活様式の変化等に伴い、料理を完成させるために必要な複数の工程は、必ずしもその料理を食べる予定の時刻の直前に実施されない場合がある。また、それらの複数の工程が異なるタイミングで実施される場合もある。具体的には、食材の下拵えに当たる工程のみを実施しておき、別の日に残りの工程を実施して料理を完成させるといった場合等である。
【0005】
しかし、特許文献1に記載のような従来のシステムは、料理を完成させるための複数の工程を一括で行うことを前提としたものである。そのため、このシステムで提示される複数の工程の各々を異なるタイミングで実施しようとする場合、ユーザが次に実施すべき工程を把握するためには、それまでに実施した工程を自分で把握しておく、実施した工程をシステムに改めて入力する等の煩雑な作業が必要になってしまうという問題があった。
【0006】
本発明は以上の点に鑑みてなされたものであり、料理を完成させるために必要な複数の工程を異なるタイミングで実施する場合でも、次に実施すべき工程をユーザが容易に把握することができる料理工程提示方法、料理工程提示システム、料理工程提示装置、料理工程提示プログラム、及びそのプログラムを記録した記憶媒体を提供することを目的とする。
【課題を解決するための手段】
【0007】
本発明の料理工程提示方法は、
対象料理を完成させるための工程を提示する料理工程提示方法であって、
必要工程認識部が、前記対象料理に基づいて、前記対象料理を完成させるために必要であり、且つ、独立して実施可能な複数の工程である複数の必要工程を認識するステップと、
ユーザ作業認識部が、前記複数の必要工程に関してユーザが行った作業を認識するステップと、
実施済工程認識部が、前記ユーザが行った作業に基づいて、前記複数の必要工程のうち既に実施された工程である実施済工程を認識するステップと、
未実施工程認識部が、前記実施済工程に基づいて、前記複数の必要工程のうち実施されていない工程である未実施工程を認識するステップと、
未実施工程提示部が、前記未実施工程を、前記ユーザに提示するステップとを備えていることを特徴とする。
【0008】
このように、本発明の料理工程提示方法は、対象料理を完成させるための必要工程から、まだ実施されていない未実施工程を認識してユーザに提示する。これにより、ユーザは、未実施工程(すなわち、次に自らが実施すべき工程)を、そこまでに行った工程の確認等を改めて行わずとも、容易に把握することができる。
【0009】
本発明の料理工程提示方法においては、
前記ユーザは、少なくとも第1ユーザ及び第2ユーザを含み、
前記実施済工程認識部は、前記第2ユーザが行った作業に基づいて、前記実施済工程を認識し、
前記未実施工程提示部は、前記未実施工程を、前記第1ユーザに提示することが好ましい。
【0010】
このように、複数の必要工程のうちのいずれかが一方のユーザによって実施された場合に、その工程を実施済工程として他方のユーザに提示すると、1つの料理について複数のユーザが分担して作業を実施する場合であっても、実施済工程(すなわち、その時点における作業全体の進捗状況)を、複数のユーザのいずれもが容易に把握することができる。
(【0011】以降は省略されています)
この特許をJ-PlatPat(特許庁公式サイト)で参照する
関連特許
個人
詐欺保険
1か月前
個人
縁伊達ポイン
1か月前
個人
5掛けポイント
15日前
個人
職業自動販売機
8日前
個人
RFタグシート
26日前
個人
地球保全システム
1か月前
個人
ペルソナ認証方式
23日前
個人
QRコードの彩色
1か月前
個人
情報処理装置
18日前
個人
自動調理装置
25日前
個人
農作物用途分配システム
1か月前
個人
残土処理システム
1か月前
個人
タッチパネル操作指代替具
1か月前
個人
インターネットの利用構造
22日前
個人
知的財産出願支援システム
1か月前
個人
サービス情報提供システム
10日前
個人
スケジュール調整プログラム
1か月前
個人
携帯端末障害問合せシステム
1か月前
株式会社キーエンス
受発注システム
1か月前
個人
エリアガイドナビAIシステム
23日前
個人
食品レシピ生成システム
1か月前
株式会社キーエンス
受発注システム
1か月前
株式会社キーエンス
受発注システム
1か月前
株式会社ワコム
電子ペン
17日前
キヤノン株式会社
情報処理装置
2日前
株式会社ケアコム
項目選択装置
18日前
株式会社ワコム
電子ペン
17日前
キヤノン株式会社
情報処理装置
2日前
株式会社ケアコム
項目選択装置
18日前
エッグス株式会社
情報処理装置
1か月前
トヨタ自動車株式会社
通知装置
29日前
キヤノン株式会社
表示システム
1か月前
キヤノン株式会社
印刷システム
1か月前
キヤノン株式会社
画像認識装置
2日前
個人
帳票自動生成型SaaSシステム
1か月前
個人
音声・通知・再配達UX制御構造
1か月前
続きを見る
他の特許を見る