TOP
|
特許
|
意匠
|
商標
特許ウォッチ
Twitter
他の特許を見る
10個以上の画像は省略されています。
公開番号
2025170623
公報種別
公開特許公報(A)
公開日
2025-11-19
出願番号
2024075361
出願日
2024-05-07
発明の名称
ロックアウトシステム用多重ロック装置
出願人
タキゲン製造株式会社
代理人
個人
主分類
E05B
67/22 20060101AFI20251112BHJP(錠;鍵;窓または戸の付属品;金庫)
要約
【課題】シャックルの先端部が挿通孔に対向している位置のみにおいて、これをスライド板と共に閉位置へ押し下げできる多重ロック装置を提供する。
【解決手段】多重ロック装置1のスライド板3は、貫通孔31aを持つ平板部31と、シャックル4の基端部41側を挿通させるスイベル筒部32とを具備する。スイベル筒部32は、中間に切欠部32aを持ち、シャックル4は、この切欠部32aにおいて外周に固着された抜け止め部材5で抜け止めされる。抜け止め部材5の下げ止め突起51は、切欠部32aから突出する。ケース2の内側には、シャックル4の先端42がケース2の挿通孔21bに対向した軸周り回転位置においては下げ止め突起51に当接せずにシャックル4とスライド板3の下降を許容し、その他の回転角度位置においては下げ止め突起51の下面に当接してシャックルとスライド板の下降を阻止する下げ止め段部23c,24cが形成される。
【選択図】図4
特許請求の範囲
【請求項1】
上板部と、これに対向する下板部と、前板部と、これに対向する後板部と、左右側板部とを有し、前板部と後板部とを前後方向に貫通する複数の貫通孔が形成されたケースと、
当該ケースの貫通孔に対応する位置に複数の貫通孔が形成され、当該ケースに対して押し下げられた閉位置と引き上げられた開位置の間で上下動するようにケースに収容されたスライド板と、
基端部側が前記ケースの上板部のスイベル孔に挿入されて前記スライド板に対して軸周り回転自在で軸方向に固定され、先端部側が前記ケースの上板部の挿通孔に上下方向に抜き差しされるシャックルとを具備し、
前記シャックルは、前記スライド板と共に前記ケースに対して引き上げられた開位置において機器のスイッチ操作部に掛け止められた後、スライド板と共に閉位置へ押し下げ可能に設けられ、
前記スライド板が前記シャックルと共に前記ケースに対して押し下げられた閉位置にあるとき、前記シャックルの他端側は前記挿通孔に差し込まれた状態になると共に、前記ケースの貫通孔と前記スライド板の貫通孔の全てが一致して当該貫通孔にパドロックを掛け止め可能に構成されるロックアウトシステム用の多重ロック装置において、
前記スライド板は、前記貫通孔を有する平板部と、前記シャックルの基端部側を挿通させるスイベル筒部とを具備し、
前記スイベル筒部は、中間に切欠部を有し、
前記シャックルの基端部側は、前記スイベル筒部の切欠部対応位置において外周に固着された抜け止め部材により軸方向に抜け止めされ、
前記抜け止め部材は、前記スイベル筒部の切欠部から突出する下げ止め突起を具備し、
前記ケースの内側には、前記シャックルの先端部が前記ケースの挿通孔に対向した軸周り回転位置においては前記下げ止め突起に当接せずに前記シャックル及びスライド板の下降を許容し、その他の回転角度位置においては当該下げ止め突起の下面に当接して前記シャックル及びスライド板の下降を阻止する下げ止め段部が形成されることを特徴とする多重ロック装置。
続きを表示(約 850 文字)
【請求項2】
前記スライド板が前記シャックルと共に前記ケースに対して引き上げられた開位置にあるとき、前記ケースの貫通孔と前記スライド板の貫通孔の全てが不一致となり、当該貫通孔にパドロックを掛け止め不能に構成されることを特徴とする請求項1に記載の多重ロック装置。
【請求項3】
前記ケースは、いずれも合成樹脂で一体成形された互いに前後方向にスナップ係合して箱状体を形成する本体と蓋体とで構成され、
前記本体は、前記上板部と、前記下板部と、前記前板部と、当該前板部の左右側縁の起立片と具備し、
前記蓋体は、前記後板部と、当該後板部の左右側縁にそれぞれ起立して前記本体の起立片に接合して前記側板部を形成するする左右起立片とを具備し、
前記シャックルは、先端部が前記挿通孔に対向した位置にあるとき前記スイベル筒部の切欠部に対応する位置に、当該シャックルの湾曲平面に対して直交する方向の回り止め平面部を持った切欠部を具備し、
前記抜け止め部材は、前記スイベル筒部の切欠部から露出する前記シャックルの切欠部に圧入固定される弾性合成樹脂製の一部切欠リングからなり、
前記ケースの本体と、前記蓋体と、前記スライド板と、前記シャックルと、前記抜け止め部材の5部材で構成されることを特徴とする請求項1に記載の多重ロック装置。
【請求項4】
前記ケースの内側面と前記スライド板には、当該スライド板が閉位置にあるとき及び開位置にあるときに互いに弾性的に係合するノッチとノッチ爪とからなる位置決め手段を具備することを特徴とする請求項1に記載の多重ロック装置。
【請求項5】
前記5部材がすべて合成樹脂で形成されることを特徴とする請求項3に記載の多重ロック装置。
【請求項6】
前記5部材のうち前記シャックルのみ金属で形成され、他の4部材合が成樹脂で形成されることを特徴とする請求項3に記載の多重ロック装置。
発明の詳細な説明
【技術分野】
【0001】
本発明は、産業用機器等を休止させて複数の作業員で保守点検作業等を行う場合に、すべての作業員が掛けたパドロックを外さないと当該機器を始動させるためのスイッチを操作できない状態にするロックアウトシステムに用いられる多重ロック装置に関する。
続きを表示(約 2,300 文字)
【背景技術】
【0002】
従来、上記のような多重ロック装置として、例えば特許文献1に記載されたインターロック装置が知られている。
この装置は、複数の貫通孔が形成されたケースと、当該ケースの貫通孔に対応する位置に複数の貫通孔が形成され、ケースに対して押し下げられた閉位置と引き上げられた開位置の間で上下動するようにケースに収容されたスライド板と、基端部がケースに挿入されてスライド板に対して軸周り回転自在で軸方向に固定され、先端部がケースの挿通孔に上下方向に抜き差しされるシャックルとを備える。シャックルは、スライド板と共に本体に対して引き上げられた開位置において機器のスイッチ操作部に掛け止められた後、スライド板と共に閉位置へ押し下げられる。シャックルがスライド板と共にケースに対して押し下げられた閉位置にあるとき、シャックルの他端は挿通孔に差し込まれた状態になると共に、ケースの貫通孔とスライド板の貫通孔の全てが一致する。一致した複数の貫通孔に個別に複数の作業員がパドロックを装着可能である。すべての作業員がそれぞれのパドロックを外さないと、シャックルを開位置へ引き上げることができず、したがって、機器のスイッチを操作することができない。
【先行技術文献】
【特許文献】
【0003】
特開2008-41591号公報
【発明の概要】
【発明が解決しようとする課題】
【0004】
上記従来の多重ロック装置においては、シャックルの先端部が挿通孔に対向していない位置においても、シャックルが、ケースに対しスライド板と共に上下動可能である。このため、シャックルをスイッチ操作部に掛け止めた後、先端部をケースに挿入することなくスライド板と共に閉位置へ押し下げることができ、この状態でケースの貫通孔とスライド板の貫通孔が一致するので、貫通孔にパドロックを掛け止めることができてしまい、誤操作のおそれがある。
従って、本発明は、シャックルの先端部が挿通孔に対向している位置のみにおいて、シャックルをケースに対しスライド板と共に閉位置へ押し下げできるようにして、閉位置でのパドロックの掛け止めを不能とする多重ロック装置を提供することを課題とする。
【課題を解決するための手段】
【0005】
以下の説明において添付図面の符号を参照するが、本発明はこれに限定されるものではない。
上記課題を解決するための、本発明のロックアウトシステム用の多重ロック装置1おいて、スライド板3は、貫通孔31aを有する平板部31と、シャックル4の基端部41側を挿通させるスイベル筒部32とを具備する。スイベル筒部32は、中間に切欠部32aを有する。シャックル4は、スイベル筒部32の切欠部32aにおいて外周に固着された抜け止め部材5により軸方向に抜け止めされる。抜け止め部材5は、スイベル筒部32の切欠部32aから突出する下げ止め突起51を具備する。ケース2の内側には、シャックル4の先端部42がケース2の挿通孔21bに対向した軸周り回転位置においては下げ止め突起51に当接せずにシャックル4及びスライド板3の下降を許容し、その他の回転角度位置においては下げ止め突起51の下面に当接してシャックル及びスライド板の下降を阻止する下げ止め段部23c,24cが形成される。
【発明の効果】
【0006】
本発明によれば、シャックルの先端部が挿通孔に対向している位置のみにおいて、シャックルをケースに対しスライド板と共に閉位置へ押し下げでき、したがって、シャックルの先端部が挿通孔に対向していない位置でのパドロックの掛け止めが不能となる多重ロック装置を提供できる。
【図面の簡単な説明】
【0007】
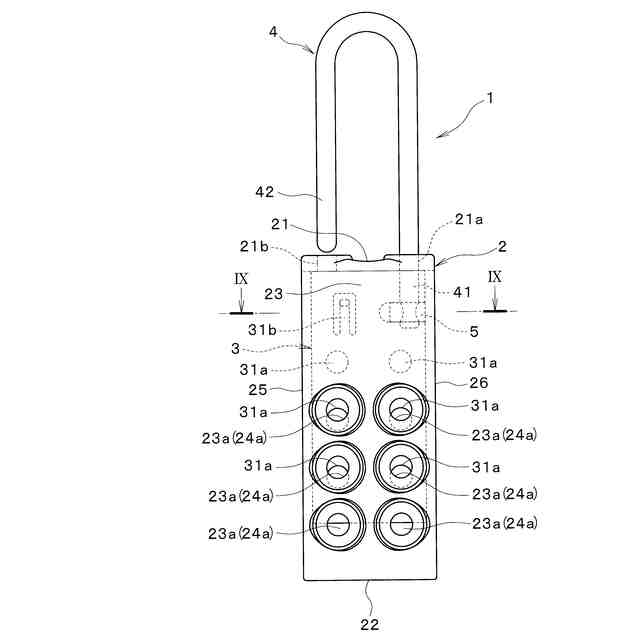
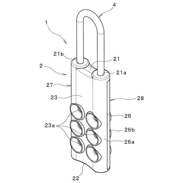
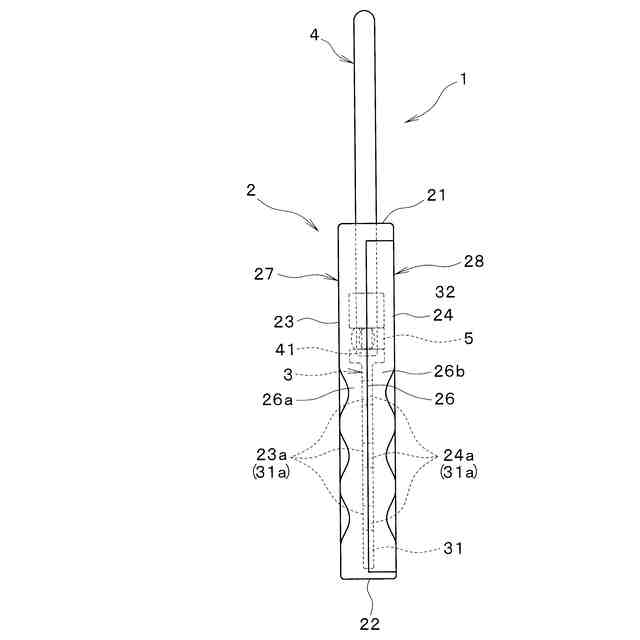
本発明の多重ロック装置の閉状態の斜視図である。
図1の多重ロック装置の閉状態の正面図である。
図1の多重ロック装置の閉状態の側面図である。
図1の多重ロック装置の前面側からの分解斜視図である。
図1の多重ロック装置の後面側からの分解斜視図である。
図2におけるVI-VI拡大断面図である。
図2におけるVII-VII拡大断面図である。
図1の多重ロック装置の開状態の正面図である。
図8におけるIX-IX拡大断面図である。
図1の多重ロック装置の開状態においてシャックルを180°回転させた状態の正面図である。
図10におけるXI-XI拡大断面図である。
図1の開状態の多重ロック装置の蓋体を外した状態の背面図である。
【発明を実施するための形態】
【0008】
図面を参照して本発明の実施の形態を説明する。
多重ロック装置1は、ケース2と、これに収容されたスライド板3と、シャックル4とを具備する。
【0009】
ケース2は、スイベル孔21aと挿通孔21bを有する上板部21と、これに対向する下板部22と、前板部23と、これに対向する後板部24と、左右側板部25,26とを有し、前板部23と後板部24を前後方向に貫通する複数の貫通孔23a,24aが形成される。
【0010】
ケース2は、ケース本体27とケース蓋体28とで構成され、いずれも合成樹脂で一体成形され、互いに前後方向にスナップ係合して扁平な箱状体を形成する。
(【0011】以降は省略されています)
この特許をJ-PlatPat(特許庁公式サイト)で参照する
関連特許
タキゲン製造株式会社
ヘルールクランプ装置
23日前
タキゲン製造株式会社
ロックアウトシステム用多重ロック装置
3日前
株式会社TOK
ミシンの点検時安全装置
1か月前
個人
物品保管箱
3か月前
個人
防犯用ドア装置
3か月前
個人
ピンシリンダー錠。
4か月前
個人
二重ロック機能付小物入れ
3か月前
個人
ポスト機能付き手提げ金庫
2か月前
株式会社ベスト
軸釣装置
18日前
個人
顔認証による入室システム
4か月前
株式会社ソリック
ドア装置
26日前
ミサワホーム株式会社
錠受具
4か月前
三協立山株式会社
開口部装置
2か月前
リョービ株式会社
ドアクローザ
3か月前
株式会社アルファ
電気錠
3か月前
リョービ株式会社
ドアクローザ
3か月前
個人
無人貸金庫システム
1か月前
株式会社榮伸
カバン蓋の係止装置
3か月前
株式会社ベスト
扉及び個室
1か月前
株式会社ベスト
開き扉の開閉装置
3か月前
積水ハウス株式会社
引き戸
1か月前
トヨタ自動車株式会社
車両
29日前
有限会社シティング
引き戸
2か月前
株式会社セリュール
電子錠、電気錠装置
10日前
株式会社セリュール
電子錠、電気錠装置
10日前
積水ハウス株式会社
引き戸
2か月前
ミネベアショウワ株式会社
ドア装置
3か月前
朝日電装株式会社
車両用ロック装置
2日前
コイト電工株式会社
蝶番の取付構造
1か月前
美和ロック株式会社
IDキー
3か月前
スズキ株式会社
車両用乗員保護装置
2か月前
ミネベアショウワ株式会社
ドア装置
3か月前
株式会社ユニオン
ドアハンドル
1か月前
神田工業株式会社
解錠システム
4か月前
株式会社LIXIL
建具
3か月前
株式会社LIXIL
建具
1か月前
続きを見る
他の特許を見る