TOP
|
特許
|
意匠
|
商標
特許ウォッチ
Twitter
他の特許を見る
公開番号
2025164285
公報種別
公開特許公報(A)
公開日
2025-10-30
出願番号
2024068118
出願日
2024-04-19
発明の名称
ヘルールクランプ装置
出願人
タキゲン製造株式会社
代理人
個人
主分類
F16L
23/06 20060101AFI20251023BHJP(機械要素または単位;機械または装置の効果的機能を生じ維持するための一般的手段)
要約
【課題】着脱が容易でありながら所要の締め付け強度を維持できるヘルールクランプ装置を提供する。
【解決手段】ヘルールクランプ装置1は、クランプバンド2と、それの両端間を閉じる方向に締め付けてクランプバンド2でヘルールFを把持する締め付け部材3とを具備する。クランプバンド2は、一端側に第1の挟持部21、他端側に第2の挟持部22を具備する。第1及び第2の挟持部21,22は、ヘルールFへの嵌合時に両挟持部21,22間を閉じる方向に沿う取り付け平面21a,22aを具備する。締め付け部材3は、第1又は第2の挟持部21,22のいずれか一方の取り付け平面21a,22aに固着される本体31と、他方の取り付け平面21a,22aに固着され本体31に係合離脱自在のフック体32とを具備するパチン錠で構成される。
【選択図】図1
特許請求の範囲
【請求項1】
相互間を開閉可能な一端と他端とを有し、接続すべき二つの管の突き合わせ端部に形成された環状のヘルールの外周に嵌合されるクランプバンドと、
前記クランプバンドの両端間を閉じる方向に締め付けて前記クランプバンドで前記ヘルールを把持する締め付け部材とを具備するヘルールクランプ装置であって、
前記クランプバンドは、一端側に第1の挟持部、他端側に第2の挟持部を具備し、
前記第1及び第2の挟持部は、前記ヘルールへの嵌合時に両挟持部間を閉じる方向の取り付け平面を具備し、
前記締め付け部材は、前記第1又は第2の挟持部のいずれか一方の前記取り付け平面に固着される本体と、他方の前記取り付け平面に固着され前記本体に係合離脱自在のフック体とを具備するパチン錠であることを特徴とするヘルールクランプ装置。
続きを表示(約 1,400 文字)
【請求項2】
前記締め付け部材は、前記第1又は第2の挟持部のいずれか一方の前記取り付け平面に固着される本体と、他方の前記取り付け平面に固着され前記本体に係合離脱自在のフック体とを具備し、
前記本体は、前記取り付け平面に固着されるベース部材と、当該ベース部材に対して基端側が枢支され起立した解放位置と倒伏した締め付け位置との間で上下方向に回動操作可能な操作レバーと、当該操作レバーに基端側が枢支され先端側に当該操作レバーの回動角度位置に応じて前記フック体に係脱する係合軸を有する掛金体と、前記操作レバーを締め付け位置において前記ベース部材に拘束するロック機構とを具備し、
前記ベース部材は、前記フック体側の端部とその反対側の端部の両側縁に起立する第1及び第2の各一対の軸受け板部を具備し、当該第1の軸受け板部に前記管の軸線と平行な第1枢軸を支持し、当該第2の軸受け板部に当該第1枢軸と平行なロックピンを支持し、
前記操作レバーは、基端から先端へ伸びる上板部と、当該上板部の延長方向の両側縁に沿って直角に屈折して延びる一対の側板部とを具備し、当該側板部において前記ベース部材の第1枢軸により基端側が枢支されると共に、当該側板部の中間部に前記第1枢軸と平行な第2枢軸を支持し、
前記掛金体は、介在するトグルばねにより伸縮自在で基端側において前記第2枢軸の両端部に枢支される2つのアームと、当該アームの先端部間に前記第2枢軸と平行に支持される係合軸とを具備し、
前記操作レバーを前記ベース部材に対して起立させた状態で前記フック体に前記係合軸を掛けて前記レバーを締め付け位置まで倒伏させたとき、前記アームが前記トグルばねを伸長させつつ前記フック体を前記本体側へ引き寄せることにより、前記クランプバンドの第1、第2の挟持部間を締め付け、かつ前記レバーの倒伏途上で前記トグルばねが伸長死点を超えて前記レバーを締め付け位置に保持するように設けられ、
前記ロック機構は、前記操作レバーに沿ってロック位置と非ロック位置との間を移動操作可能に設けられるスライドラッチと、当該スライドラッチをロック位置に付勢する付勢ばねとを具備し、
前記スライドラッチは、前記操作レバーの上板部の下面に沿う摺動板部と、当該摺動板部の両側縁から下方へ直角に屈折して延出し前記第1枢軸及び第2枢軸を貫通させる長孔を有する一対の支持板部と、当該支持板部の先端側に設けられ前記操作レバーが締め付け位置へ回動するとき前記ロックピンに摺椄して前記スライドラッチを非ロック位置へ押動させた後ロック位置へ復帰して当該ロックピンに自動係合するラッチ部と、前記スライドラッチを非ロック位置へ押動操作するための解除操作部とを具備することを特徴とする請求項1に記載のヘルールクランプ装置。
【請求項3】
前記クランプバンドが、相互に枢着された概略円弧状の第1ないし第3の3つのクランプ部材で構成されることを特徴とする請求項1又は2に記載のヘルールクランプ装置。
【請求項4】
前記クランプバンドが、相互に枢着された概略半円弧状の第1及び第2の2つのクランプ部材で構成されることを特徴とする請求項1又は2に記載のヘルールクランプ装置。
【請求項5】
前記付勢ばねは、前記スライドラッチの摺動板部と前記操作レバーの上板部との間に介設されることを特徴とする請求項2に記載のヘルールクランプ装置。
発明の詳細な説明
【技術分野】
【0001】
本発明は、サニタリーヘルール継手の固定,接続を行うヘルールクランプ装置に関する。
続きを表示(約 1,800 文字)
【背景技術】
【0002】
食品や医薬品の製造プロセスラインでは、それが清浄であることが不可欠である。このような部位には、ステンレス鋼サニタリー管を用い、その清浄性を確保するため、容易に分解洗浄できるように、サニタリーヘルール継手により管の固定、接続が行われる。ヘルール継手は、2つの管の端部に形成された環状のヘルールの間に介在させたガスケットと、接合された両へルールを外周側から締結するヘルールクランプ装置とで構成される。
ヘルールクランプ装置としては、例えば特許文献1に開示されるものが知られている。これは、一端側において相互に枢着され他端間が開閉可能な概略半円弧状の2つのクランプ部材からなるクランプバンドと、2つのクランプ部材の他端間を締め付ける蝶ねじとで構成される。クランプバンドが、相互に枢着された概略円弧状の3つのクランプ部材で構成されるものも公知である。
一方、機器収納ボックス等に使用されるパチン錠と称される掛金装置として、特許文献2に記載されたものが知られている。これは、操作レバーをベース板に錠止する手段を備え、操作レバーが予期しない外力で枢軸を中心に浮き上がり回転させられて掛止の施錠が偶発的に解除されるのを防止する機能を有する。
【先行技術文献】
【特許文献】
【0003】
特開2006-226345号公報
特開2003-232157号公報
【発明の概要】
【発明が解決しようとする課題】
【0004】
上記従来のヘルールクランプ装置においては、クランプ部材の締め付けが蝶ねじにより行われるため、その着脱に手間取るという問題点がある。
したがって、本発明は、着脱が容易でありながら、所要の締め付け強度を維持できるヘルールクランプ装置を提供することを課題とする。
【課題を解決するための手段】
【0005】
以下の説明において添付図面の符号を参照するが、本発明はこれに限定されるものではない。
上記課題を解決するための、本発明のヘルールクランプ装置1は、クランプバンド2と、それの両端間を閉じる方向に締め付けてクランプバンド2でヘルールFを把持する締め付け部材3とを具備する。クランプバンド2は、一端側に第1の挟持部21、他端側に第2の挟持部22を具備する。第1及び第2の挟持部21,22は、ヘルールFへの嵌合時に両挟持部21,22間を閉じる方向に沿う取り付け平面21a,22aを具備する。締め付け部材3は、第1又は第2の挟持部21,22のいずれか一方の取り付け平面21a,22aに固着される本体31と、他方の取り付け平面21a,22aに固着され本体31に係合離脱自在のフック体32とを具備するパチン錠で構成される。
【発明の効果】
【0006】
本発明によれば、操作レバーの回動操作のみでヘルールに容易に着脱でき、かつ所要の締め付け強度を維持できるヘルールクランプ装置を提供できる。
【図面の簡単な説明】
【0007】
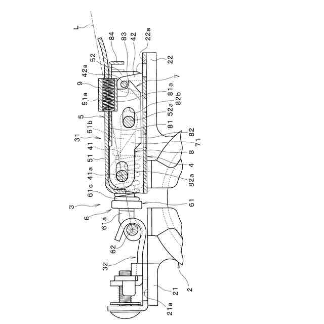
ヘルールに装着した状態の本発明のヘルールクランプ装置の正面図である。
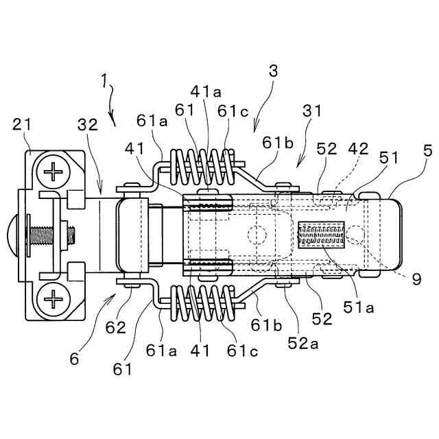
図1のヘルールクランプ装置の平面図である。
図1のヘルールクランプ装置の解放状態の断面図である。
図1のヘルールクランプ装置の締め付け状態の一部の断面図である。
【発明を実施するための形態】
【0008】
図面を参照して本発明の実施の形態を説明する。
ヘルールクランプ装置1は、クランプバンド2と、それの両端間を閉じる方向に締め付けてクランプバンド2でサニタリー管PのヘルールFを把持する締め付け部材3とを具備する。
【0009】
クランプバンド2は、一端側に第1の挟持部21、他端側に第2の挟持部22を具備する。第1及び第2の挟持部21,22は、ヘルールFへの嵌合時に両挟持部21,22間を閉じる方向の取り付け平面21a,22aを具備する。
【0010】
図示の実施形態において、クランプバンド2は、相互に枢着された概略円弧状の第1ないし第3の3つのクランプ部材23,24,25で構成される。
(【0011】以降は省略されています)
この特許をJ-PlatPat(特許庁公式サイト)で参照する
関連特許
個人
留め具
1か月前
個人
鍋虫ねじ
3か月前
個人
紛体用仕切弁
3か月前
個人
回転伝達機構
4か月前
個人
差動歯車用歯形
5か月前
個人
ジョイント
2か月前
個人
給排気装置
2か月前
個人
ナット
1か月前
個人
地震の揺れ回避装置
4か月前
株式会社不二工機
電磁弁
5か月前
個人
ナット
2か月前
個人
吐出量監視装置
3か月前
個人
ゲート弁バルブ
17日前
柿沼金属精機株式会社
分岐管
3か月前
兼工業株式会社
バルブ
1か月前
カヤバ株式会社
緩衝器
5か月前
カヤバ株式会社
ダンパ
5か月前
カヤバ株式会社
ダンパ
5か月前
カヤバ株式会社
緩衝器
5か月前
カヤバ株式会社
緩衝器
2か月前
株式会社奥村組
制振機構
2か月前
株式会社奥村組
制振機構
2か月前
株式会社ニフコ
クリップ
17日前
竹内工業株式会社
ラッチ
2日前
株式会社不二工機
電磁弁
3か月前
アズビル株式会社
回転弁
2か月前
株式会社ニフコ
クリップ
2か月前
株式会社タカギ
水栓装置
4か月前
株式会社不二工機
電動弁
2か月前
株式会社三五
ドライブシャフト
1か月前
株式会社ノーリツ
分配弁
2か月前
株式会社ノナガセ
免震装置
1か月前
個人
ワンウェイベアリング
4か月前
アマテイ株式会社
釘
1か月前
株式会社不二越
転がり軸受
3か月前
株式会社オンダ製作所
識別リング
4か月前
続きを見る
他の特許を見る