TOP
|
特許
|
意匠
|
商標
特許ウォッチ
Twitter
他の特許を見る
10個以上の画像は省略されています。
公開番号
2025170423
公報種別
公開特許公報(A)
公開日
2025-11-18
出願番号
2025146446,2023197091
出願日
2025-09-03,2018-11-20
発明の名称
消音システム
出願人
日東電工株式会社
代理人
弁理士法人青藍国際特許事務所
主分類
H04R
17/00 20060101AFI20251111BHJP(電気通信技術)
要約
【課題】圧電フィルムから消音用の音波が良好に放射される消音システムを提供する。
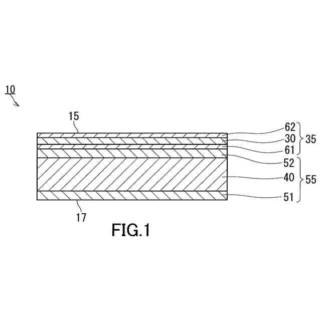
【解決手段】消音システムは、消音用の音波を放射するための少なくとも1つの消音スピーカーを備える。少なくとも1つの消音スピーカーは、圧電スピーカー10を含む。圧電スピーカー10は、圧電フィルム35と、圧電スピーカー10を支持する支持体に接する固定面17と、圧電フィルム35と固定面17との間に配置されたフィルム保持部55と、を備える。フィルム保持部55は、粘着層51を含み、且つ、固定面17を粘着層51の表面に形成し、さらに、多孔体層である介在層40を含む。
【選択図】図1
特許請求の範囲
【請求項1】
消音用の音波を放射するための少なくとも1つの消音スピーカーと、少なくとも1つのマイクロフォンと、制御装置と、を備えた消音システムであって、
前記少なくとも1つの消音スピーカーは、圧電スピーカーを含み、
前記圧電スピーカーは、圧電フィルムと、前記圧電スピーカーを支持する支持体に接する固定面と、前記圧電フィルムの厚さ方向に関して前記圧電フィルムと前記固定面との間に配置されたフィルム保持部と、を備え、
前記圧電スピーカーは、前記圧電スピーカーが単独で平面上に固定された場合に前記圧電フィルムが平面状に拡がるように構成されており、
前記圧電フィルムを平面視で観察したときに、前記圧電フィルムの少なくとも一部が前記固定面と重複するように前記固定面が配置され、
(i)前記フィルム保持部は第1粘着層を含み且つ前記固定面は前記第1粘着層の表面により形成されている、及び/又は、(ii)前記フィルム保持部は多孔体層を含み、
前記制御装置は、前記圧電スピーカーから放射される放射音波の制御を前記少なくとも1つのマイクロフォンと協働して行い、これにより消音する、消音システム。
発明の詳細な説明
【技術分野】
【0001】
本発明は、消音システムに関し、具体的には、消音用の音波を放射するための少なくとも1つの消音スピーカーを備えた消音システムに関する。
続きを表示(約 2,300 文字)
【背景技術】
【0002】
圧電フィルムを用いたスピーカー(以下、圧電スピーカーと称することがある)が知られている。圧電スピーカーには、体積が小さくて軽いという利点がある。
【0003】
特許文献1には、圧電スピーカーを消音スピーカーとして用いることによって消音システムを構成することが記載されている。具体的には、この消音システムでは、圧電フィルムが支持体である壁材に見立てた木製ボードに接着剤で直接貼り付けられている。
【先行技術文献】
【特許文献】
【0004】
特開平6-236189号公報
特開2016-122187号公報
【発明の概要】
【発明が解決しようとする課題】
【0005】
本発明は、圧電フィルムから消音用の音波が良好に放射される消音システムを提供することを目的とする。
【課題を解決するための手段】
【0006】
本発明者らの検討によれば、圧電フィルムと支持体との間に適切な層を介在させると、圧電フィルムから可聴音域の音が出易くなる。圧電フィルムを固定するための接着剤も圧電フィルムと支持体との間に介在する(特許文献1)。しかし、この接着剤は、消音システムを構成するべき現場で塗布されるため、その介在の態様の再現性に乏しい。このため、支持体への固定の際に、圧電フィルムに塗布される接着剤は、少なくともそれのみでは圧電スピーカーを用いた消音システムの改善には適していない。
【0007】
本発明は、
消音用の音波を放射するための少なくとも1つの消音スピーカーを備えた消音システムであって、
前記少なくとも1つの消音スピーカーは、圧電スピーカーを含み、
前記圧電スピーカーは、圧電フィルムと、前記圧電スピーカーを支持する支持体に接する固定面と、前記圧電フィルムと前記固定面との間に配置されたフィルム保持部と、を備え、
(i)前記フィルム保持部は粘着層を含み且つ前記固定面は前記粘着層の表面により形成されている、及び/又は、(ii)前記フィルム保持部は多孔体層を含む、消音システムを提供する。
【発明の効果】
【0008】
上記消音システムは、圧電フィルムから消音用の音波を良好に放射することに適している。
【図面の簡単な説明】
【0009】
図1は、圧電スピーカーの厚さ方向に平行な断面における断面図である。
図2は、圧電スピーカーを固定面とは反対側から観察したときの上面図である。
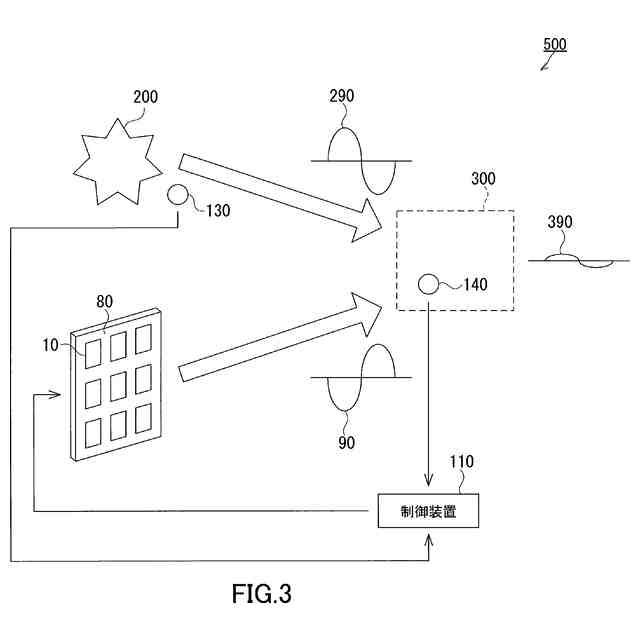
図3は、消音システムを説明するための模式図である。
図4は、別の実施形態に係る圧電スピーカーを示す図である。
図5は、実施例で作製した構造を説明するための図である。
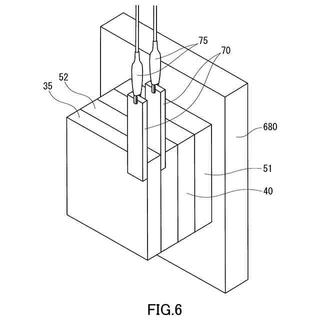
図6は、サンプルを測定するための構成を説明するための図である。
図7は、サンプルを測定するための構成を説明するための図である。
図8は、出力系のブロック図である。
図9は、評価系のブロック図である。
図10Aは、サンプルの評価結果を示す表である。
図10Bは、サンプルの評価結果を示す表である。
図11は、介在層の拘束度と音が出始める周波数との関係を示すグラフである。
図12は、実施例1のサンプルの音圧レベルの周波数特性を示すグラフである。
図13は、実施例2のサンプルの音圧レベルの周波数特性を示すグラフである。
図14は、実施例3のサンプルの音圧レベルの周波数特性を示すグラフである。
図15は、実施例4のサンプルの音圧レベルの周波数特性を示すグラフである。
図16は、実施例5のサンプルの音圧レベルの周波数特性を示すグラフである。
図17は、実施例6のサンプルの音圧レベルの周波数特性を示すグラフである。
図18は、実施例7のサンプルの音圧レベルの周波数特性を示すグラフである。
図19は、実施例8のサンプルの音圧レベルの周波数特性を示すグラフである。
図20は、実施例9のサンプルの音圧レベルの周波数特性を示すグラフである。
図21は、実施例10のサンプルの音圧レベルの周波数特性を示すグラフである。
図22は、実施例11のサンプルの音圧レベルの周波数特性を示すグラフである。
図23は、実施例12のサンプルの音圧レベルの周波数特性を示すグラフである。
図24は、実施例13のサンプルの音圧レベルの周波数特性を示すグラフである。
図25は、実施例14のサンプルの音圧レベルの周波数特性を示すグラフである。
図26は、実施例15のサンプルの音圧レベルの周波数特性を示すグラフである。
図27は、実施例16のサンプルの音圧レベルの周波数特性を示すグラフである。
図28は、実施例17のサンプルの音圧レベルの周波数特性を示すグラフである。
図29は、参考例1のサンプルの音圧レベルの周波数特性を示すグラフである。
図30は、暗騒音の音圧レベルの周波数特性を示すグラフである。
図31は、圧電フィルムの支持構造を説明するための図である。
【発明を実施するための形態】
【0010】
以下、添付の図面を参照しつつ本発明の実施形態について説明するが、以下は本発明の実施形態の例示に過ぎず、本発明を制限する趣旨ではない。
(【0011】以降は省略されています)
この特許をJ-PlatPat(特許庁公式サイト)で参照する
関連特許
日東電工株式会社
ロボット
14日前
日東電工株式会社
導光部材
1か月前
日東電工株式会社
光学積層体
6日前
日東電工株式会社
粘着シート
21日前
日東電工株式会社
光学積層体
6日前
日東電工株式会社
光学積層体
6日前
日東電工株式会社
補強フィルム
13日前
日東電工株式会社
配線回路基板
1か月前
日東電工株式会社
パッチアンテナ
14日前
日東電工株式会社
パッチアンテナ
14日前
日東電工株式会社
ロール体の製造方法
21日前
日東電工株式会社
多孔質ポリマーシート
21日前
日東電工株式会社
フレキシブル多層回路基板
21日前
日東電工株式会社
積層光学フィルムの製造方法
8日前
日東電工株式会社
粘着シートおよび光半導体装置
21日前
日東電工株式会社
情報カードおよびその製造方法
1か月前
日東電工株式会社
表面保護フィルムおよびその用途
13日前
日東電工株式会社
表面保護フィルムおよび光学積層体
6日前
日東電工株式会社
ロール体およびロール体の製造方法
13日前
日東電工株式会社
ヒータモジュール、およびロボット
14日前
日東電工株式会社
反射防止フィルム及びその製造方法
29日前
日東電工株式会社
生体信号取得用粘着性電極及び生体センサ
29日前
日東電工株式会社
配線回路基板、および、配線回路基板の製造方法
1か月前
日東電工株式会社
光電混載基板、光モジュール、および、電子機器
15日前
日東電工株式会社
マイクロ波加熱装置及びマイクロ波加熱システム
1か月前
日東電工株式会社
ホログラムの製造装置、ホログラムの製造方法、及び導光板
1か月前
日東電工株式会社
ホログラムの製造装置、ホログラムの製造方法、及び導光板
1か月前
日東電工株式会社
ホログラムの製造装置、ホログラムの製造方法、及び導光板
1か月前
日東電工株式会社
消音システム
23日前
日東電工株式会社
積層フィルム
27日前
日東電工株式会社
画像表示装置
1か月前
日東電工株式会社
光学フィルム片
23日前
日東電工株式会社
ホログラムの製造装置、ホログラムの製造方法、導光板及び透光板
1か月前
日東電工株式会社
光電混載基板、光電変換モジュール、光通信デバイスおよび電子機器
13日前
日東電工株式会社
光電混載基板、光電変換モジュール、光通信デバイスおよび電子機器
1か月前
日東電工株式会社
配線回路基板付きシートの製造方法、および、配線回路基板付きシート
14日前
続きを見る
他の特許を見る