TOP
|
特許
|
意匠
|
商標
特許ウォッチ
Twitter
他の特許を見る
公開番号
2025173250
公報種別
公開特許公報(A)
公開日
2025-11-27
出願番号
2024078749
出願日
2024-05-14
発明の名称
配線回路基板付きシートの製造方法、および、配線回路基板付きシート
出願人
日東電工株式会社
代理人
弁理士法人いくみ特許事務所
主分類
H05K
3/00 20060101AFI20251119BHJP(他に分類されない電気技術)
要約
【課題】配線回路基板付きシートの製造方法、および、配線回路基板付きシートを提供する。
【解決手段】
配線回路基板付きシート1の製造方法は、複数の配線回路基板3を有する集合体シート10を製造する第1工程と、集合体シート10のフレーム11から配線回路基板3を切り離す第2工程と、切り離された配線回路基板3を支持シート2上に配置する第3工程とを含む。
【選択図】図1
特許請求の範囲
【請求項1】
複数の配線回路基板と、前記複数の配線回路基板を支持するフレームとを有する集合体シートを製造する第1工程と、
前記フレームから前記配線回路基板を切り離す第2工程と、
切り離された前記配線回路基板を支持シート上に配置する第3工程と
を含む、配線回路基板付きシートの製造方法。
続きを表示(約 930 文字)
【請求項2】
前記配線回路基板付きシートにおける前記配線回路基板の向きは、前記集合体シートにおける前記配線回路基板の向きと異なる、請求項1に記載の配線回路基板付きシートの製造方法。
【請求項3】
前記配線回路基板付きシートにおける単位面積当たりの前記配線回路基板の個数は、前記集合体シートにおける単位面積当たりの前記配線回路基板の個数よりも少ない、請求項1に記載の配線回路基板付きシートの製造方法。
【請求項4】
前記支持シートにアライメントマークを形成するアライメントマーク形成工程を、さらに含む、請求項1に記載の配線回路基板付きシートの製造方法。
【請求項5】
前記第3工程は、前記アライメントマーク形成工程の後に実行され、
前記第3工程において、切り離された前記配線回路基板を、前記アライメントマークを基準として、前記支持シート上に配置する、請求項4に記載の配線回路基板付きシートの製造方法。
【請求項6】
前記配線回路基板は、金属層と、回路パターンと、前記金属層と前記回路パターンとの間に配置される絶縁層とを有し、
前記配線回路基板付きシートにおいて、前記金属層は、前記回路パターンに対して前記支持シートの反対側に配置される、請求項1に記載の配線回路基板付きシートの製造方法。
【請求項7】
前記回路パターンは、端子を有し、
前記支持シートは、開口を有し、
前記配線回路基板付きシートにおいて、前記端子は、前記開口内に配置され、前記支持シートと接触しない、請求項6に記載の配線回路基板付きシートの製造方法。
【請求項8】
前記支持シートは、紫外線剥離型の粘着シートである、請求項1に記載の配線回路基板付きシートの製造方法。
【請求項9】
前記支持シートは、熱剥離型の粘着シートである、請求項1に記載の配線回路基板付きシートの製造方法。
【請求項10】
前記支持シートは、着色されている、請求項1に記載の配線回路基板付きシートの製造方法。
(【請求項11】以降は省略されています)
発明の詳細な説明
【技術分野】
【0001】
本発明は、配線回路基板付きシートの製造方法、および、配線回路基板付きシートに関する。
続きを表示(約 980 文字)
【背景技術】
【0002】
従来、複数の配線回路基板を有する集合体シートが知られている(例えば、下記特許文献1参照。)。
【先行技術文献】
【特許文献】
【0003】
特開2024-46012号公報
【発明の概要】
【発明が解決しようとする課題】
【0004】
上記した特許文献1に記載の集合体シートのように、1つの集合体シートにおける配線回路基板の数を増大させようとすると、例えば、配線回路基板の向き、配置、および、配線回路基板同士の間隔が、配線回路基板をモジュールに実装するときの向き、配置および間隔と比べて相違してしまう場合がある。
【0005】
そのため、1つの集合体シートにおける配線回路基板の数を増大させようとすると、モジュールに対する配線回路基板の実装性が低下してしまう場合がある。
【0006】
本発明は、モジュールに対する配線回路基板の実装性の向上を図ることができる配線回路基板付きシートの製造方法、および、配線回路基板付きシートを提供する。
【課題を解決するための手段】
【0007】
本発明[1]は、複数の配線回路基板と、前記複数の配線回路基板を支持するフレームとを有する集合体シートを製造する第1工程と、前記フレームから前記配線回路基板を切り離す第2工程と、切り離された前記配線回路基板を支持シート上に配置する第3工程とを含む、配線回路基板付きシートの製造方法を含む。
【0008】
このような方法によれば、集合体シートを製造した後に、配線回路基板をフレームから切り離して、支持シート上に配置する。
【0009】
そのため、集合体シートを製造するときには、得られる配線回路基板の個数を最大化するように、配線回路基板の向き、配置、および、配線回路基板同士の間隔を設計して、配線回路基板の製造効率の向上を図りつつ、得られた集合体シートから配線回路基板を切り離して、モジュールへの実装に適した向きに配置することができる。
【0010】
その結果、モジュールに対する配線回路基板の実装性の向上を図ることができる。
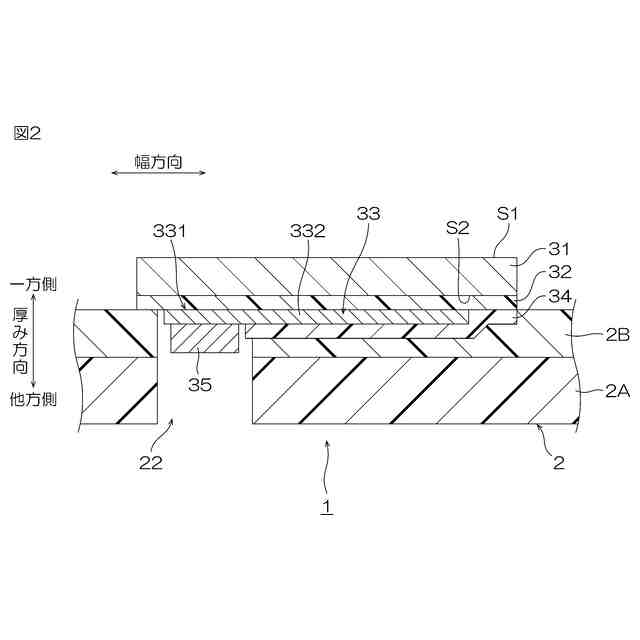
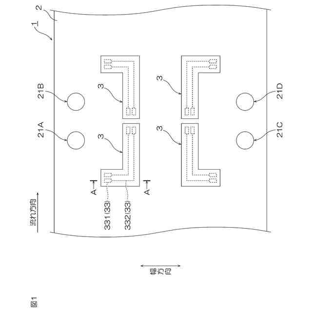
(【0011】以降は省略されています)
この特許をJ-PlatPat(特許庁公式サイト)で参照する
関連特許
日東電工株式会社
ロボット
11日前
日東電工株式会社
導光部材
1か月前
日東電工株式会社
光学積層体
3日前
日東電工株式会社
粘着シート
18日前
日東電工株式会社
光学積層体
1か月前
日東電工株式会社
粘着シート
1か月前
日東電工株式会社
光学積層体
3日前
日東電工株式会社
光学積層体
3日前
日東電工株式会社
配線回路基板
1か月前
日東電工株式会社
補強フィルム
10日前
日東電工株式会社
パッチアンテナ
11日前
日東電工株式会社
パッチアンテナ
11日前
日東電工株式会社
ロール体の製造方法
18日前
日東電工株式会社
多孔質ポリマーシート
18日前
日東電工株式会社
光半導体素子封止用シート
1か月前
日東電工株式会社
フレキシブル多層回路基板
18日前
日東電工株式会社
積層光学フィルムの製造方法
5日前
日東電工株式会社
粘着シートおよび光半導体装置
18日前
日東電工株式会社
情報カードおよびその製造方法
1か月前
日東電工株式会社
表面保護フィルムおよびその用途
10日前
日東電工株式会社
ヒータモジュール、およびロボット
11日前
日東電工株式会社
表面保護フィルムおよび光学積層体
3日前
日東電工株式会社
ロール体およびロール体の製造方法
10日前
日東電工株式会社
反射防止フィルム及びその製造方法
26日前
日東電工株式会社
積層光学フィルムおよび画像表示装置
1か月前
日東電工株式会社
積層光学フィルムおよび画像表示装置
1か月前
日東電工株式会社
生体信号取得用粘着性電極及び生体センサ
26日前
日東電工株式会社
検査システム、検査方法及び検査プログラム
1か月前
日東電工株式会社
配線回路基板、及び配線回路基板の製造方法
1か月前
日東電工株式会社
光電混載基板、光モジュール、および、電子機器
12日前
日東電工株式会社
マイクロ波加熱装置及びマイクロ波加熱システム
1か月前
日東電工株式会社
光学フィルムの検査装置、検査方法及び製造方法
1か月前
日東電工株式会社
配線回路基板、および、配線回路基板の製造方法
1か月前
日東電工株式会社
配線回路基板、および、配線回路基板の製造方法
1か月前
日東電工株式会社
プラスチック光ファイバーの製造方法及び製造装置
1か月前
日東電工株式会社
光学積層体および該光学積層体を用いた画像表示装置
1か月前
続きを見る
他の特許を見る