TOP
|
特許
|
意匠
|
商標
特許ウォッチ
Twitter
他の特許を見る
10個以上の画像は省略されています。
公開番号
2025168060
公報種別
公開特許公報(A)
公開日
2025-11-07
出願番号
2024073186
出願日
2024-04-26
発明の名称
ホログラムの製造装置、ホログラムの製造方法、及び導光板
出願人
日東電工株式会社
代理人
弁理士法人まこと国際特許事務所
主分類
G03H
1/04 20060101AFI20251030BHJP(写真;映画;光波以外の波を使用する類似技術;電子写真;ホログラフイ)
要約
【課題】 感光層に複数のホログラムを効率的に作製するホログラムの製造装置を提供する。
【解決手段】 マスターホログラム31を有するマスター層3を有する露光部Cと、未露光の感光層11を搬送し、前記感光層11を前記露光部Cのマスター層3の第1面側に配置させる搬送部Bと、前記感光層11の第1面側から前記マスターホログラム31に対してコヒーレントな光を照射する光源Dと、を有し、前記コヒーレントな光と前記コヒーレントな光の照射によって前記マスターホログラム31から生じた回折光とを前記感光層11に透過させて露光することにより、前記マスターホログラム31の干渉縞を前記感光層11に複製する装置Aにおいて、前記マスター層3が、複数のマスターホログラム31を有し、前記光源Dが、前記マスター層3の全てのマスターホログラム31に対して同時にコヒーレントな光L11を照射する。
【選択図】 図3
特許請求の範囲
【請求項1】
マスターホログラムを有するマスター層を有する露光部と、
未露光の感光層を搬送し、前記感光層を前記露光部のマスター層の第1面側に配置させる搬送部と、
前記感光層の第1面側から前記マスターホログラムに対してコヒーレントな光を照射する光源と、を有し、
前記コヒーレントな光と前記コヒーレントな光の照射によって前記マスターホログラムから生じた回折光とを前記感光層に透過させて露光することにより、前記マスターホログラムの干渉縞を前記感光層に複製する装置において、
前記マスター層が、複数のマスターホログラムを有し、
前記光源が、前記マスター層の全てのマスターホログラムに対して同時にコヒーレントな光を照射する、ホログラムの製造装置。
続きを表示(約 1,500 文字)
【請求項2】
前記感光層が長尺帯状であり、
前記複数のマスターホログラムが、前記感光層の幅方向に複数列、前記幅方向と直交する方向である搬送方向に複数行で並べられており、
前記搬送部が、長尺帯状の感光層を長手方向に所定長さ分搬送して前記感光層の搬送を停止する、請求項1に記載のホログラムの製造装置。
【請求項3】
前記光源が、拡大及び平光化されたコヒーレントな光をトリミングするマスク部材を有し、
前記マスク部材を通過してトリミングされたトリミング光が、前記マスター層の全てのマスターホログラムに対して同時に照射され、
前記トリミング光の中心部の強度に対する前記トリミング光の縁部の強度の割合が、20%~80%である、請求項1に記載のホログラムの製造装置。
【請求項4】
前記光源が、拡大及び平光化されたコヒーレントな光をトリミングするマスク部材を有し、
前記マスク部材を通過してトリミングされたトリミング光が、前記マスター層の全てのマスターホログラムに対して同時に照射され、
前記マスク部材を通過する直前のコヒーレントな光の面積に対する前記トリミング光の有効面積の割合が、5%~60%である、請求項1に記載のホログラムの製造装置。
【請求項5】
前記光源が、前記コヒーレントな光の発振器と、光の進行方向を前記マスターホログラムに向けて変更する反射体と、をさらに有し、
前記マスク部材が、前記発振器と前記反射体の間又は前記反射体と前記感光層の間に配置されている、請求項3または4に記載のホログラムの製造装置。
【請求項6】
マスターホログラムを有するマスター層の第1面側に、未露光の感光層を搬送する搬送工程と、
前記マスター層の第1面側に前記感光層を配置した後、前記感光層の第1面側からコヒーレントな光を照射する露光工程と、を有し、
前記コヒーレントな光と前記コヒーレントな光の照射によって前記マスターホログラムから生じた回折光とを前記感光層に透過させて露光することにより、前記マスターホログラムの干渉縞を前記感光層に複製する方法において、
前記マスター層が、複数のマスターホログラムを有し、
前記露光工程において、前記マスター層の全てのマスターホログラムに対して同時に前記コヒーレントな光を照射する、ホログラムの製造方法。
【請求項7】
拡大及び平光化されたコヒーレントな光をマスク部材に通過させることによってトリミングし、前記マスク部材を通過してトリミングされたトリミング光を、前記マスター層の全てのマスターホログラムに対して同時に照射し、
前記トリミング光の中心部の強度に対する前記トリミング光の縁部の強度の割合が、20%~80%である、請求項6に記載のホログラムの製造方法。
【請求項8】
拡大及び平光化されたコヒーレントな光をマスク部材に通過させることによってトリミングし、前記マスク部材を通過してトリミングされたトリミング光を、前記マスター層の全てのマスターホログラムに対して同時に照射し、
前記マスク部材を通過する直前のコヒーレントな光の面積に対する前記トリミング光の有効面積の割合が、5%~60%であるである、請求項6に記載のホログラムの製造方法。
【請求項9】
請求項6乃至8に記載の製造方法によって製造されたホログラムを有する、導光板。
【請求項10】
請求項1乃至5のいずれかに記載の製造装置によって製造されたホログラムを有する、導光板。
発明の詳細な説明
【技術分野】
【0001】
本発明は、マスターホログラムの複製によってホログラムを製造するホログラムの製造装置及びその製造方法などに関する。
続きを表示(約 2,700 文字)
【背景技術】
【0002】
ホログラムの製造方法として、マスターホログラムを用い、マスターホログラムの干渉縞を感光層に光学的に複製する方法が知られている。
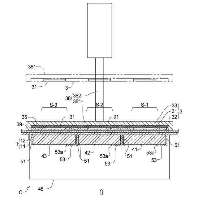
簡単に説明すると、図20に示すように、マスターホログラムを含むマスター層と前記マスター層に密着された未露光の感光層と前記感光層に密着されたガラス板とを有する積層体の、前記ガラス板側からレーザ光を照射する。レーザ光は、ガラス板及び感光層を透過してマスターホログラムに入射し、マスターホログラムにおいて回折光を生じ、回折光が感光層を透過する。前記レーザ光と回折光とが干渉して感光層を露光することにより、感光層にマスターホログラムの干渉縞が記録される。このようにして、マスターホログラムを感光層に複製できる。つまり、感光層にマスターホログラムと同様なホログラムを作製できる。
【0003】
例えば、特許文献1には、回転体の平坦部分に原版ホログラムを貼付け、原版ホログラムの上から複製用感光体フィルムを巻き付けて密着させ、回転体を複製用感光体フィルムと共に間欠的に回転させ、回転体が静止したときに原版ホログラムを再生する角度で再生光を照射し、間欠的にホログラムの情報を複製用感光体フィルムに複製する複製方法が開示されている。
【先行技術文献】
【特許文献】
【0004】
特開平5-249876号公報
【発明の概要】
【0005】
特許文献1には、複数のマスターホログラムの干渉縞(情報)を感光層に複製することや再生光の照射方法について一切開示・示唆されていない。
【発明が解決しようとする課題】
【0006】
本発明の目的は、複数のマスターホログラムを有するマスター層に、コヒーレントな光を照射して感光層に複数のホログラムを効率的に作製するホログラムの製造装置及び製造方法を提供することである。
【課題を解決するための手段】
【0007】
1つの局面では、ホログラムの製造装置を提供する。
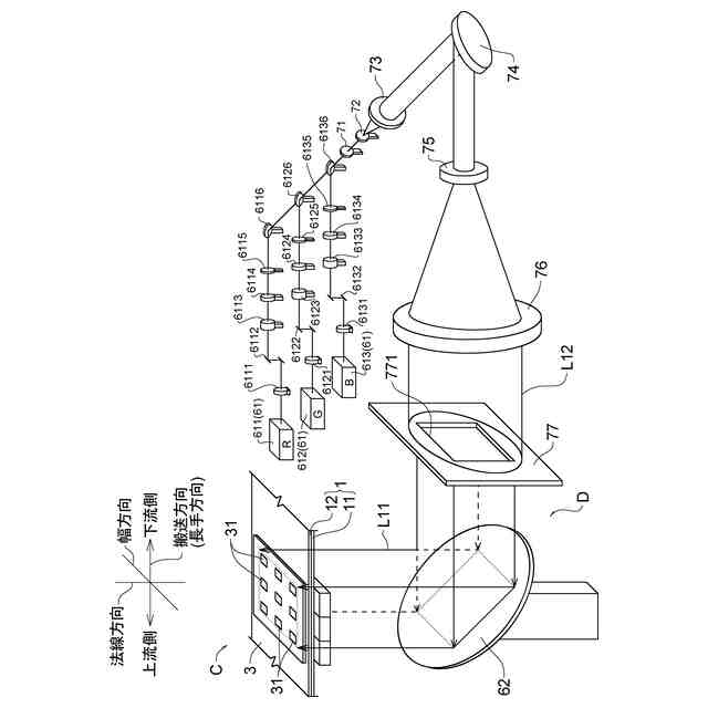
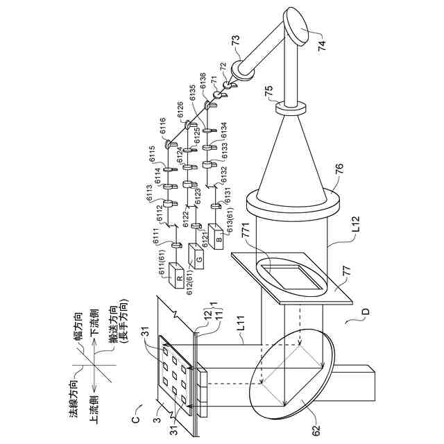
第1形態のホログラムの製造装置は、マスターホログラムを有するマスター層を有する露光部と、未露光の感光層を搬送し、前記感光層を前記露光部のマスター層の第1面側に配置させる搬送部と、前記感光層の第1面側から前記マスターホログラムに対してコヒーレントな光を照射する光源と、を有し、前記コヒーレントな光と前記コヒーレントな光の照射によって前記マスターホログラムから生じた回折光とを前記感光層に透過させて露光することにより、前記マスターホログラムの干渉縞を前記感光層に複製する装置において、前記マスター層が、複数のマスターホログラムを有し、前記光源が、前記マスター層の全てのマスターホログラムに対して同時に前記コヒーレントな光を照射する。
【0008】
第2形態のホログラムの製造装置は、上記第1形態の製造装置において、前記感光層が長尺帯状であり、前記複数のマスターホログラムが、前記感光層の幅方向に複数列、前記幅方向と直交する方向である搬送方向に複数行で並べられており、前記搬送部が、長尺帯状の感光層を長手方向に所定長さ分搬送して前記感光層の搬送を停止する。
第3形態のホログラムの製造装置は、上記第1又は第2形態の製造装置において、前記光源が、拡大し平光化されたコヒーレントな光をトリミングするマスク部材を有し、前記マスク部材を通過してトリミングされたトリミング光が、前記マスター層の全てのマスターホログラムに対して同時に照射され、前記トリミング光の中心部の強度に対する前記トリミング光の縁部の強度の割合が、20%~80%である。
第4形態のホログラムの製造装置は、上記第1乃至第3形態のいずれかの製造装置において、前記光源が、拡大及び平光化されたコヒーレントな光をトリミングするマスク部材を有し、前記マスク部材を通過してトリミングされたトリミング光が、前記マスター層の全てのマスターホログラムに対して同時に照射され、前記マスク部材を通過する直前のコヒーレントな光の面積に対する前記トリミング光の有効面積の割合が、5%~60%である。
第5形態のホログラムの製造装置は、上記第3又は第4形態の製造装置において、前記光源が、前記コヒーレントな光の発振器と、光の進行方向を前記マスターホログラムに向けて変更する反射体と、をさらに有し、前記マスク部材が、前記発振器と前記反射体の間又は前記反射体と前記感光層の間に配置されている。
【0009】
別の局面では、ホログラムの製造方法を提供する。
第6形態のホログラムの製造方法は、マスターホログラムを有するマスター層の第1面側に、未露光の感光層を搬送する搬送工程と、前記マスター層の第1面側に前記感光層を配置した後、前記感光層の第1面側からコヒーレントな光を照射する露光工程と、を有し、前記コヒーレントな光と前記コヒーレントな光の照射によって前記マスターホログラムから生じた回折光とを前記感光層に透過させて露光することにより、前記マスターホログラムの干渉縞を前記感光層に複製する方法において、前記マスター層が、複数のマスターホログラムを有し、前記露光工程において、前記マスター層の全てのマスターホログラムに対して同時に前記コヒーレントな光を照射する。
【0010】
第7形態のホログラムの製造方法は、上記第6形態の製造方法において、拡大及び平光化されたコヒーレントな光をマスク部材に通過させることによってトリミングし、前記マスク部材を通過してトリミングされたトリミング光を、前記マスター層の全てのマスターホログラムに対して同時に照射し、前記トリミング光の中心部の強度に対する前記トリミング光の縁部の強度の割合が、20%~80%である。
第8形態のホログラムの製造方法は、上記第6又は第7形態の製造方法において、拡大及び平光化されたコヒーレントな光をマスク部材に通過させることによってトリミングし、前記マスク部材を通過してトリミングされたトリミング光を、前記マスター層の全てのマスターホログラムに対して同時に照射し、前記マスク部材を通過する直前のコヒーレントな光の面積に対する前記トリミング光の有効面積の割合が、5%~60%である。
【発明の効果】
(【0011】以降は省略されています)
この特許をJ-PlatPat(特許庁公式サイト)で参照する
関連特許
日東電工株式会社
導光部材
1か月前
日東電工株式会社
ロボット
10日前
日東電工株式会社
シート体
1か月前
日東電工株式会社
粘着シート
1か月前
日東電工株式会社
光学積層体
1か月前
日東電工株式会社
粘着シート
1か月前
日東電工株式会社
粘着シート
17日前
日東電工株式会社
光学積層体
2日前
日東電工株式会社
光学積層体
2日前
日東電工株式会社
光学積層体
2日前
日東電工株式会社
粘着シート
1か月前
日東電工株式会社
配線回路基板
1か月前
日東電工株式会社
補強フィルム
9日前
日東電工株式会社
配線回路基板
1か月前
日東電工株式会社
パッチアンテナ
10日前
日東電工株式会社
パッチアンテナ
10日前
日東電工株式会社
表面保護シート
1か月前
日東電工株式会社
ロール体の製造方法
17日前
日東電工株式会社
多孔質ポリマーシート
17日前
日東電工株式会社
分離機能層、及び分離膜
1か月前
日東電工株式会社
光半導体素子封止用シート
1か月前
日東電工株式会社
フレキシブル多層回路基板
17日前
日東電工株式会社
ポリマー粒子およびその利用
1か月前
日東電工株式会社
積層光学フィルムの製造方法
4日前
日東電工株式会社
粘着シートおよび光半導体装置
17日前
日東電工株式会社
情報カードおよびその製造方法
1か月前
日東電工株式会社
表面保護フィルムおよびその用途
9日前
日東電工株式会社
ヒータモジュール、およびロボット
10日前
日東電工株式会社
表面保護フィルムおよび光学積層体
2日前
日東電工株式会社
ロール体およびロール体の製造方法
9日前
日東電工株式会社
反射防止フィルム及びその製造方法
25日前
日東電工株式会社
積層光学フィルムおよび画像表示装置
1か月前
日東電工株式会社
積層光学フィルムおよび画像表示装置
1か月前
日東電工株式会社
架橋ポリマー、分離機能層、及び分離膜
1か月前
日東電工株式会社
生体信号取得用粘着性電極及び生体センサ
25日前
日東電工株式会社
配線回路基板、及び配線回路基板の製造方法
1か月前
続きを見る
他の特許を見る