TOP
|
特許
|
意匠
|
商標
特許ウォッチ
Twitter
他の特許を見る
公開番号
2025170419
公報種別
公開特許公報(A)
公開日
2025-11-18
出願番号
2025146212,2022525771
出願日
2025-09-03,2020-09-23
発明の名称
ボックスインボックスパッケージ
出願人
アルトリア クライアント サーヴィシーズ リミテッド ライアビリティ カンパニー
代理人
弁理士法人IPX
主分類
B65D
85/10 20060101AFI20251111BHJP(運搬;包装;貯蔵;薄板状または線条材料の取扱い)
要約
【課題】ヒンジ蓋を開く際に内箱の中の消費財へ容易にアクセスでき、かつ安価な製造プロセスとなるボックスインボックスパッケージを提供する。
【解決手段】硬質内箱106は、箔押し板紙からなり、前壁、後壁、上壁、下壁、および側壁を含み、単一の開口部110が上壁を横断し前壁の一部まで延在し、開口部は、箔押し板紙における切抜きである。パッケージは、バリアによりフレーバ特性の損失を改善し、開口部を覆う再封可能なプルタブを排除する簡略化された開口部配置とし、パッケージに収容される製品のより優れた物理的保護と行う。プルタブの材料や再封可能なプルタブを備えるパッケージの製造に必要な特殊な機械および製造プロセス、を排除する。
【選択図】図1
特許請求の範囲
【請求項1】
ボックスインボックスパッケージであって、
硬質外箱と、硬質内箱と、を備え、
前記硬質外箱は、箔押し板紙からなり、前記外箱の内部容積へのアクセスを提供するように構成されるヒンジ蓋を含み、
前記硬質内箱は、箔押し板紙からなり、前壁、後壁、上壁、下壁、および側壁を含み、ここで、単一の開口部が前記上壁を横断し前記前壁の一部まで延在し、前記開口部は、前記内箱の内部容積における消費財へのアクセスを提供するように構成され、
前記内箱の前記開口部は、前記箔押し板紙に切抜きを含むように構成される、もの。
続きを表示(約 880 文字)
【請求項2】
請求項1に記載のボックスインボックスパッケージにおいて、
前記箔押し板紙は、箔層を含み、
前記箔層は、紙層と板紙層の間にあるように構成され、
前記紙層の外面が前記箔層の内面に第1接着層で接着され、前記板紙層の内面が前記箔層の外面に第2接着層で接着されるように構成される、もの。
【請求項3】
請求項2に記載のボックスインボックスパッケージにおいて、
前記板紙層の外面にポリプロピレン層をさらに備える、もの。
【請求項4】
請求項3に記載のボックスインボックスパッケージにおいて、
前記ポリプロピレン層は、ポリプロピレンフィルムを備える、もの。
【請求項5】
請求項2に記載のボックスインボックスパッケージにおいて、
前記板紙層の外面にポリエステル層をさらに備える、もの。
【請求項6】
請求項5に記載のボックスインボックスパッケージにおいて、
前記ポリエステル層は、金属化ポリエステル材料を備える、もの。
【請求項7】
請求項2に記載のボックスインボックスパッケージにおいて、
前記板紙層は、硫酸塩漂白固体(Solid Bleached Sulfate: SBS)ボードストックを備える、もの。
【請求項8】
請求項2に記載のボックスインボックスパッケージにおいて、
前記第1接着層は、ケイ酸ナトリウムを備える、もの。
【請求項9】
請求項2に記載のボックスインボックスパッケージにおいて、
前記内箱には、消費財が収容され、
前記内箱の前記紙層は、前記内箱に前記消費財と直接接触するように構成される、もの。
【請求項10】
請求項2に記載のボックスインボックスパッケージにおいて、
前記内箱は、前方パネル、上方パネル、後方パネル、および下方パネルを備える、もの。
(【請求項11】以降は省略されています)
発明の詳細な説明
【技術分野】
【0001】
本発明は、消費財のパッケージに関し、特に喫煙用物品のパッケージに関する。
続きを表示(約 2,400 文字)
【背景技術】
【0002】
消費財の包装には、さまざまな工夫が凝らされている。例えば、タバコの場合、パッケージは消費財の風味と鮮度を維持するとともに、汚染から消費財を保護するように設計されている。既知のパッケージは、消費財にアクセスするための開口部を備える内部容器へのアクセスを提供するヒンジ式蓋を有する外部容器を採用している。外部容器は、一般に、硬質板紙、厚紙、または他の適切な材料で形成される。内部容器は、一般に、外部容器よりも実質的に低い剛性を有する材料または材料の組合せで形成される。例えば、内部容器は、板紙、梱包材、紙、および/またはアルミニウムで形成されることが知られている。既知の設計では、密封および再封用の粘着性物質を有するラベルは、内部容器の開口部を覆うために使用されることができる。
【発明の概要】
【0003】
一実施例では、ボックスインボックスパッケージであって、硬質外箱と、硬質内箱と、を備える。前記硬質外箱は、箔押し板紙からなり、前記外箱の内部容積へのアクセスを提供するように構成されるヒンジ蓋を含む。前記硬質内箱は、箔押し板紙からなり、前壁、後壁、上壁、下壁、および側壁を含み、ここで、単一の開口部が前記上壁を横断し前記前壁の一部まで延在し、前記開口部は、前記内箱の内部容積における消費財へのアクセスを提供するように構成される。前記内箱の前記開口部は、前記箔押し板紙にダイカット開口部を含むように構成される。
【0004】
本明細書に記載のいくつかの例示的な実施形態はボックスインボックスパッケージに関し、前記箔押し板紙は、紙層と板紙層の間に箔層を含み、前記紙層の外面が前記箔層の内面に第1接着層で接着され、前記板紙層の内面が前記箔層の外面に第2接着層で接着されるように構成され、前記板紙層の外面にポリプロピレン層をさらに備え、前記ポリプロピレン層はポリプロピレンフィルムを備え、前記板紙層の外面にポリエステル層をさらに備え、前記ポリエステル層は、金属化ポリエステル材料を備え、前記板紙層は、硫酸塩漂白固体(Solid Bleached Sulfate: SBS)ボードストックを備え、前記第1接着層はケイ酸ナトリウムを備え、前記内箱には消費財が収容され、前記内箱の前記紙層は前記内箱に前記消費財と直接接触するように構成される。
【0005】
いくつかの例示的な実施形態において、前記内箱は、前方パネル、上方パネル、後方パネル、および下方パネルを備え、前記内箱は側方パネルをさらに備え、前記前方パネルは上前方パネルと下前方パネルとを備え、前記内箱は前記内箱の前記紙層および前記外箱の前記紙層と直接接触するタバコを収容するように構成され、前記内箱は、上前方パネルと、後方パネルと、下方パネルと、下前方パネルと、を備え、前記上前方パネルは、第1横折り線によって上方パネルから分離されるように構成され、前記後方パネルは、第2横折り線によって前記上方パネルから分離されるように構成され、前記下方パネルは、第3横折り線によって前記後方パネルから分離されるように構成され、前記下前方パネルは、第4横折り線によって前記下方パネルから分離されるように構成され、前記内箱は、第1側方パネルと、第2側方パネルと、を備え、前記第1側方パネルは、第1長手方向折り目線によって前記後方パネルから分離されるように構成され、前記第2側方パネルは、第2長手方向折り目線によって前記後方パネルから分離されるように構成される。
【0006】
いくつかの例示的な実施形態において、ボックスブランクはボックスインボックスパッケージを形成するように構成され、ここで、前記ボックスブランクは、箔押し板紙からなり、前記箔押し板紙は、紙層と、箔層と、板紙層と、を備え、前記紙層の外面が前記箔層の内面に接着され、前記板紙層の内面が前記箔層の外面に接着され、前記箔層の前記内面が前記紙層の前記外面に第1接着層で接着され、前記板紙層の前記内面が前記箔層の前記外面に第2接着層で接着されるように構成される。前記ボックスブランクは、前記板紙層の外面にポリプロピレン層をさらに備えてもよく、前記板紙層の外面にポリエステル層をさらに備えてもよい。前記板紙層は、硫酸塩漂白固体(Solid Bleached Sulfate: SBS)ボードストックを備えてもよく、前記第2層は、前記箔層と前記紙層との間に珪酸ナトリウムをさらに備える。前記ボックスブランクは、折り線を備えてもよく、前記折り線は、本体部と蓋部のパネルを形成するように構成され、前記本体部は、前方パネル、下方パネル、後方パネル、側方パネル、およびダストフラップを備え、前記蓋部は、前方パネル、上方パネル、後方パネル、側方パネル、およびダストフラップを備える。
【0007】
さらなる例示的な実施形態において、外箱および内箱の箔押し板紙は、板紙を備える第1層と、紙層および箔層を備える第2層と、前記第1層と前記第2層とを接着する接着剤層と、を備え、ここで、前記箔層は前記板紙と前記紙層との間にある。
【図面の簡単な説明】
【0008】
本開示の範囲は、添付の図面と併せて読むことにより、以下の実施形態の詳細な説明から最もよく理解される。
【0009】
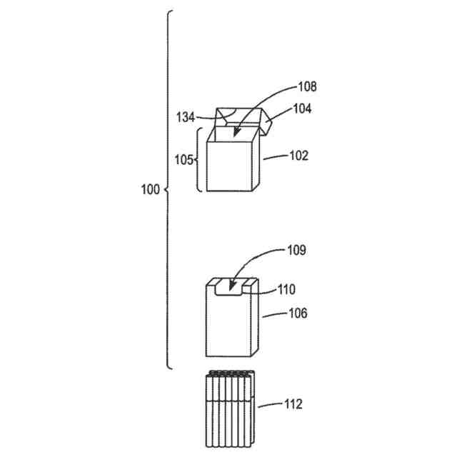
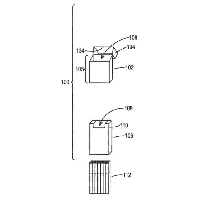
図1は、ボックスインボックスのパッケージを示す図であり、ここで、外箱のヒンジ蓋が開き、内箱における消費財へのアクセスが、内箱の上部にある切抜きを通して得られる。
【0010】
図2は、本開示の一実施形態に係る容器の外箱ブランクの平面図である。
(【0011】以降は省略されています)
この特許をJ-PlatPat(特許庁公式サイト)で参照する
関連特許
個人
収容箱
4か月前
個人
束ね具
7日前
個人
コンベア
5か月前
個人
段ボール箱
7か月前
個人
ゴミ収集器
7か月前
個人
容器
10か月前
個人
段ボール箱
7か月前
個人
バンド
2か月前
個人
楽ちんハンド
5か月前
個人
宅配システム
7か月前
個人
角筒状構造体
6か月前
個人
テープ引出機
7日前
個人
土嚢運搬器具
9か月前
個人
コード類収納具
9か月前
個人
包装容器
2か月前
個人
閉塞装置
10か月前
個人
廃棄物収容容器
3か月前
個人
棒状体収容容器
11日前
個人
お薬の締結装置
6か月前
個人
ゴミ処理機
9か月前
個人
蓋閉止構造
4か月前
個人
蓋閉止構造
4か月前
個人
貯蔵サイロ
7か月前
個人
把手付米袋
5か月前
株式会社和気
包装用箱
9か月前
株式会社バンダイ
物品
1か月前
個人
積み重ね用補助具
3か月前
株式会社コロナ
梱包材
6か月前
株式会社和気
包装用箱
21日前
個人
搬送システム
7か月前
個人
袋入り即席麺
8か月前
三甲株式会社
容器
25日前
個人
包装箱
10か月前
株式会社新弘
容器
3か月前
三甲株式会社
蓋体
10か月前
株式会社ナベル
検査装置
19日前
続きを見る
他の特許を見る