TOP
|
特許
|
意匠
|
商標
特許ウォッチ
Twitter
他の特許を見る
公開番号
2025169825
公報種別
公開特許公報(A)
公開日
2025-11-14
出願番号
2024074994
出願日
2024-05-02
発明の名称
取付ブロック、壁面収納ユニット及び平面収納ユニット
出願人
株式会社創和
代理人
個人
主分類
A47G
29/00 20060101AFI20251107BHJP(家具;家庭用品または家庭用設備;コーヒーひき;香辛料ひき;真空掃除機一般)
要約
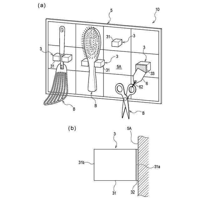
【課題】本発明は、収納する対象物の形状や大きさにかかわらず、容易に壁面に収納することが可能な取付ブロック及び取付ブロックを用いた壁面収納ユニットを提供する。また、平面収納する対象物の形状や大きさにかかわらず、対象物の位置ずれを抑えて配置することが可能な取付ブロック及び取付ブロックを用いた平面収納ユニットを提供する。
【解決手段】ブロック本体31と、ブロック本体31を壁面5Aに取り付ける粘着層32と、を有する取付ブロック3であって、壁面5Aに取り付けられたブロック本体31は、物品Bを、壁面5Aに対して保持等するものである。また、ブロック本体31と、ブロック本体31を平面9Aに取り付ける粘着層32とを有する第2の取付ブロック3’であって、平面9Aに取り付けられたブロック本体31は、平面9A上において、物品Bを位置決めするものである。
【選択図】図1
特許請求の範囲
【請求項1】
ブロック本体と、該ブロック本体を壁面に取り付ける取付部と、を有する取付ブロックであって、
前記壁面に取り付けられた前記ブロック本体は、対象物を、該壁面に対して、吊り下げ、引っ掛け、支持、或いは保持するものであることを特徴とする取付ブロック。
続きを表示(約 540 文字)
【請求項2】
ブロック本体と、該ブロック本体を平面に取り付ける取付部とを有する取付ブロックであって、
前記平面に取り付けられた前記ブロック本体は、該平面上において、対象物を位置決めするものであることを特徴とする取付ブロック。
【請求項3】
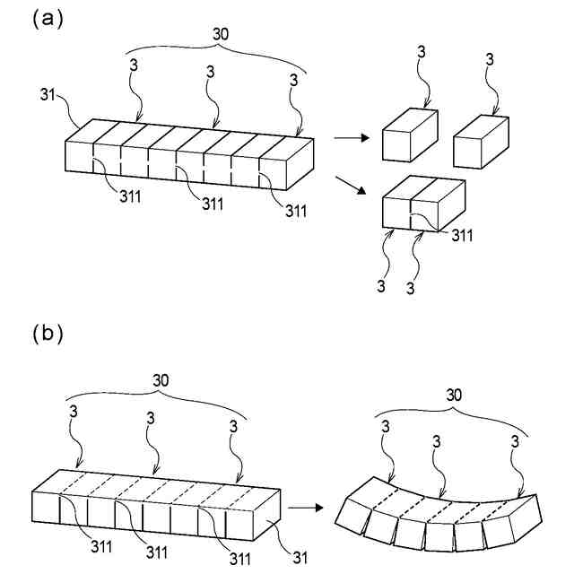
前記ブロック本体は、手で切り離すことが可能な連結部を介して複数連結され、該連結部を切り離して単独で使用する単独使用態様と、該連結部によって連結された複数個で使用する複数使用態様とが可能なものであることを特徴とする請求項1又は2記載の取付ブロック。
【請求項4】
前記ブロック本体における、前記取付部とは反対側の面には、多数のフックが表面に形成されたシート部材が取り付けられたものであることを特徴とする請求項1又は2記載の取付ブロック。
【請求項5】
請求項1記載の取付ブロックと、
前記取付ブロックを取り付ける前記壁面を有するボードと、を備えたものであることを特徴とする壁面収納ユニット。
【請求項6】
請求項2記載の取付ブロックと、
前記取付ブロックを取り付ける前記平面を有するボードと、を備えたものであることを特徴とする平面収納ユニット。
発明の詳細な説明
【技術分野】
【0001】
本発明は、壁面収納や平面収納に用いられる取り付けブロック、この取付ブロックを用いた壁面収納ユニット及び平面収納ユニットに関する。
続きを表示(約 1,800 文字)
【背景技術】
【0002】
キッチンや浴室、机や家具等の各種の壁面に設けられる壁面収納が利用されている。この壁面収納は、スペースを有効活用できるとともに、すっきりと収納できデザイン性にも優れるため、特に近年は様々な場所や用途で利用されている(例えば、特許文献1や特許文献2等参照)。
【0003】
特許文献1記載の壁面収納は、第1の面ファスナー部材を有する着脱式収納ポケットが、机の壁面等に設けられた第2の面ファスナー部材に対して着脱可能なものである。また、特許文献2記載の壁面収納は、ボードの壁面に対して、各種袋体を自由な位置に貼り付けることにより、この袋体に物品を収容できるものである。これら特許文献1や特許文献2記載の壁面収納によれば、机やボードの壁面における所望の位置に、収納ポケットや袋体を配置することができ、使い勝手を向上させることができる。
【0004】
また、引出しの中を整理整頓する仕切り板やトレー等も提案されている(例えば、特許文献3や特許文献4等参照)。特許文献3記載の仕切り板は、引出し本体の短辺部と平行な姿勢で引出し本体に装着できる長さに統一されていると共に、2つの広幅面の少なくとも一方に、2枚の仕切り板を平面視T形の姿勢で嵌合させることを許容する第1嵌合部が形成されている。また、引出し本体には、複数枚の仕切り板を少なくとも平面視T形の姿勢にして装着できる第2嵌合部が形成されている。これにより、引出し本体の内部を縦横に仕切ることができ、仕切り態様を多様化することができる。さらに、各仕切り板は1種類で足り、コスト抑制に貢献できると共に、仕切り板の管理の手間も軽減することができる。
【0005】
また、特許文献4記載のトレーは、本体トレーと、この本体トレーにスライド可能に係合されるスライドトレーを有するものであり、スライド位置の自由度が高く、引出し内の使い勝手を向上させようとするものである。
【先行技術文献】
【特許文献】
【0006】
実用新案登録第3214573号公報
特開2023-069971号公報
特開2015-223189号公報
特開2021-013577号公報
【発明の概要】
【発明が解決しようとする課題】
【0007】
しかしながら、特許文献1記載の壁面収納も特許文献2記載の壁面収納も、収納ポケットや袋体の位置を所望の位置に配置できるものの、収納する物品が、収納ポケットや袋体の形態に限定されてしまい、例えば長尺の物品などは収納が難しい場合もある。また、特許文献3記載の仕切り板や特許文献4記載のトレーは、引出しの中の整理には便利なものである。しかしながら、引出しを出し入れする際の動き等によって、仕切りで仕切られたスペースやトレーの仕切られたスペースに収容されている物品の不用意な動きを抑えることが難しい。このため、引出しの中で物品の位置がずれて見た目が損なわれたり、場合によっては物品が損傷してしまう虞もある。
【0008】
本発明は前記事情に鑑み、収納する対象物(物品)の形状や大きさにかかわらず、容易に壁面に収納することが可能な取付ブロック及び取付ブロックを用いた壁面収納ユニットを提供することを目的とする。また、引出し内等に平面収納する対象物の形状や大きさにかかわらず、対象物の位置ずれを抑えて配置することが可能な取付ブロック及び取付ブロックを用いた平面収納ユニットを提供することを目的とする。
【課題を解決するための手段】
【0009】
前記目的を解決する本発明の第1の取付ブロックは、ブロック本体と、該ブロック本体を壁面に取り付ける取付部と、を有する取付ブロックであって、
前記壁面に取り付けられた前記ブロック本体は、対象物を、該壁面に対して、吊り下げ、引っ掛け、支持、或いは保持するものであることを特徴とする。
【0010】
ここで、本願の明細書及び特許請求の範囲において、壁面収納や壁面に収納するとは、壁面に対して、前記対象物(物品)を、吊り下げ、引っ掛け、支持、或いは保持することを含む概念である。
(【0011】以降は省略されています)
この特許をJ-PlatPat(特許庁公式サイト)で参照する
関連特許
株式会社創和
洗浄部材
2か月前
株式会社創和
洗浄用スポンジ
1か月前
株式会社創和
ボックス状洗濯ネット
2か月前
株式会社創和
取付ブロック、壁面収納ユニット及び平面収納ユニット
4日前
個人
箸
1か月前
個人
椅子
2か月前
個人
家具
4か月前
個人
掃除機
8か月前
個人
自助箸
7か月前
個人
枕
8か月前
個人
掃除用具
3か月前
個人
ソファー
2か月前
個人
枕
5か月前
個人
屋外用箒
7か月前
個人
多用途紐
1か月前
個人
体洗い具
10か月前
個人
耳拭き棒
11か月前
個人
ハンガー
7か月前
個人
掃除道具
8か月前
個人
物品
3か月前
個人
片手代替具
11か月前
個人
掃除シート
9か月前
個人
開閉トング
6か月前
個人
組立式棚板
7か月前
個人
省煙消臭器
8か月前
個人
エコ掃除機
12か月前
個人
バターナイフ
1か月前
個人
洗面台
10か月前
個人
転倒防止装置
5か月前
個人
ゴミ袋保持枠
7か月前
個人
受け皿
5か月前
個人
紙コップ 蓋
2か月前
個人
シャワー装置
6か月前
個人
経典表示装置
4か月前
個人
靴ベラ
2か月前
個人
中身のない枕
7か月前
続きを見る
他の特許を見る