TOP
|
特許
|
意匠
|
商標
特許ウォッチ
Twitter
他の特許を見る
公開番号
2025139510
公報種別
公開特許公報(A)
公開日
2025-09-26
出願番号
2024038494
出願日
2024-03-12
発明の名称
洗浄用スポンジ
出願人
株式会社創和
代理人
個人
主分類
A47L
13/16 20060101AFI20250918BHJP(家具;家庭用品または家庭用設備;コーヒーひき;香辛料ひき;真空掃除機一般)
要約
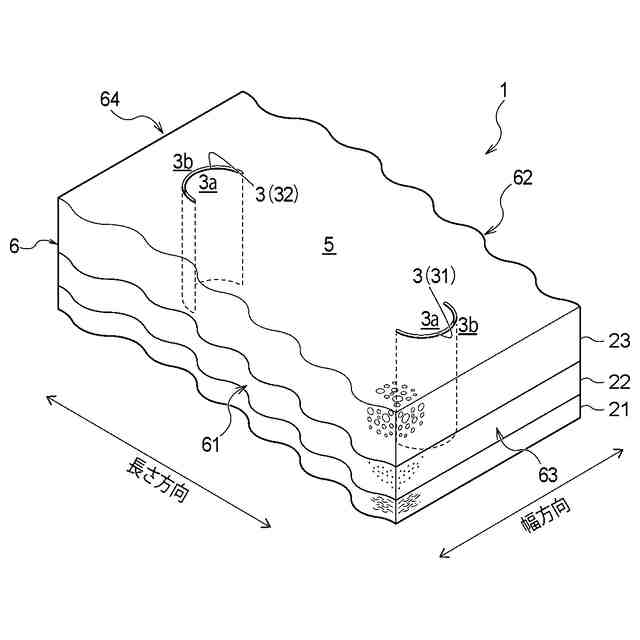
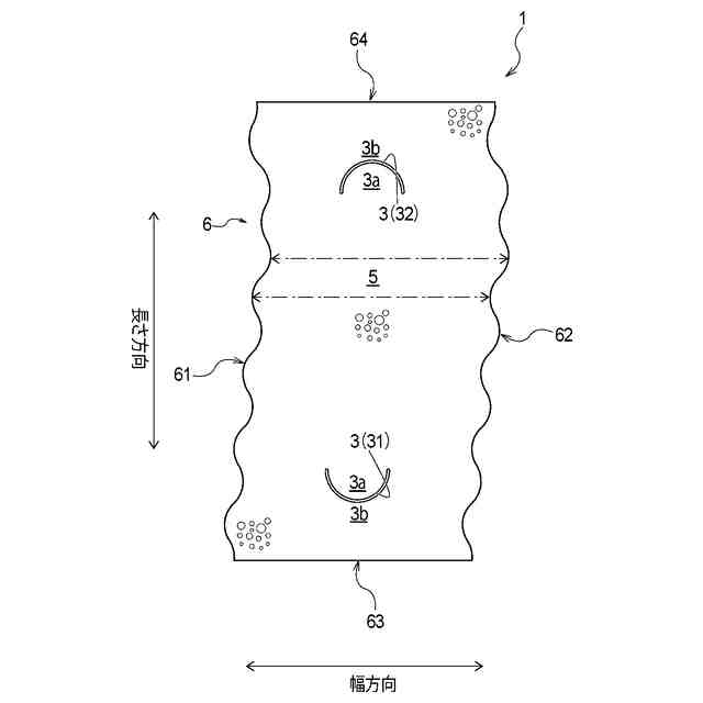
【課題】本発明は、高齢者や手の不自由な者など握力等が十分でない者であっても、安全で使いやすく、優れたユニバーサルデザインとしての洗浄用スポンジを提供する。
【解決手段】洗浄面となる平らなおもて面4と、おもて面4の裏側となる裏面5と、おもて面4と裏面5とをつなげる側面部6と、を備えたブロック状の洗浄用スポンジ1において、裏面5は、指先の形状に対応した平面視円弧状の切込3を有するものであり、切込3は、指先を食い込ませることが可能なものである。また、切込3は、裏面5からおもて面4まで貫通して形成されたものであってもよい。
【選択図】図1
特許請求の範囲
【請求項1】
洗浄面となる平らなおもて面と、
前記おもて面の裏側となる裏面と、
前記おもて面と前記裏面とをつなげる側面部と、を備えたブロック状の洗浄用スポンジにおいて、
前記裏面は、指先の形状に対応した平面視円弧状の切込を有するものであり、
前記切込は、指先を食い込ませることが可能なものであることを特徴とする洗浄用スポンジ。
続きを表示(約 390 文字)
【請求項2】
前記切込は、前記裏面から前記おもて面まで貫通して形成されたものであることを特徴とする請求項1記載の洗浄用スポンジ。
【請求項3】
前記切込は、平面視円弧状の凸側を互いに外側に向けて円弧の端部が対向するように一対形成されたものであることを特徴とする請求項1又は2記載の洗浄用スポンジ。
【請求項4】
前記側面部は、互いに対向する状態に設けられ、波形形状に形成された一対の把持部を有するものであることを特徴とする請求項1又は2記載の洗浄用スポンジ。
【請求項5】
前記側面部は、互いに対向する状態に設けられた一対の把持部を有するものであり、
前記一対の把持部のうちの一方は、凹状に湾曲するものであり、該一対の把持部のうちの他方は、凸状に湾曲するものであることを特徴とする請求項1又は2記載の洗浄用スポンジ。
発明の詳細な説明
【技術分野】
【0001】
本発明は、食器用スポンジなどの洗浄用スポンジに関する。
続きを表示(約 1,900 文字)
【背景技術】
【0002】
キッチンにおいて食器などの洗い物をする食器用スポンジや、浴室の洗浄に用いるバススポンジなど、使用場所や洗浄する対象などに適した各種の洗浄用スポンジが用いられている。これらの洗浄用スポンジにおいては、しっかりと楽に掴むことができる工夫が各種なされている(例えば、特許文献1等参照)。
【0003】
特許文献1記載の洗浄用スポンジは、ブロック状のスポンジにおける側面から内側に向かって上下方向に貫通して切り込まれる切込部と、この切込部の終端に、上下方向に貫通する貫通孔を備えるものである。特許文献1記載の洗浄用スポンジによれば、切込部から人差し指を挿入して切込部の貫通孔に指の腹を掛け、残りの指で側面部分を掴んで洗浄することができる。これにより、洗浄用スポンジをしっかりと楽に掴んで洗浄できるようにすることを狙っている。
【先行技術文献】
【特許文献】
【0004】
特開2015-53969号公報
【発明の概要】
【発明が解決しようとする課題】
【0005】
しかしながら、特許文献1記載の洗浄用スポンジにおいては、十分に握力がある者にとっては、しっかりと掴むことが可能であるものの、高齢者や手の不自由な者など握力等が十分でない者にとっては、切込部から指が抜けてしまい、かえって洗浄用スポンジを掴む状態が安定しない場合がある。さらに、洗浄面にも貫通孔が形成されているため、この貫通孔に挿入した指の先が、洗浄用スポンジの洗浄面側に突出してしまい、洗浄作業の妨げになったり、ときには指先を傷めてしまう虞もある。特に昨今は、いわゆるユニバーサルデザインといった、年齢や障がいの有無などにかかわらず、安全で使いやすいデザインが提唱されている。このため、洗浄用スポンジにおいても、十分に握力がある者に使いやすいことはもちろんのこと、高齢者や障害のある者など握力等が十分でない者にも優しい、安全で使いやすいものが望まれている。
【0006】
本発明は前記事情に鑑み、高齢者や手の不自由な者など握力等が十分でない者であっても、安全で使いやすく、優れたユニバーサルデザインとしての洗浄用スポンジを提供することを目的とする。
【課題を解決するための手段】
【0007】
前記目的を解決する本発明の洗浄用スポンジは、洗浄面となる平らなおもて面と、
前記おもて面の裏側となる裏面と、
前記おもて面と前記裏面とをつなげる側面部と、を備えたブロック状の洗浄用スポンジにおいて、
前記裏面は、指先の形状に対応した平面視円弧状の切込を有するものであり、
前記切込は、指先を食い込ませることが可能なものであることを特徴とする。
【0008】
ここで、前記洗浄用スポンジは、その用途は特に限定されるものではない。例えば、食器等を洗浄する食器用スポンジであってもよいし、浴室を洗浄するバススポンジであってもよい。また、袖や襟汚れの予洗い用のスポンジ、エアコンフィルターや網戸のメッシュ生地等を掃除するスポンジ、あるいは玄関タイル、壁面タイル、ベランダ等を洗浄するスポンジ、鏡や蛇口の汚れを落とすスポンジであってもよい。
【0009】
また、前記切込は、指先の形状に対応する形状であればよく、平面視半円状や、平面視U字状等の円弧と直線とを組み合わせたものであってもよい。さらに、前記洗浄用スポンジは、洗浄面となる平らな前記おもて面と前記裏面とを備えたブロック状のものであればその形態は特に限定されるものではない。例えば、直方体、立方体、円柱体、楕円柱体、あるいは平面視において半円と矩形とを組み合わせたブロック状のもの等であってもよい。またさらに、前記裏面も洗浄面として利用可能なものであってもよい。
【0010】
本発明の洗浄用スポンジは、指先の形状に対応した平面視円弧状の前記切込に指を食い込ませて使用する。具体的には、前記切込の内側部分(例えば半円形の部分)を押し込むことによって、この押し込んだ部分に指の腹や指先をかけることができ、力が入りやすくなる。また、前記切込の内側部分を押し込んだ指の先端側は、該切込の外側部分の壁部で囲まれることになるため、高齢者や手の不自由な者など握力等が十分でない者も、指が抜けてしまうといった不具合が生じにくい。さらに、前記切込の内側部分を指で押し込むことになるため、洗浄面となる前記おもて面から指先が突出してしまう虞も少ない。
(【0011】以降は省略されています)
この特許をJ-PlatPat(特許庁公式サイト)で参照する
関連特許
株式会社創和
泡立具
4か月前
株式会社創和
洗浄部材
2か月前
株式会社創和
洗浄用スポンジ
1か月前
株式会社創和
ボックス状洗濯ネット
2か月前
株式会社創和
取付ブロック、壁面収納ユニット及び平面収納ユニット
7日前
個人
箸
1か月前
個人
家具
4か月前
個人
椅子
3か月前
個人
自助箸
7か月前
個人
掃除機
8か月前
個人
体洗い具
10か月前
個人
ソファー
2か月前
個人
屋外用箒
7か月前
個人
ハンガー
7か月前
個人
耳拭き棒
11か月前
個人
多用途紐
1か月前
個人
枕
8か月前
個人
掃除道具
8か月前
個人
掃除用具
3か月前
個人
枕
5か月前
個人
省煙消臭器
8か月前
個人
開閉トング
6か月前
個人
物品
3か月前
個人
掃除シート
9か月前
個人
片手代替具
11か月前
個人
組立式棚板
7か月前
個人
シャワー装置
6か月前
個人
中身のない枕
7か月前
個人
バターナイフ
1か月前
個人
洗面台
10か月前
個人
転倒防止装置
5か月前
個人
ゴミ袋保持枠
7か月前
個人
経典表示装置
4か月前
個人
受け皿
5か月前
個人
紙コップ 蓋
2か月前
個人
靴ベラ
2か月前
続きを見る
他の特許を見る