TOP
|
特許
|
意匠
|
商標
特許ウォッチ
Twitter
他の特許を見る
10個以上の画像は省略されています。
公開番号
2025169753
公報種別
公開特許公報(A)
公開日
2025-11-14
出願番号
2024074808
出願日
2024-05-02
発明の名称
性能情報収集プログラム、性能情報収集方法、及び情報処理装置
出願人
富士通株式会社
代理人
弁理士法人真田特許事務所
,
個人
主分類
G06F
11/34 20060101AFI20251107BHJP(計算;計数)
要約
【課題】情報処理装置が性能情報を計測及び送信する負担を軽減する。
【解決手段】性能分析の対象の情報処理装置100は、性能分析の対象である情報処理装置100において実行される複数のプロセス4のそれぞれに関連する関連情報30の値を取得し、複数のプロセス4のそれぞれについて取得された関連情報30の値をそれぞれ、ハッシュ関数40に入力することによって複数のプロセス4のそれぞれについてハッシュ値50を算出し、複数のプロセス4に含まれる第1のプロセス4-1と第2のプロセス4-3とにおいてそれぞれ算出されたハッシュ値50が一致する場合には、第1のプロセスの実行状態において計測された第1の性能情報7-1と少なくとも一部が異なる第2の性能情報72を第2のプロセス4-3の実行状態において計測する。
【選択図】図9
特許請求の範囲
【請求項1】
性能分析の対象である情報処理装置において実行される複数のプロセスのそれぞれに関連する関連情報の値を取得し、
前記複数のプロセスのそれぞれについて取得された前記関連情報の値をそれぞれ、ハッシュ関数に入力することによって前記複数のプロセスのそれぞれについてハッシュ値を算出し、
前記複数のプロセスに含まれる第1のプロセスと第2のプロセスとにおいてそれぞれ算出された前記ハッシュ値が一致する場合には、前記第1のプロセスの実行状態において計測された第1の性能情報と少なくとも一部が異なる第2の性能情報を前記第2のプロセスの実行状態において計測する、
処理をコンピュータに実行させる、性能情報収集プログラム。
続きを表示(約 1,200 文字)
【請求項2】
複数の前記関連情報について、取得された前記関連情報毎に異なるハッシュ関数が予め定められる、
請求項1に記載の性能情報収集プログラム。
【請求項3】
複数の前記関連情報に対して、それぞれ優先度が設定されており、
前記複数の前記関連情報において、前記優先度に応じて選択される一部の関連情報について前記ハッシュ値が前記第1のプロセスと前記第2のプロセスとにおいて一致する場合には、複数の前記関連情報の残りについての前記第1のプロセスと前記第2のプロセスとにおける前記ハッシュ値の比較を省略し、前記第2の性能情報を前記第2のプロセスの実行状態において計測する、
請求項2に記載の性能情報収集プログラム。
【請求項4】
前記関連情報は、各プロセスの実行における、ジョブ、タスク、プロセッサ、またはノードについて設定される環境変数を含む、
請求項1に記載の性能情報収集プログラム。
【請求項5】
前記関連情報は、各プロセスの実行において使用可能なメモリアドレスについての情報を含む、
請求項1に記載の性能情報収集プログラム。
【請求項6】
前記関連情報は、各プロセス中において複数の命令を実行するために使用される実行アドレスの使用回数についての情報を含む、
請求項1に記載の性能情報収集プログラム。
【請求項7】
性能分析の対象である情報処理装置において実行される複数のプロセスのそれぞれに関連する関連情報の値を取得し、
前記複数のプロセスのそれぞれについて取得された前記関連情報の値をそれぞれ、ハッシュ関数に入力することによって前記複数のプロセスのそれぞれについてハッシュ値を算出し、
前記複数のプロセスに含まれる第1のプロセスと第2のプロセスとにおいてそれぞれ算出された前記ハッシュ値が一致する場合には、前記第1のプロセスの実行状態において計測された第1の性能情報と少なくとも一部が異なる第2の性能情報を前記第2のプロセスの実行状態において計測する、
処理をコンピュータが実行する、性能情報収集方法。
【請求項8】
性能分析の対象である情報処理装置において実行される複数のプロセスのそれぞれに関連する関連情報の値を取得し、
前記複数のプロセスのそれぞれについて取得された前記関連情報の値をそれぞれ、ハッシュ関数に入力することによって前記複数のプロセスのそれぞれについてハッシュ値を算出し、
前記複数のプロセスに含まれる第1のプロセスと第2のプロセスとにおいてそれぞれ算出された前記ハッシュ値が一致する場合には、前記第1のプロセスの実行状態において計測された第1の性能情報と少なくとも一部が異なる第2の性能情報を前記第2のプロセスの実行状態において計測する、
プロセッサを有する、情報処理装置。
発明の詳細な説明
【技術分野】
【0001】
本発明は、性能情報収集プログラム、性能情報収集方法、及び情報処理装置に関する。
続きを表示(約 2,300 文字)
【背景技術】
【0002】
情報処理装置から取得した性能情報(パフォーマンス情報)に基づいて性能低下原因等を発見するシステム性能分析が知られている。保存される性能情報のデータ量増加によるデータベースへの圧迫を抑制するために、一定期間ごとに性能情報とモデルデータとの間の相関係数を算出し、相関係数が閾値より高い性能情報については性能情報の保存を省略する技術が知られている。
【先行技術文献】
【特許文献】
【0003】
特開2004-104154号公報
【発明の概要】
【発明が解決しようとする課題】
【0004】
計測すべき性能情報の種類数の増加に伴って、性能分析の対象となる情報処理装置が性能情報を計測する負担及び性能情報を分析装置に送信する負担が増大する。
【0005】
1つの側面では、本発明は、対象の情報処理装置が性能情報を計測及び送信する負担を軽減することを目的の1つとする。
【課題を解決するための手段】
【0006】
1つの側面では、性能情報収集プログラムは、コンピュータに以下の処理を実行させる。処理は、性能分析の対象である情報処理装置において実行される複数のプロセスのそれぞれに関連する関連情報の値を取得する。処理は、前記複数のプロセスのそれぞれについて取得された前記関連情報の値をそれぞれ、ハッシュ関数に入力することによって前記複数のプロセスのそれぞれについてハッシュ値を算出する。処理は、複数のプロセス4に含まれる第1のプロセスと第2のプロセスとにおいてそれぞれ算出されたハッシュ値が一致するか判断する。処理は、それぞれ算出されたハッシュ値が一致する場合には、前記第1のプロセスの実行状態において計測された第1の性能情報と少なくとも一部が異なる第2の性能情報を第2のプロセスの実行状態において計測する。
【発明の効果】
【0007】
1つの側面では、本発明は、性能分析の対象の情報処理装置が性能情報を計測及び送信する負担を軽減することができる。
【図面の簡単な説明】
【0008】
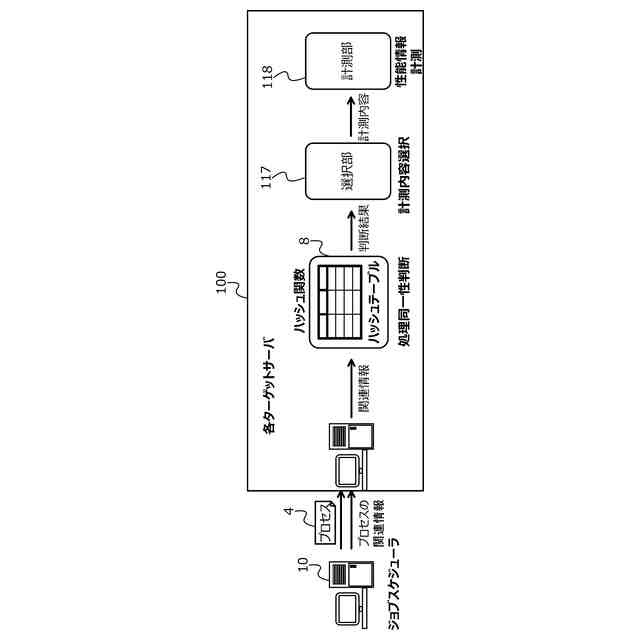
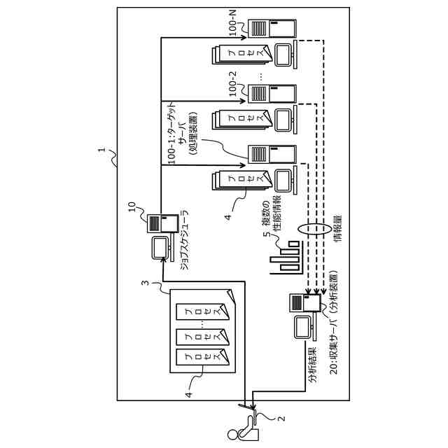
一実施形態に係るシステムの構成例を示す図である。
一実施形態に係るターゲットサーバを実現するコンピュータのハードウェア(HW)構成例を示すブロック図である。
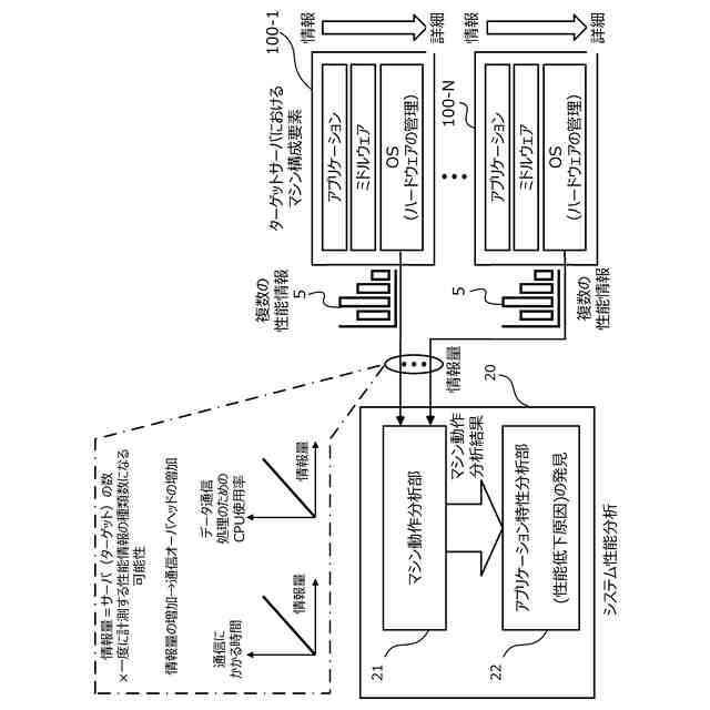
図1に示すシステムにおけるシステム性能分析について説明する図である。
第1比較例におけるターゲットサーバにおけるカウンタ数と性能情報の種類数との関係を示す図である。
一実施形態に係る複数の性能情報と性能情報セットとの関係の一例を示す図である。
一実施形態に係るターゲットサーバによる性能情報収集処理の一例を示す図である。
第2比較例のプロセス同一性判断における態様を示す図である。
一実施形態に係るターゲットサーバの機能構成例を示すブロック図である。
一実施形態に係るターゲットサーバによるプロセス同一性判断処理の一例を示す図である。
プロセス同一性の判断結果の一例を示す図である。
複数の関連情報のそれぞれに対して優先度を定める優先度テーブル60の一例である。
一実施形態に係るターゲットサーバによる性能情報の計測処理の一例を示す図である。
関連情報として環境変数を用いる第1例について示す図である。
第1例の場合におけるハッシュ値の算出結果について示す図である。
関連情報としてメモリマップ情報を用いる第2例について示す図である。
第2例の場合におけるハッシュ値の算出結果について示す図である。
関連情報の値として実行アドレスの使用回数を用いる第3例について示す図である。
関連情報の値として実行アドレスの使用回数を用いる第3例について示す図である。
第3例の場合におけるハッシュ値の算出結果について示す図である。
一実施形態に係るターゲットサーバによる性能情報収集処理の動作例を示すフローチャートである。
一実施形態に係るターゲットサーバによるプロセス同一性判断処理の動作例を示すフローチャートである。
一実施形態に係るターゲットサーバによる関連情報の格納及びハッシュ値の比較処理の動作例を示すフローチャートである。
一実施形態に係るターゲットサーバによる性能情報選択及び計測処理の動作例を示すフローチャートである。
【発明を実施するための形態】
【0009】
以下、図面を参照して本発明の実施形態が説明される。ただし、以下に説明する実施形態は、あくまでも例示であり、以下に明示しない種々の変形または技術の適用を排除する意図はない。例えば、本実施形態を、その趣旨を逸脱しない範囲で種々変形して実施することができる。なお、以下の説明で用いる図面において、同一符号を付した部分は、特に断らない限り、同一若しくは同様の部分を表す。
【0010】
[A]システムの一例の説明
図1は、一実施形態に係るシステム1の構成例を示す図である。本実施形態のシステム1は、後述するように、実行される各プロセス4に関連する関連情報の値をハッシュ関数に入力することによって得られるハッシュ値の衝突状態(すなわち、同一性)に基づいて、プロセス間の同一性を判断する。以下、処理内容が説明される。
(【0011】以降は省略されています)
この特許をJ-PlatPat(特許庁公式サイト)で参照する
関連特許
富士通株式会社
プログラム及びデータ処理装置
9日前
富士通株式会社
情報処理装置及び情報処理方法
1日前
富士通株式会社
不正検知プログラム、方法、及び装置
1日前
富士通株式会社
通知プログラム、通知方法および通知装置
14日前
富士通株式会社
コンパイルプログラムおよびコンパイル方法
9日前
富士通株式会社
半導体装置、半導体装置の製造方法及び電子装置
7日前
富士通株式会社
情報処理プログラム、情報処理方法及び情報処理装置
14日前
富士通株式会社
情報処理プログラム、情報処理方法、および情報処理装置
1日前
富士通株式会社
情報処理プログラム、情報処理方法、および情報処理装置
2日前
富士通株式会社
画像処理装置、画像処理方法及びコンピュータプログラム
9日前
富士通株式会社
性能情報収集プログラム、性能情報収集方法、及び情報処理装置
7日前
富士通株式会社
量子計算制御プログラム、量子計算制御方法、および情報処理装置
1日前
富士通株式会社
量子計算制御プログラム、量子計算制御方法、および情報処理装置
1日前
富士通株式会社
量子計算支援プログラム、量子計算支援方法、および情報処理装置
1日前
富士通株式会社
疑似乱数生成装置、疑似乱数生成プログラム、及び疑似乱数生成方法
1日前
富士通株式会社
スケジューリングプログラム,情報処理装置およびスケジューリング方法
14日前
富士通株式会社
オンライン予測モデルによる使用のためにエンコーダニューラルネットワークを訓練する、コンピュータにより実施される方法、データ処理装置、及びコンピュータプログラム
9日前
個人
詐欺保険
1か月前
個人
縁伊達ポイン
1か月前
個人
RFタグシート
25日前
個人
5掛けポイント
14日前
個人
職業自動販売機
7日前
個人
ペルソナ認証方式
22日前
個人
QRコードの彩色
1か月前
個人
情報処理装置
17日前
個人
自動調理装置
24日前
個人
農作物用途分配システム
1か月前
個人
残土処理システム
1か月前
個人
インターネットの利用構造
21日前
個人
タッチパネル操作指代替具
1か月前
個人
知的財産出願支援システム
1か月前
個人
サービス情報提供システム
9日前
個人
スケジュール調整プログラム
1か月前
個人
携帯端末障害問合せシステム
1か月前
個人
エリアガイドナビAIシステム
22日前
キヤノン株式会社
画像認識装置
1日前
続きを見る
他の特許を見る