TOP
|
特許
|
意匠
|
商標
特許ウォッチ
Twitter
他の特許を見る
公開番号
2025167787
公報種別
公開特許公報(A)
公開日
2025-11-07
出願番号
2024072698
出願日
2024-04-26
発明の名称
スケジューリングプログラム,情報処理装置およびスケジューリング方法
出願人
富士通株式会社
代理人
弁理士法人真田特許事務所
,
個人
主分類
G06F
9/50 20060101AFI20251030BHJP(計算;計数)
要約
【課題】プロセスに効率的に計算リソースを割り当てることができるようにする。
【解決手段】プロセスの実行を第1の計算リソース10bの割り当て状態の管理の対象に登録し、プロセスから第1の計算リソース10bの割り当てを要求する通知が出力されると、プロセスに割り当て可能な第1の計算リソース10bがあるか否かを判断し、割り当て可能な第1の計算リソース10bがある場合にはプロセスを第1の計算リソース10bへ割り当て、割り当て可能な第1の計算リソース10bがない場合にはプロセスを第2の計算リソースへ割り当てる。
【選択図】図5
特許請求の範囲
【請求項1】
第1の計算リソースと、前記第1の計算リソースよりも処理性能が低い第2の計算リソースとを有するコンピュータにおいて、
プロセスを起動し、
前記第1の計算リソースの割り当て状態を管理する、
処理を前記コンピュータに実行させ、
前記起動する処理において、前記プロセスの実行を前記第1の計算リソースの割り当て状態の管理の対象に登録し、
前記プロセスから前記第1の計算リソースの割り当てを要求する通知が出力されると、前記プロセスに割り当て可能な前記第1の計算リソースがあるか否かを判断し、
割り当て可能な前記第1の計算リソースがある場合には前記プロセスを前記第1の計算リソースへ割り当て、
割り当て可能な前記第1の計算リソースがない場合には前記プロセスを前記第2の計算リソースへ割り当てる
処理を前記コンピュータに実行させることを特徴とするスケジューリングプログラム。
続きを表示(約 2,500 文字)
【請求項2】
前記割り当て状態を管理する処理が、
前記プロセスへの計算リソースの割り当て変更要求を行なう通信を行なう
処理を含むことを特徴とする請求項1に記載のスケジューリングプログラム。
【請求項3】
前記プロセスが、割り当てられた前記第1の計算リソースもしくは前記第2の計算リソースの利用後に、計算リソース解放の通知を出力する
ことを特徴とする、請求項1または2に記載のスケジューリングプログラム。
【請求項4】
第1の計算リソースと、前記第1の計算リソースよりも処理性能が低い第2の計算リソースとを有するコンピュータにおいて、
プロセスを起動し、
前記第1の計算リソースの割り当て状態を管理する、
処理を前記コンピュータに実行させ、
前記起動する処理において、前記プロセスにおいて特定処理が行なわれると通知出力を行なわせ、
前記割り当て状態を管理する処理において、前記プロセスにおいて前記通知出力が行なわれると、前記プロセスに割り当て可能な前記第1の計算リソースがあるか否かを判断し、
割り当て可能な前記第1の計算リソースがある場合には前記プロセスを前記第1の計算リソースへ割り当て、
割り当て可能な前記第1の計算リソースがない場合には前記プロセスを前記第2の計算リソースへ割り当てる
処理を前記コンピュータに実行させることを特徴とするスケジューリングプログラム。
【請求項5】
前記割り当て状態を管理する処理が、
前記プロセスへの計算リソースの割り当て変更要求を行なう通信を行う
処理を含むことを特徴とする請求項4に記載のスケジューリングプログラム。
【請求項6】
前記プロセスが、割り当てられた前記第1の計算リソースもしくは前記第2の計算リソースの利用後に、計算リソースの解放を通知する
ことを特徴とする、請求項4または5に記載のスケジューリングプログラム。
【請求項7】
第1の計算リソースと、前記第1の計算リソースよりも処理性能が低い第2の計算リソースとを有する情報処理装置であって、
プロセスを起動し、
前記第1の計算リソースの割り当て状態を管理する、
処理を前記情報処理装置に実行させ、
前記起動する処において、前記プロセスの実行を前記第1の計算リソースの割り当て状態の管理の対象に登録し、
前記プロセスから前記第1の計算リソースの割り当てを要求する通知が出力されると、前記プロセスに割り当て可能な前記第1の計算リソースがあるか否かを判断し、
割り当て可能な前記第1の計算リソースがある場合には前記プロセスを前記第1の計算リソースへ割り当て、
割り当て可能な前記第1の計算リソースがない場合には前記プロセスを前記第2の計算リソースへ割り当てる
処理を実行する制御部を有することを特徴とする情報処理装置。
【請求項8】
第1の計算リソースと、前記第1の計算リソースよりも処理性能が低い第2の計算リソースとを有する情報処理装置であって、
プロセスを起動し、
前記第1の計算リソースの割り当て状態を管理する、
処理を前記情報処理装置に実行させ、
前記起動する処理において、前記プロセスにおいて特定処理が行なわれると通知出力を行なわせ、
前記割り当て状態を管理する処理において、前記プロセスにおいて前記通知出力が行なわれると、前記プロセスに割り当て可能な前記第1の計算リソースがあるか否かを判断し、
割り当て可能な前記第1の計算リソースがある場合には前記プロセスを前記第1の計算リソースへ割り当て、
割り当て可能な前記第1の計算リソースがない場合には前記プロセスを前記第2の計算リソースへ割り当てる
処理を実行する制御部を有することを特徴とする情報処理装置。
【請求項9】
第1の計算リソースと、前記第1の計算リソースよりも処理性能が低い第2の計算リソースとを有するコンピュータにおいて、
プロセスを起動し、
前記第1の計算リソースの割り当て状態を管理する、
処理を前記コンピュータに実行させ、
前記起動する処理において、前記プロセスの実行を前記第1の計算リソースの割り当て状態の管理の対象に登録し、
前記プロセスから前記第1の計算リソースの割り当てを要求する通知が出力されると、前記プロセスに割り当て可能な前記第1の計算リソースがあるか否かを判断し、
割り当て可能な前記第1の計算リソースがある場合には前記プロセスを前記第1の計算リソースへ割り当て、
割り当て可能な前記第1の計算リソースがない場合には前記プロセスを前記第2の計算リソースへ割り当てる
処理を前記コンピュータが実行することを特徴とするスケジューリング方法。
【請求項10】
第1の計算リソースと、前記第1の計算リソースよりも処理性能が低い第2の計算リソースとを有するコンピュータにおいて、
プロセスを起動し、
前記第1の計算リソースの割り当て状態を管理する、
処理を前記コンピュータに実行させ、
前記起動する処理において、前記プロセスにおいて特定処理が行なわれると通知出力を行なわせ、
前記割り当て状態を管理する処理において、前記プロセスにおいて前記通知出力が行なわれると、前記プロセスに割り当て可能な前記第1の計算リソースがあるか否かを判断し、
割り当て可能な前記第1の計算リソースがある場合には前記プロセスを前記第1の計算リソースへ割り当て、
割り当て可能な前記第1の計算リソースがない場合には前記プロセスを前記第2の計算リソースへ割り当てる
処理を前記コンピュータが実行することを特徴とするスケジューリング方法。
発明の詳細な説明
【技術分野】
【0001】
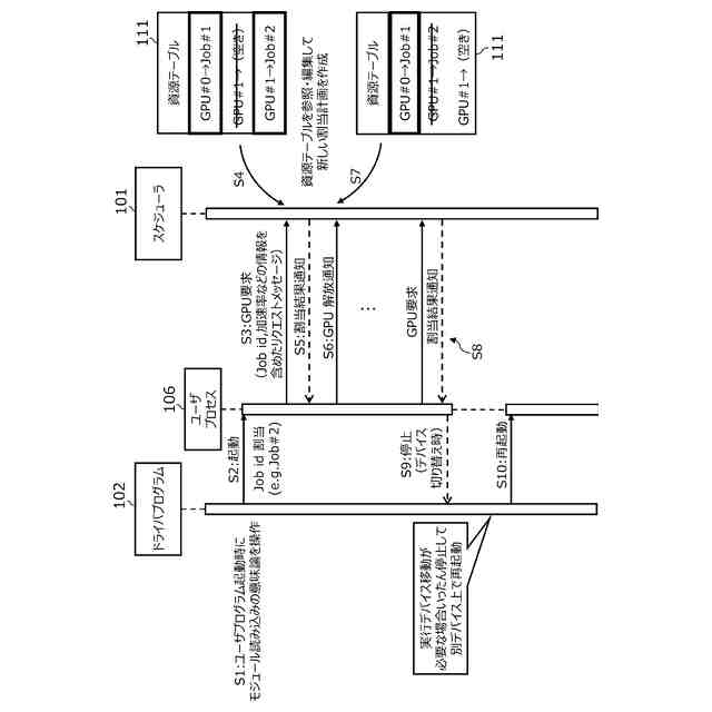
本発明は、スケジューリングプログラム,情報処理装置およびスケジューリング方法に関する。
続きを表示(約 1,500 文字)
【背景技術】
【0002】
深層学習アプリケーション(以下、深層学習アプリという)の実行に、CPU(Central Processing Unit)に代えてGPU(Graphics Processing Unit)を用いることで、処理性能が向上することが知られている(例えば、特許文献1)。
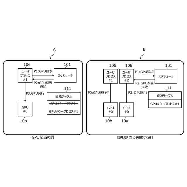
【0003】
GPUはCPUに比べて単価が高いため、少ない台数のGPUを複数のプロセス間でうまく共有して使うことが重要である。
【0004】
Slurm等の既知のジョブスケジューラにおいては、GPUをプロセス実行開始から終了まで占有させ続けるため、GPU数を超えるジョブを同時に実行させることはできない。GPUを確保できないジョブはジョブキューに投入され、GPUを利用中のプロセスが完全に終了するまで待機することとなる。
【0005】
また、GPUを効率的に利用する手法として、GPUプリエンプションが知られている。GPUプリエンプションにおいては、GPU利用中のジョブを外部から停止させ、他のジョブにGPUの利用権を移譲することを可能とする。このようなGPUプリエンプションを定期的に行なうことで、時間単位でGPU利用プロセスを切り替えることができ、後続するジョブが、先行ジョブが完全に停止するまで待たずにGPUを利用することができる。
【先行技術文献】
【特許文献】
【0006】
特表2022-515302号公報
国際公開第2022/269870号
特開2019-57303号公報
【発明の概要】
【発明が解決しようとする課題】
【0007】
しかしながら、GPUプリエンプションにおいては、プロセスの実行中にGPUを利用していない期間があっても、GPUを占有し続けてしまう。このようなGPUの占有を抑制するためには、深層学習アプリの処理内容の時間変化に合わせてGPU割当を切り替える必要がある。
【0008】
しかし、GPUプリエンプションにおいては、プロセスの実行中にGPUを利用しているかどうかを特定することは困難である。例えば、アプリケーションからGPUの利用タイミングを外部に通知できるようにするためには、アプリケーションのコードを書き換える変更等が必要である。
【0009】
1つの側面では、本発明は、プロセスに効率的にGPUを割り当てることができるようにすることを目的とする。
【課題を解決するための手段】
【0010】
このため、このスケジューリングプログラムは、第1の計算リソースと、前記第1の計算リソースよりも処理性能が低い第2の計算リソースとを有するコンピュータにおいて、プロセスを起動し、前記第1の計算リソースの割り当て状態を管理する、処理を前記コンピュータに実行させ、前記起動する処理において、前記プロセスの実行を前記第1の計算リソースの割り当て状態の管理の対象に登録し、前記プロセスから前記第1の計算リソースの割り当てを要求する通知が出力されると、前記プロセスに割り当て可能な前記第1の計算リソースがあるか否かを判断し、割り当て可能な前記第1の計算リソースがある場合には前記プロセスを前記第1の計算リソースへ割り当て、割り当て可能な前記第1の計算リソースがない場合には前記プロセスを前記第2の計算リソースへ割り当てる処理を前記コンピュータに実行させる。
【発明の効果】
(【0011】以降は省略されています)
この特許をJ-PlatPat(特許庁公式サイト)で参照する
関連特許
富士通株式会社
半導体装置
1か月前
富士通株式会社
半導体デバイス
1か月前
富士通株式会社
画像処理モデル
28日前
富士通株式会社
メッシュ微細化
1か月前
富士通株式会社
演算器及び演算方法
1か月前
富士通株式会社
ポイントクラウド分類
1か月前
富士通株式会社
OLT及びPONシステム
12日前
富士通株式会社
電子機器筐体及び電子機器
1か月前
富士通株式会社
光送信器及び光トランシーバ
1か月前
富士通株式会社
プログラム及びデータ処理装置
6日前
富士通株式会社
演算処理装置及び情報処理装置
22日前
富士通株式会社
波長変換装置および波長変換方法
25日前
富士通株式会社
テキスト案内される画像エディタ
1か月前
富士通株式会社
ラックマウント装置及びラック装置
25日前
富士通株式会社
メモリ管理装置及びメモリ管理方法
1か月前
富士通株式会社
通知プログラム、通知方法および通知装置
11日前
富士通株式会社
受光デバイス及び受光デバイスの製造方法
11日前
富士通株式会社
コンパイルプログラムおよびコンパイル方法
6日前
富士通株式会社
生成プログラム、生成方法および情報処理装置
1か月前
富士通株式会社
検出プログラム、検出方法および情報処理装置
25日前
富士通株式会社
ターゲット追跡のための方法、装置及び記憶媒体
22日前
富士通株式会社
半導体装置、半導体装置の製造方法及び電子装置
20日前
富士通株式会社
半導体装置、半導体装置の製造方法及び電子装置
4日前
富士通株式会社
出張情報受付方法および出張情報受付プログラム
1か月前
富士通株式会社
キャッシュ装置およびキャッシュ装置の制御方法
1か月前
富士通株式会社
プログラム、データ処理装置及びデータ処理方法
1か月前
富士通株式会社
探索プログラム、探索方法、および情報処理装置
1か月前
富士通株式会社
データ処理装置、データ処理方法およびプログラム
19日前
富士通株式会社
並列コンピューティング・カテゴリー分けプロセス
1か月前
富士通株式会社
プログラム、データ処理方法およびデータ処理装置
1か月前
富士通株式会社
情報出力プログラム、情報出力方法及び情報処理装置
1か月前
富士通株式会社
凝縮グラフ分布(CGD)に基づいたグラフ連続学習
1か月前
富士通株式会社
チェックプログラム、チェック方法及び情報処理装置
1か月前
富士通株式会社
光ネットワーク管理装置及び光ネットワーク管理方法
1か月前
富士通株式会社
情報出力プログラム、情報出力方法及び情報処理装置
26日前
富士通株式会社
情報処理プログラム、情報処理方法及び情報処理装置
11日前
続きを見る
他の特許を見る